Porsche работает над гибридной КПП: механика и автомат в одном рычаге
Немецкий автопроизводитель Porsche разработал концепцию нового селектора коробки передач, работающего в механическом и автоматическом режимах. Патент был зарегистрирован в августе 2024 года, однако его детали стали известны только в марте.
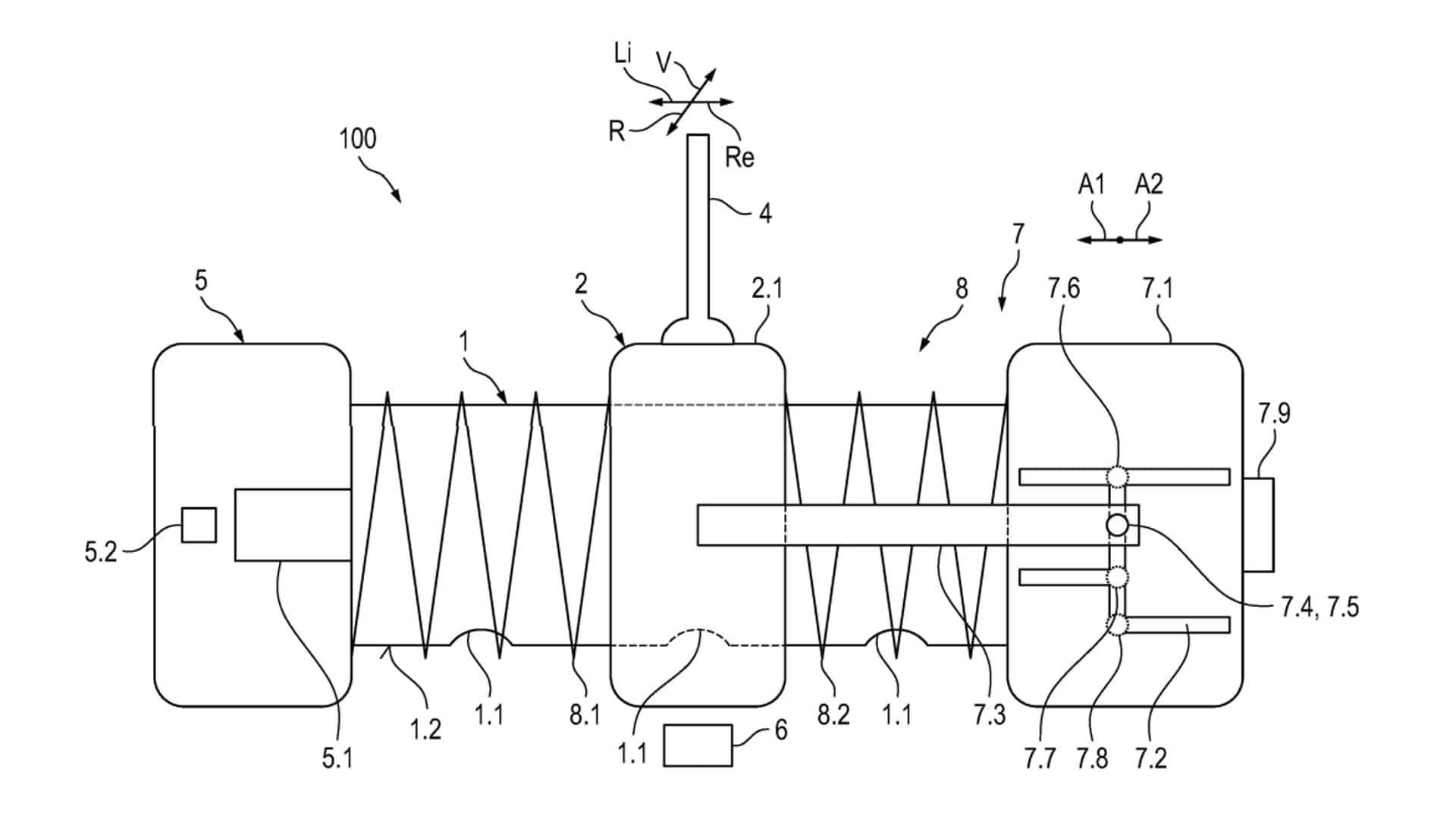
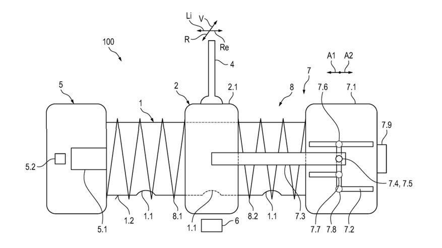
Система представляет собой электронный рычаг переключения (shift-by-wire), который в стандартном режиме функционирует как классический «автомат»: водитель перемещает селектор вперёд и назад, переключаясь между режимами движения, нейтрали и заднего хода. При этом предусмотрен альтернативный режим с H-образной схемой, характерной для механических коробок передач. В таком варианте водитель может перемещать рычаг не только вперёд и назад, но и в стороны, выбирая передачи вручную — практически как в традиционной «механике».
Работу системы обеспечивают датчики, фиксирующие движения рычага, а также пружины и электромоторы, которые создают тактильную отдачу, имитируя реальные переключения передач. Разработка потенциально может применяться в различных типах коробок передач: от классических гидротрансформаторных до современных роботизированных с двойным сцеплением.
Источник: Motor1





0 комментариев
Добавить комментарий