CFMoto разработала электрический спортбайк с рамой из алюминиевых пластин
Китайский производитель мотоциклов CFMoto работает над созданием полностью электрического спортивного мотоцикла, что подтверждается недавно опубликованными патентными изображениями. Несмотря на визуальное сходство с существующими моделями бренда, новая разработка представляет собой принципиально иную конструкцию.
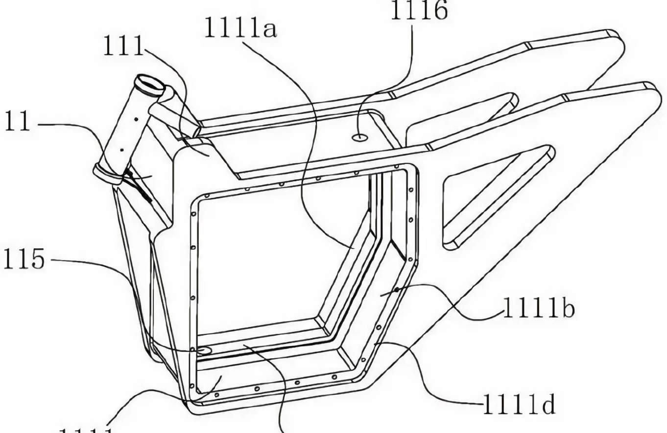
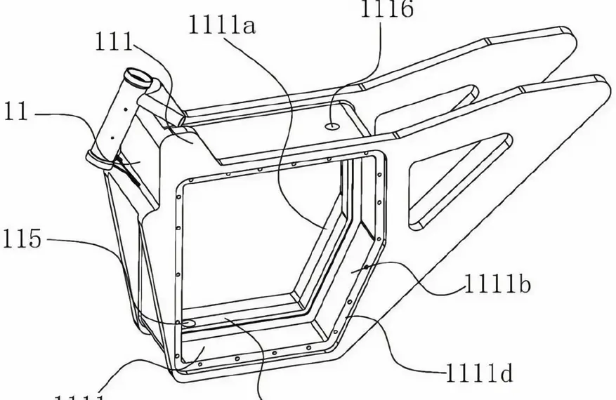
Ключевой особенностью мотоцикла является инновационная рама, состоящая из двух крупных алюминиевых пластин, которые охватывают аккумуляторный отсек с обеих сторон. Эти пластины служат основой для крепления передней вилки, двигателя, аккумулятора и маятника, а также выполняют функцию подрамника.
В отличие от большинства современных электромотоциклов, где используются либо традиционные рамы, напоминающие бензиновые аналоги, либо конструкции с аккумулятором в качестве несущего элемента, решение CFMoto позволяет значительно упростить замену аккумулятора. Батарея может быть извлечена через боковое отверстие без необходимости демонтажа рамы или всего мотоцикла.
Инженеры CFMoto также применили нестандартный подход к размещению электродвигателя, расположив его за поворотным рычагом и интегрировав в его конструкцию. Это техническое решение освобождает дополнительное пространство для аккумулятора, что потенциально увеличивает запас хода и скорость зарядки.
Алюминиевые пластины рамы также выполняют функцию теплоотвода, что критически важно для поддержания оптимальной температуры аккумулятора. Эффективное охлаждение позволяет сохранять высокую производительность батареи во время интенсивной эксплуатации.
Увеличенное пространство внутри конструкции открывает возможности для интеграции дополнительных систем, включая потенциально более мощные зарядные устройства, что может устранить одно из главных препятствий для широкого распространения электрических мотоциклов.
Источник: Visordown





0 комментариев
Добавить комментарий