Intel подала заявку на патент «дезагрегированного графического процессора»
Сообщается, что Intel изучает возможность внедрения дезагрегированных (отдельных и не сопоставляющихся) архитектур графических процессоров, так как компания подала патент, касающийся применения специализированных в этой области «чиплетов».
Переход от монолитных систем к небольшим дезагрегированным чиплетам представляет собой амбициозную цель, которую энтузиасты видят в будущем на рынке. Новый патент Intel вселяет надежду на то, что компания примет дезагрегированные конструкции GPU, хотя точные сроки реализации остаются неясными.
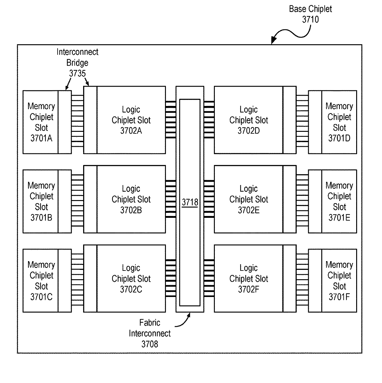
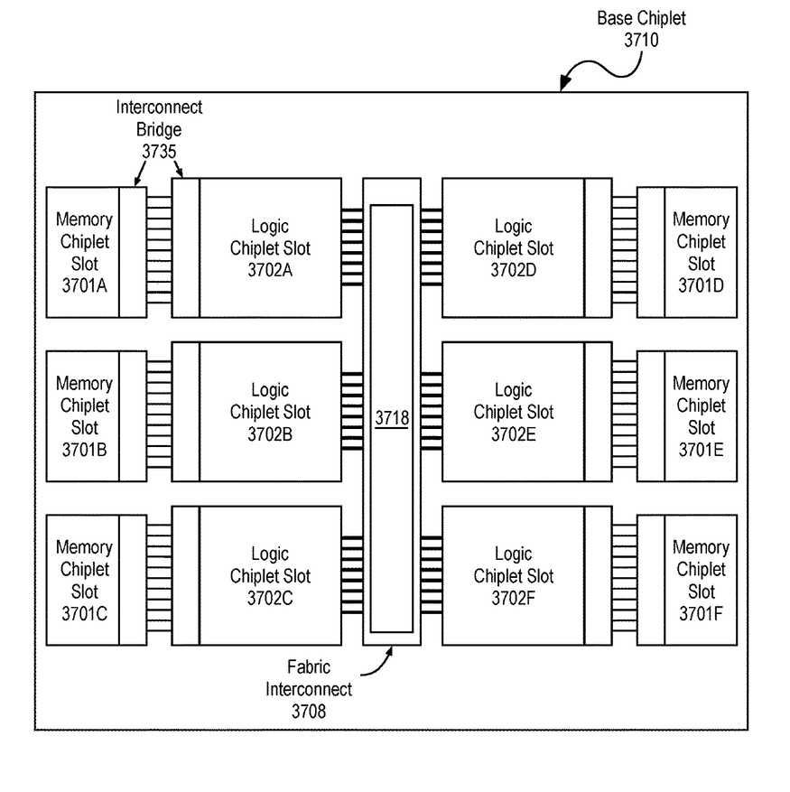
Согласно патентной заявке, Intel рассматривает применение дезагрегированных логических микросхем для графических задач, что может привести к их появлению на рынке. Дезагрегированные архитектуры GPU представляют собой инновационный метод проектирования, заменяющий монолитные конфигурации на более мелкие, специализированные чиплеты, которые соединяются с помощью специальных технологий. Это позволяет настраивать каждый чиплет под конкретные задачи, такие как обработка данных или работа с функциями искусственного интеллекта.
Кроме того, дезагрегированные архитектуры могут быть более энергоэффективными, позволяя отключать неиспользуемые чиплеты для экономии энергии. Хотя конкурентный рынок между Intel и AMD, с их патентами на чиплеты, обнажает перспективы, реальная реализация таких графических процессоров остается сложной задачей.
Источник: wccftech





0 комментариев
Добавить комментарий