Motorola была одной из первых компаний, выпустивших складной смартфон, однако после Moto Razr и версии с поддержкой 5G компания так и не анонсировала новые сгибающиеся устройства.
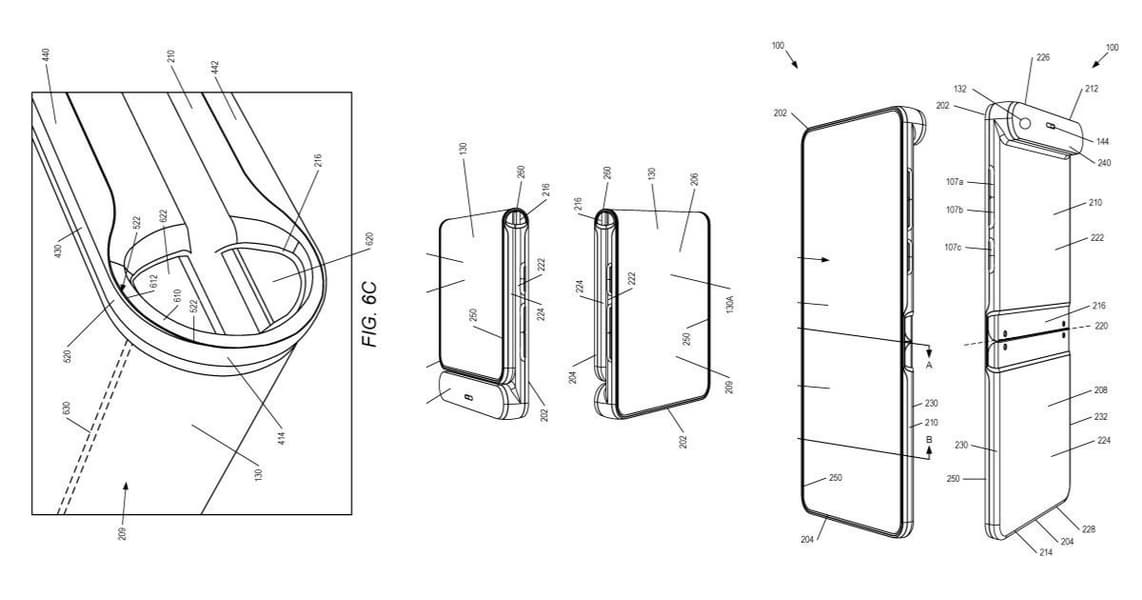
Всемирная организация интеллектуальной собственности подтвердила, что Motorola получила патент на ещё один складной телефон, который по размеру похож на Moto Razr, однако он складывается экраном наружу, при этом дисплей огибает корпус. В сложенном состоянии вы получаете устройство с двумя экранами.
Патент показывает, что в верхней части телефона оставлен небольшой островок для установки камеры, а это означает, что нижняя часть корпуса будет короче. Новое устройство вполне можно назвать гибридом Moto Razr и Royole Flexpai, который стал первым коммерческим складным устройством.
Запатентованный шарнир будет совершенно новым решением, которое должно свести к минимуму складки и позволить телефону складываться без каких-либо зазоров.
Конечно, у такой конструкции есть главный недостаток — незащищённость экрана в любом положении.

