Конференция
Блоги
Игры
Маркет
Про бизнес
Еще
Другие проекты
Конференция
Старейший и крупнейший в рунете форум о технике
Блоги
Впечатления о технике из первых рук на Блоги
Игры
Компьютерные игры и не только на Игры
Маркет
Скидки, купоны, тесты магазинов
ПроБизнес
Новости и обзоры решений для малого и среднего бизнеса
Мерч
IXBT
Войти
Новости
Статьи
Видеокарты и мониторы
Мобильные устройства
Ноутбуки и планшеты
Платформа ПК
Комфортный дом
Все темы
$refs.search?.focus())" aria-label="Очистить поиск" >
Статьи
Видеокарты и мониторы
iT-среда
Мобильные устройства
Ноутбуки и планшеты
Носители информации
Платформа ПК
Приложения и утилиты
Принтеры и периферия
Профессиональное аудио
Проекторы и ТВ
Сети и серверы
Hi-Fi и мультимедиа
Цифровое видео
Цифровое фото
Корпуса, БП и ИБП
Автомобили
Комфортный дом
Новости
Процессоры
Системные платы, память, чипсеты
Цифровое фото
Ноутбуки и планшеты
Мониторы
Техника Apple
Мобильные телефоны
Настольные ПК
Видеокарты
Корпуса, системы питания и охлаждения
Носители информации
Прочие новости
Принтеры и периферия
Сети и серверы
Авто и транспорт
Телевизоры и проекторы
Аудио и звук
Программное обеспечение
Комфортный дом
Цифровое видео
Законы и новости рынка
Криптовалюты
Наука и космос
Авиация
Электротранспорт
Носимая электроника
Консоли и игры
Информационная безопасность
Финансы
Искусственный интеллект
Новости
Сегодня
Лента
Процессоры
Системные платы, память, чипсеты
Цифровое фото
Ноутбуки и планшеты
Мониторы
Техника Apple
Мобильные телефоны
Настольные ПК
Видеокарты
Корпуса, системы питания и охлаж...
Носители информации
Прочие новости
Принтеры и периферия
Сети и серверы
Авто и транспорт
Телевизоры и проекторы
Аудио и звук
Программное обеспечение
Комфортный дом
Цифровое видео
Законы и новости рынка
Криптовалюты
Наука и космос
Авиация
Электротранспорт
Носимая электроника
Консоли и игры
Информационная безопасность
Финансы
Искусственный интеллект
Статьи
Свежие
Видеокарты и мониторы
iT-среда
Мобильные устройства
Ноутбуки и планшеты
Носители информации
Платформа ПК
Приложения и утилиты
Принтеры и периферия
Профессиональное аудио
Проекторы и ТВ
Сети и серверы
Hi-Fi и мультимедиа
Цифровое видео
Цифровое фото
Корпуса, БП и ИБП
Автомобили
Комфортный дом
Наши проекты
Конференция
Остальные проекты
Блоги
Игры
Маркет
ПроБизнес
Новости
17 марта 2021
Новости за дату
Список
Все категории
Загрузка...
Компания Canon выпускает комплекты, помогающие использовать её зеркальные и беззеркальные камеры в качестве веб-камер
Комплект для камер Canon EOS RP стоит 159 долларов, а комплекты для зеркальных камер и Canon EOS M — по 89 долларов
Цифровое фото
32
17 мар 2021 22:21
Основой монитора Samsung LS34A650 служит 34-дюймовая вогнутая панель VA
Ее разрешение — Ultra WQHD, или 3440 x 1440 пикселей
Мониторы
2
17 мар 2021 21:58
Представлен электросамокат Ninebot F25 с запасом хода 25 км и скоростью до 25 км/ч
Электросамокат Ninebot F25 оснащён 10-дюймовыми высокоэластичными шинами
Авто и транспорт
35
17 мар 2021 21:27
Kensington StudioDock превращает Apple iPad в настольный мини-ПК
Вариант StudioDock для планшета Apple iPad Pro с экраном размером 12,9 дюйма стоит 400 долларов
Техника Apple
Принтеры и периферия
9
17 мар 2021 20:54
Pixxel планирует сформировать группировку малых спутников для гиперспектральной съёмки земной поверхности с самым высоким разрешением
Первый гиперспектральный спутник Pixxel будет запущен в ближайшие несколько месяцев
Прочие новости
10
17 мар 2021 20:42
85 дюймов, сенсорный 4K-экран и поддержка смартфонов. Анонс Huawei IdeaHub
Дисплей можно установить на подставку или повесить на стену
Телевизоры и проекторы
12
17 мар 2021 20:28
YouTube тестирует инструмент, который проверяет видео на нарушение авторских прав во время загрузки
Система даёт пользователям возможность решать проблемы до того, как видео будет опубликовано
Прочие новости
9
17 мар 2021 19:56
SMIC инвестирует в производство в Шэньчжэне, оцениваемое в 2,35 млрд долларов
Выпуск продукции должен начаться в будущем году
Прочие новости
3
17 мар 2021 19:44
Представлен электромобиль BMW i4 с запасом хода 590 км
На рынке он должен появиться в текущем году
Авто и транспорт
72
17 мар 2021 19:30
Huawei выпустила «Белую книгу по инновациям и интеллектуальной собственности»
1
17 мар 2021 19:06
Представлен смартфон Samsung Galaxy A72 — это улучшенная версия Galaxy A52
Внешне Samsung Galaxy A72 похож на Samsung Galaxy A52, однако внутренних различий у этих смартфонов хватает
Мобильные телефоны
25
17 мар 2021 18:44
Первая специализированная карта Nvidia для майнинга замечена в продаже
Это модель CMP 30HX в исполнении Palit
Видеокарты
38
17 мар 2021 18:44
За Coherent дают уже 6,9 млрд долларов
Первое предложение Lumentum было равно 5,7 млрд долларов
Прочие новости
3
17 мар 2021 18:31
Представлены смартфоны Samsung Galaxy A52 и Galaxy A52 5G
В России Samsung Galaxy A52 поступает в продажу сегодня по цене от 26 990 рублей
Мобильные телефоны
60
17 мар 2021 18:28
Начались продажи открытого компьютерного корпуса Cooler Master MasterFrame 700
Его можно использовать как испытательный стенд
Корпуса, системы питания и охлаждения
9
17 мар 2021 17:59
SanDisk выпускает свой первый флеш-накопитель «2-в-1» для передачи данных между iPhone и устройствами с USB-C
Он предложен объёмом 64, 128 и 256 ГБ
Техника Apple
Носители информации
13
17 мар 2021 17:07
Планшет Apple iPad Pro с дисплеем mini-LED поступит в продажу не ранее апреля
Ранее считалось, что он появится в продаже в первом квартале текущего года
Техника Apple
Мобильные телефоны
4
17 мар 2021 16:59
Догнать Samsung и TSMC в технологиях полупроводникового производства можно
Для этого надо вкладывать 30 млрд долларов в год на протяжении пяти лет
Прочие новости
31
17 мар 2021 16:43
Realme отрицает мошенничество с результатами AnTuTu
Результаты тестирования флагмана Realme GT удалены из базы данных AnTuTu
Мобильные телефоны
4
17 мар 2021 15:31
AWS объявляет о доступности инстансов Amazon EC2 X2gd на процессорах Graviton2 собственной разработки
Процессоры AWS Graviton2 построены на архитектуре Arm
Сети и серверы
8
17 мар 2021 14:52
Samsung повышает цены на негибкие панели AMOLED
Представители отрасли полагают, что поставщики панелей могут продолжать повышать цены на свою продукцию и во втором полугодии
Мобильные телефоны
5
17 мар 2021 14:22
Компания Tesla предлагала правительству Великобритании повысить налоги на автомобили на ископаемом топливе
Tesla — единственный автопроизводитель, поддержавший запрет на продажу в Великобритании новых автомобилей с ДВС к 2030 году
Авто и транспорт
97
17 мар 2021 14:09
Эксперты Strategy Analytics назвали компанию, которая в этом году вытеснит Huawei из первой тройки производителей смартфонов
Они прогнозируют рост поставок смартфонов на 6,5% по сравнению с прошлым годом
Мобильные телефоны
7
17 мар 2021 13:37
Цифровая трансформация приведет к тому, что в 2026 году расходы на аналитику данных IIoT приблизятся к 20 млрд долларов
Пандемия выявила серьёзные недостатки в возможностях производителей, заставив их ускорить цифровую трансформацию
Прочие новости
2
17 мар 2021 13:25
В браузере Microsoft Edge появился детский режим
Функция доступна в бета-версии Microsoft Edge 90
Прочие новости
4
17 мар 2021 13:21
Представлена процессорная система охлаждения Noctua NH-U12S redux
Она стоит около 50 евро
Корпуса, системы питания и охлаждения
13
17 мар 2021 12:56
Почему на самом деле Samsung Galaxy Note21 не выпустят в этом году: компания раскрыла все карты
На этот смартфон просто не хватает комплектующих
Мобильные телефоны
15
17 мар 2021 12:52
Toyota готовится показать свой первый полностью электрический кроссовер
Его представят на Шанхайском международном автосалоне
Авто и транспорт
21
17 мар 2021 12:48
Новая почта Яндекса позволяет завести адрес с красивым доменом
Для адреса электронной почты можно выбрать не только yandex.ru
Прочие новости
23
17 мар 2021 12:40
Серия блоков питания FSP Twins Pro включает двухмодульные модели мощностью 500, 700 и 900 Вт
Эти блоки питания рассчитаны на установку в стандартные корпуса ATX или PS2
Корпуса, системы питания и охлаждения
15
17 мар 2021 12:24
Уже завтра у желающих купить PlayStation 5 будет хороший шанс. Amazon получит несколько десятков тысяч консолей
Вероятно, их при этом раскупят за минуты
Прочие новости
15
17 мар 2021 12:18
Первый смартфон Huawei с Harmony OS и огромным датчиком Sony IMX800 не завершит линейку P: компания уже запланировала Huawei P60, P70, P80, P90 и P100
Huawei довольно оптимистично смотрит в будущее
Мобильные телефоны
19
17 мар 2021 12:16
В Instagram взрослым запретили писать подросткам
Отправить личное сообщение можно будет только подписанному на вас подростку
Прочие новости
23
17 мар 2021 12:14
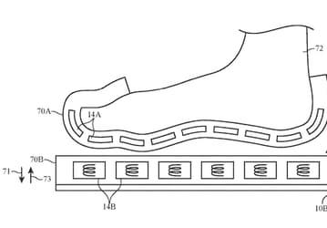
Apple может начать выпускать носки? Свежий патент компании описывает подобный продукт, как устройство тактильного вывода
Это может быть и другой элемент одежды
Прочие новости
8
17 мар 2021 12:06
Следом за Xiaomi другие китайские компании решили судиться с США
Победа Xiaomi над США вдохновила другие китайские компании
Прочие новости
4
17 мар 2021 12:00
Какими будут умные часы OnePlus Watch? Появились первые технические подробности
Размер, датчики и защита от воды
Прочие новости
0
17 мар 2021 11:47
Слух: Samsung Galaxy Z Fold3 может получить защиту от влаги. Но речь не идёт о полноценной защите от воды
Вероятно, это будет какое-то водоотталкивающее покрытие
Прочие новости
1
17 мар 2021 11:29
М.Видео запустил «ликвидацию» со странными скидками
Распродажа продлится вплоть до 12 апреля
Прочие новости
35
17 мар 2021 11:28
Вопросов по конструкции первого гибкого Xiaomi Mi Mix не осталось: появились новые фото смартфона
Утечка указывает на скорый анонс
Мобильные телефоны
8
17 мар 2021 11:19
Представлен объектив Sony EF 50mm F1.2 GM
Он должен появиться в продаже в апреле по цене 2300 евро
Цифровое фото
14
17 мар 2021 11:09
К сверхдорогим видеокартам и консолям 2021 год добавит ещё и подорожавшую флеш-память NAND и SSD
Правда, до этого память успела подешеветь
Прочие новости
2
17 мар 2021 11:06
Представлены доступные телевизоры Redmi с 4K, Dolby Vision и Android TV 10
Redmi Smart TV X построены на той же четырёхъядерной платформе MediaTek MT9611, что и новый Mi QLED TV
Телевизоры и проекторы
23
17 мар 2021 11:01
Технология тактильной отдачи контроллера DualSense для PlayStation 5 была хорошо принята рынком
Об этом рассказал глава компании, разработавшей эту технологию
Прочие новости
3
17 мар 2021 10:54
Названа дата анонса камеры Sigma fp L
Эта беззеркальная камера будет рассчитана на объективы с креплением L
Цифровое фото
5
17 мар 2021 10:46
Изменившие iPhone пользователи переходят на Android по трём основным причинам
Половина владельцев iPhone, которые хотят перейти на Android, выбирают Samsung
Мобильные телефоны
108
17 мар 2021 10:38
Мобильная Nvidia GeForce RTX 3050 Ti получила 2560 ядер CUDA и 4 ГБ памяти, а её производительность на уровне GeForce RTX 2060
Ноутбуки с мобильной GeForce RTX 3050 Ti — уже скоро
Видеокарты
22
17 мар 2021 10:36
Видеокарта Intel уровня GeForce RTX 3060 Ti. Геймерская карта DG2 засветилась в Сети вместе с 16-ядерным процессором Intel
Результаты теста пока оценивать бессмысленно
Видеокарты
26
17 мар 2021 10:34
Три новых процессора AMD технически нам очень хорошо знакомы. Компания представила линейку Ryzen Pro 5000
Для корпоративного сегмента
Процессоры
4
17 мар 2021 10:25
Целая россыпь новинок Xiaomi: гибкий смартфон, Xiaomi Mi 11 Pro, игровой телефон, самый тонкий и самый дешёвый 5G-смартфоны на подходе
Все они выйдут в марте-апреле
Мобильные телефоны
4
17 мар 2021 10:24
Мышь Cherry MW 4500 Left предназначена для левшей
Она уже продаётся по рекомендованной розничной цене 37 долларов
Принтеры и периферия
1
17 мар 2021 10:08
Показано с
1
по
50
из
68
результатов
1
2
Раньше
2021-03-17
Позже
Видео