Конференция
Блоги
Игры
Маркет
Про бизнес
Еще
Другие проекты
Конференция
Старейший и крупнейший в рунете форум о технике
Блоги
Впечатления о технике из первых рук на Блоги
Игры
Компьютерные игры и не только на Игры
Маркет
Скидки, купоны, тесты магазинов
ПроБизнес
Новости и обзоры решений для малого и среднего бизнеса
Мерч
IXBT
Войти
Новости
Статьи
Видеокарты и мониторы
Мобильные устройства
Ноутбуки и планшеты
Платформа ПК
Комфортный дом
Все темы
$refs.search?.focus())" aria-label="Очистить поиск" >
Статьи
Видеокарты и мониторы
iT-среда
Мобильные устройства
Ноутбуки и планшеты
Носители информации
Платформа ПК
Приложения и утилиты
Принтеры и периферия
Профессиональное аудио
Проекторы и ТВ
Сети и серверы
Hi-Fi и мультимедиа
Цифровое видео
Цифровое фото
Корпуса, БП и ИБП
Автомобили
Комфортный дом
Новости
Процессоры
Системные платы, память, чипсеты
Цифровое фото
Ноутбуки и планшеты
Мониторы
Техника Apple
Мобильные телефоны
Настольные ПК
Видеокарты
Корпуса, системы питания и охлаждения
Носители информации
Прочие новости
Принтеры и периферия
Сети и серверы
Авто и транспорт
Телевизоры и проекторы
Аудио и звук
Программное обеспечение
Комфортный дом
Цифровое видео
Законы и новости рынка
Криптовалюты
Наука и космос
Авиация
Электротранспорт
Носимая электроника
Консоли и игры
Информационная безопасность
Финансы
Искусственный интеллект
Новости
Сегодня
Лента
Процессоры
Системные платы, память, чипсеты
Цифровое фото
Ноутбуки и планшеты
Мониторы
Техника Apple
Мобильные телефоны
Настольные ПК
Видеокарты
Корпуса, системы питания и охлаж...
Носители информации
Прочие новости
Принтеры и периферия
Сети и серверы
Авто и транспорт
Телевизоры и проекторы
Аудио и звук
Программное обеспечение
Комфортный дом
Цифровое видео
Законы и новости рынка
Криптовалюты
Наука и космос
Авиация
Электротранспорт
Носимая электроника
Консоли и игры
Информационная безопасность
Финансы
Искусственный интеллект
Статьи
Свежие
Видеокарты и мониторы
iT-среда
Мобильные устройства
Ноутбуки и планшеты
Носители информации
Платформа ПК
Приложения и утилиты
Принтеры и периферия
Профессиональное аудио
Проекторы и ТВ
Сети и серверы
Hi-Fi и мультимедиа
Цифровое видео
Цифровое фото
Корпуса, БП и ИБП
Автомобили
Комфортный дом
Наши проекты
Конференция
Остальные проекты
Блоги
Игры
Маркет
ПроБизнес
Новости
13 декабря 2020
Новости за дату
Список
Все категории
Загрузка...
Совсем другой Hyundai. Корейская компания представила бренд водородомобилей HTWO
Корейцы вложат огромные средства в развитие этого направления
Авто и транспорт
13
13 дек 2020 23:56
От 2300 долларов: стала известна стоимость 13-дюймового 900-граммового ноутбука Lenovo ThinkPad X1 Nano в Европе
В США цена базовой версии ThinkPad X1 Nano – 1600 долларов
Ноутбуки и планшеты
51
13 дек 2020 23:02
«Космолет» на дорогах общего пользования. Гибридный Lamborghini Sian PCF 37 засняли вживую
Вживую такой авто выглядит еще эффектнее, чем на официальных снимках
Авто и транспорт
19
13 дек 2020 22:54
Запас хода 700 км и быстрая зарядка. Полностью электрическая замена Volkswagen Passat выйдет в 2023 году
Предварительное обозначение модели – ID.6
Авто и транспорт
69
13 дек 2020 22:19
Nokia с алюминиево-магниевым корпусом и ценой свыше 1000 долларов. Появились подробности о ноутбуке Nokia PureBook X14
Анонс состоится в ближайшее время
Ноутбуки и планшеты
9
13 дек 2020 21:40
Samsung Galaxy S21 5G получит улучшенную сверхширокоугольную камеру
Она будет выполнять функции камеры для съемки макро
Ноутбуки и планшеты
3
13 дек 2020 19:59
«Бюджетный» флагман Samsung Galaxy S20 FE неожиданно оказался суперпопулярным в США
У многих операторов он входит в тройку лучших смартфонов Samsung
Прочие новости
31
13 дек 2020 19:17
Дьявол кроется в мелочах. Чем отличаются умные часы-близнецы Mi Watch Lite и Redmi Watch?
Стоит ли переплачивать за более дорогую модель?
Мобильные телефоны
6
13 дек 2020 19:08
Бывший «заклятый враг» Apple похвалил её SoC M1. Глава Qualcomm считает, что компании движутся в правильном направлении
Речь о формате Always Connected PC
Прочие новости
36
13 дек 2020 19:07
Полноценный AutoCAD запустили на смартфоне Microsoft 2015 года
На Lumia 950XL установили AutoCAD 2021
Прочие новости
5
13 дек 2020 19:04
«Сообщения» Google на ПК получили реакции, как у iPhone
Функция заработала в веб-версии Google Messages
Прочие новости
2
13 дек 2020 18:48
Испытание космического корабля Virgin Galactic SpaceShipTwo не удалось
Корабль и экипаж не пострадали
Прочие новости
39
13 дек 2020 17:52
Видеокарты Nvidia GeForce RTX 3080 Ti, RTX 3060 и RTX 3050 подтверждены приложением AIDA64
Также в обновленной AIDA64 появилась поддержка мобильных GPU Ampere
Видеокарты
17
13 дек 2020 17:23
Браузер Microsoft теперь можно ещё лучше настроить «под себя»
Новые цветовые темы освежат вид браузера
Прочие новости
15
13 дек 2020 17:14
64 ядра частотой до 3,7 ГГц и производительность на 76% выше, чем у Xeon Platinum 8280L. Характеристики AMD Epyc 7713 и других CPU линейки Milan
Прибавка производительности Milan относительно Rome – от 10 до 30 процентов
Процессоры
34
13 дек 2020 17:00
ЭКГ в умных часах Apple Watch сможет работать при слишком частом пульсе
Релиз ожидается с watchOS 7.2
Мобильные телефоны
15
13 дек 2020 16:36
Новым главой Ferrari может стать бывший главный дизайнер Apple Джони Айв
Также в преемники Камиллери записали финансового директора Apple
Прочие новости
35
13 дек 2020 16:09
Сверхбюджетные полностью беспроводные наушники. Realme Buds Q2 сохранят дизайн и автономность
Что изменится, пока неясно
Прочие новости
3
13 дек 2020 15:34
Экспериментальные функции Chrome собрались в одном месте
Больше никаких блужданий по «флагам», чтобы добраться до «секретных» новшеств
Прочие новости
1
13 дек 2020 15:21
Tesla предлагает год бесплатной зарядки Supercharging для своих электромобилей в США
Но только для тех автомобилей Model 3 и Model Y, что будут доставлены к 31 декабря
Авто и транспорт
1
13 дек 2020 15:06
Как работает Cyberpunk 2077 на компьютере, соответствующем минимальным системным требованиям игры?
Хотелось бы лучшего
Прочие новости
98
13 дек 2020 15:03
Microsoft дала родителям власть блокировки Xbox прямо со смартфона
Приложение Xbox Family Settings позволяет временно запретить игры
Прочие новости
5
13 дек 2020 14:47
Cyberpunk 2077 «не любит» процессоры AMD, но решение уже есть. Правда, пока неофициальное
Кардинальных изменений ждать всё равно не стоит
Процессоры
48
13 дек 2020 14:46
Какие смартфоны Xiaomi, Redmi и Poco обновятся до MIUI 12.5, почти 8 десятков моделей
Для некоторых смартфонов MIUI 12.5 «прилетит» вместе с Android 11
Мобильные телефоны
12
13 дек 2020 14:20
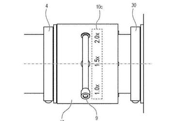
Canon патентует телеконвертор с переменным увеличением, стабилизацией изображения и нейтральным фильтром переменной плотности
Будет ли выпущено такое изделие — пока неизвестно
Цифровое фото
1
13 дек 2020 12:52
Микроконтроллеры Renesas RA4M3 предназначены для промышленной электроники и устройств интернета вещей
В них используется ядро Arm Cortex-M33
Прочие новости
3
13 дек 2020 12:11
Корпус Thermaltake AH T200 предложен в розовом цвете
Его цену производитель не называет
Корпуса, системы питания и охлаждения
15
13 дек 2020 11:08
До анонса первого серийного флагмана на Snapdragon 888 осталось две недели. Это будет Xiaomi Mi 11
Премьера состоится после католического Рождества, но до Нового года
Мобильные телефоны
37
13 дек 2020 09:33
Apple может убрать кабель из коробки iPhone 13, а Huawei – из комплекта поставки своих беспроводных наушников
Huawei опрашивает пользователей о необходимости зарядного кабеля USB-C в комплекте поставки своих беспроводных наушников
Прочие новости
36
13 дек 2020 08:23
Видео: автопилот Tesla демонстрирует абсолютно человеческое поведение при обгоне грузовика
Автомобиль делает все так же, как это делал бы человек
Авто и транспорт
27
13 дек 2020 07:52
Флагманы Honor V40 замечены в крупнейшем китайском интернет-магазине, анонс уже скоро
Также подтверждены модели Honor V40 Pro и Honor V40 Pro+
Мобильные телефоны
4
13 дек 2020 06:48
Спрос на дорогие электромобили падает, Tesla приостановит производство Model S и Model X
Эти модели не будут производиться в течение 18 дней
Авто и транспорт
47
13 дек 2020 04:49
iPhone 13 не повторит судьбу iPhone 12: он выйдет в срок, а не с опозданием
Он поступит в продажу в сентябре следующего года, а не в октябре-ноябре
Техника Apple
47
13 дек 2020 04:07
Microsoft завершила разработку совершенно новой Windows 10
Windows 10X готова для использования в недорогих компьютерах
Программное обеспечение
71
13 дек 2020 03:52
Никакого экрана-водопада у Redmi K40 Pro
И уж тем более у обычного Redmi K40
Мобильные телефоны
9
13 дек 2020 03:10
В 2021 году Toyota представит электромобиль с запасом хода 500 км и полной зарядкой за 10 минут
В авто будет использоваться твердотельная тяговая батарея
Авто и транспорт
58
13 дек 2020 02:55
Представлена камера Leica SL2-S
По мнению производителя, «это самая универсальная камера для фотографии и видеосъемки на сегодняшний день»
Цифровое фото
9
13 дек 2020 00:59
Раньше
2020-12-13
Позже
Видео