Компания Sony официально обещала для своей игровой приставки PlayStation 5 весьма ограниченную обратную поддержку игр консолей прошлых поколений. Однако надежда на возможность поиграть на PlayStation 5 в игры, созданные под PS1, PS2 и PS3, ещё осталась.
На это указывает обнаруженный недавно патент компании. На него обратил внимание японский пользователь социальной сети Twitter под ником renka_schedule.
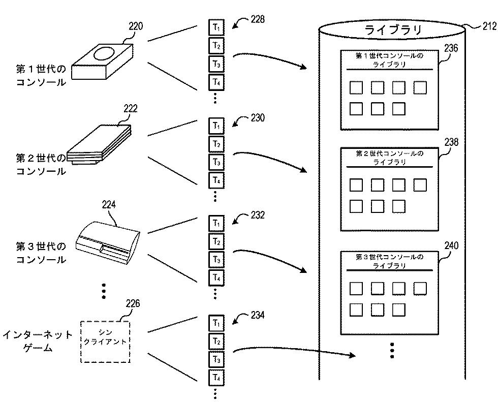
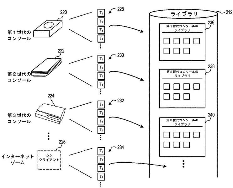
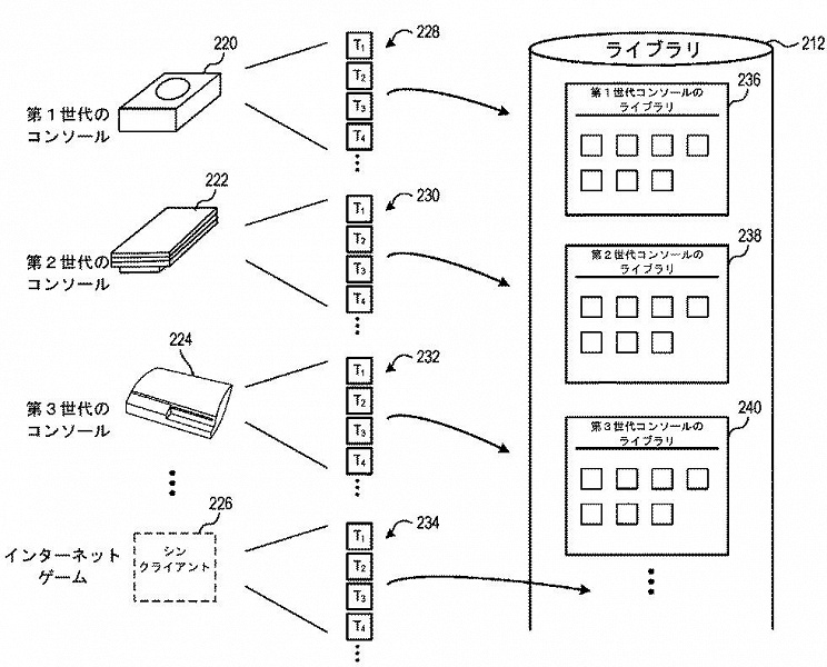
Согласно приведённому описанию и иллюстрации в патенте, поддержка игр для PS1, PS2 и PS3 может быть реализована на PlayStation 5 с помощью облачного сервиса. Проще говоря, игры будут запускаться в облаке на эмуляторе оригинальных консолей. В дополнительной патентной документации указывается, что геймеры получат доступ к небольшим демо-версиям, в которые можно будет сыграть перед покупкой.
Sony заявила для PlayStation 5 совместимость с «большинством игр» под PS4, но ничего не упомянула про более ранние версии приставок.
При этом для Xbox Series X обещана поддержка игр четырёх предыдущих поколений Xbox, «тысячи» игр, доступные сразу с началом продаж приставки, автоматическое улучшение старых игр, причём не только улучшение разрешения, но и реконструкция HDR, а также повышение частоты до 120 к/с.
Конечно, тут стоит дать обычное для патентов пояснение: нет никакой гарантии, что задумка будет реализована, а также никаких точных сроков, когда это может произойти.

