Складное устройство Microsoft, которое различные источники называли Project Andromeda и Surface Phone, находится в разработке довольно давно. Летом прошлого года появилась информация о том, что проект Andromeda может быть отменен, а вместо него Microsoft может выпустить очередной ноутбук с поддержкой приложений Win32.

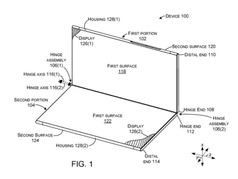
Затем обозреватель Пол Тарот (Paul Thurrott), ссылаясь на проверенных информаторов в Microsoft, заявил, что проект точно не отменен. Теперь же у нас появились изображения шарнирного механизма, который будет использоваться в устройстве. Соответствующий документ был опубликован Всемирной организацией интеллектуальной собственности (WIPO).
Данный шарнирный механизм позволит использовать Surface Phone как ноутбук в альбомной ориентации. Один дисплей сверху будет выступать в роли экрана, а нижний экран будет использоваться как виртуальная клавиатура QWERTY.

Шарнир также предусматривает открытие на 360 градусов. На одной из картинок показано, как пользователь может слегка приоткрыть устройство, чтобы увидеть уведомления и напоминания.

Ранее технический обозреватель Брэд Сэмс (Brad Sams) заявил, что Microsoft выпустит это устройство ближе к концу этого года, однако оно будет больше, чем показывали предыдущие рендеры, и, возможно, не будет карманным.
