В начале прошлого года компания Samsung представила первый в мире 146-дюймовый модульный телевизор MicroLED под названием The Wall. На этом она не остановилась и сейчас работает над тем, чтобы сделать такие модульные телевизоры гибкими.
Об этом говорится в недавнем патенте, полученном корейским производителем в американском патентном ведомстве (U.S. Patent and Trademark Office, USPTO).
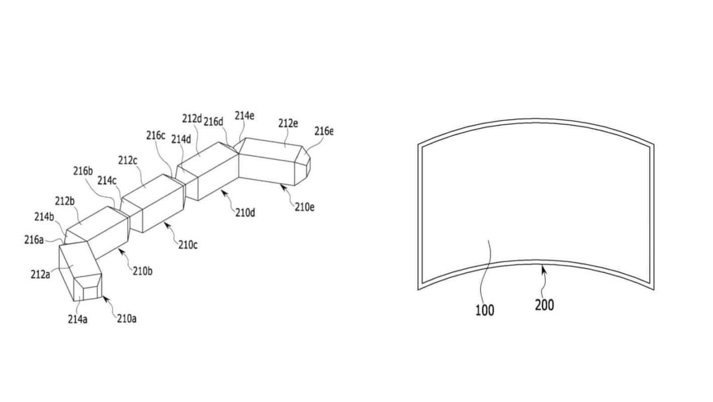
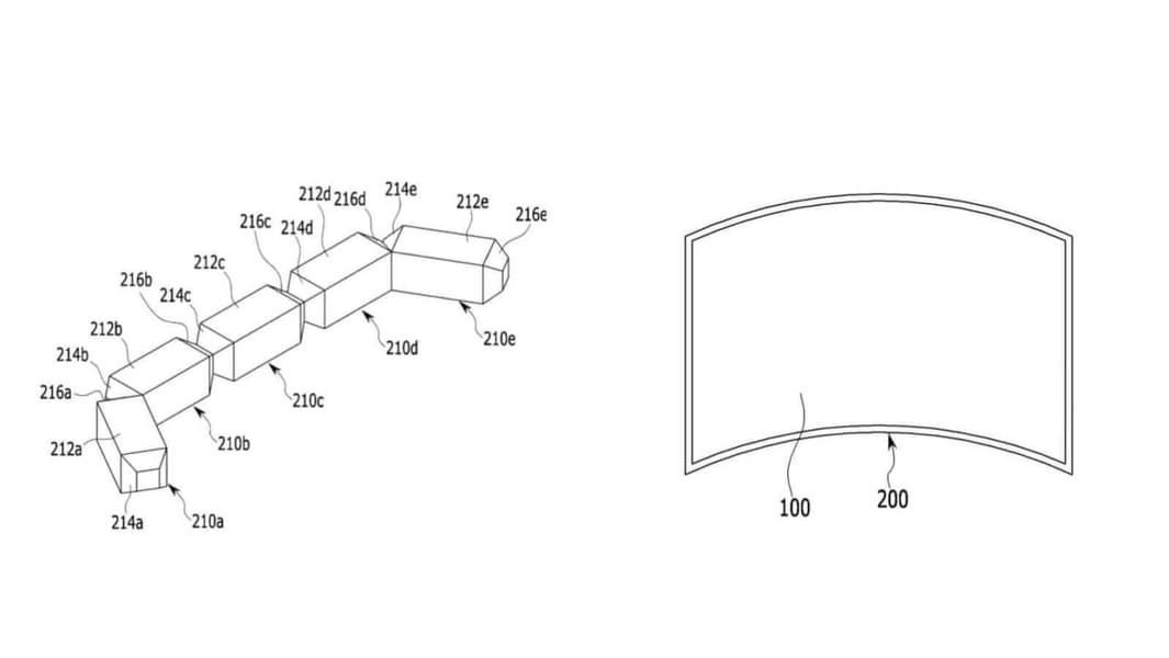
Патент описывает выглядящую довольно обычно дисплейную панель с источниками питания по краю с электро-магнитными коннекторами. Форма коннекторов позволяет сочленения изогнутой формы. Таким образом панели можно будет соединять друг с другом, наращивая площадь экрана даже в изогнутом виде.
Описанная технология почти идентична той, что используется в The Wall, за исключением гибкости и необычных коннекторов. Сейчас телевизор The Wall доступен в размерах от 75 до 219 дюймов.

