Конференция
Блоги
Игры
Маркет
Про бизнес
Еще
Другие проекты
Конференция
Старейший и крупнейший в рунете форум о технике
Блоги
Впечатления о технике из первых рук на Блоги
Игры
Компьютерные игры и не только на Игры
Маркет
Скидки, купоны, тесты магазинов
ПроБизнес
Новости и обзоры решений для малого и среднего бизнеса
Мерч
IXBT
Войти
Новости
Статьи
Видеокарты и мониторы
Мобильные устройства
Ноутбуки и планшеты
Платформа ПК
Комфортный дом
Все темы
$refs.search?.focus())" aria-label="Очистить поиск" >
Статьи
Видеокарты и мониторы
iT-среда
Мобильные устройства
Ноутбуки и планшеты
Носители информации
Платформа ПК
Приложения и утилиты
Принтеры и периферия
Профессиональное аудио
Проекторы и ТВ
Сети и серверы
Hi-Fi и мультимедиа
Цифровое видео
Цифровое фото
Корпуса, БП и ИБП
Автомобили
Комфортный дом
Новости
Процессоры
Системные платы, память, чипсеты
Цифровое фото
Ноутбуки и планшеты
Мониторы
Техника Apple
Мобильные телефоны
Настольные ПК
Видеокарты
Корпуса, системы питания и охлаждения
Носители информации
Прочие новости
Принтеры и периферия
Сети и серверы
Авто и транспорт
Телевизоры и проекторы
Аудио и звук
Программное обеспечение
Комфортный дом
Цифровое видео
Законы и новости рынка
Криптовалюты
Наука и космос
Авиация
Электротранспорт
Носимая электроника
Консоли и игры
Информационная безопасность
Финансы
Искусственный интеллект
Новости
Сегодня
Лента
Процессоры
Системные платы, память, чипсеты
Цифровое фото
Ноутбуки и планшеты
Мониторы
Техника Apple
Мобильные телефоны
Настольные ПК
Видеокарты
Корпуса, системы питания и охлаж...
Носители информации
Прочие новости
Принтеры и периферия
Сети и серверы
Авто и транспорт
Телевизоры и проекторы
Аудио и звук
Программное обеспечение
Комфортный дом
Цифровое видео
Законы и новости рынка
Криптовалюты
Наука и космос
Авиация
Электротранспорт
Носимая электроника
Консоли и игры
Информационная безопасность
Финансы
Искусственный интеллект
Статьи
Свежие
Видеокарты и мониторы
iT-среда
Мобильные устройства
Ноутбуки и планшеты
Носители информации
Платформа ПК
Приложения и утилиты
Принтеры и периферия
Профессиональное аудио
Проекторы и ТВ
Сети и серверы
Hi-Fi и мультимедиа
Цифровое видео
Цифровое фото
Корпуса, БП и ИБП
Автомобили
Комфортный дом
Наши проекты
Конференция
Остальные проекты
Блоги
Игры
Маркет
ПроБизнес
Новости
29 марта 2017
Новости за дату
Список
Все категории
Загрузка...
Кроссовер Tesla Model Y стоит ожидать только через несколько лет
Автомобиль Tesla Model Y всё-таки появится в ассортименте компании
Прочие новости
0
29 мар 2017 21:01
Док-станция Samsung Dex позволит превратить смартфон Galaxy S8 в подобие настольного ПК
Док-станция Samsung Dex имеет активное охлаждение
Прочие новости
0
29 мар 2017 20:42
Представлены смартфоны Samsung Galaxy S8 и Galaxy S8+
Смартфоны Samsung Galaxy S8 и Galaxy S8+ стоят 750 и 850 долларов
Мобильные телефоны
0
29 мар 2017 19:11
Начались продажи блоков питания FSP Dagger типоразмера SFX мощностью 500 и 600 Вт
Блоки питания FSP Dagger имеют сертификат 80Plus Gold
Корпуса, системы питания и охлаждения
0
29 мар 2017 16:30
Tsinghua Unigroup получит еще 22 млрд долларов, чтобы войти в число крупнейших производителей полупроводниковой продукции
Две трети этой суммы в период до 2020 года предоставит поддерживаемый государством банк развития Китая
Прочие новости
0
29 мар 2017 16:06
Домашняя камера видеонаблюдения Zyxel Aurora Cloud Access Camera (CAM3115) имеет форму треугольной призмы
Камера Zyxel Aurora Cloud Access Camera (CAM3115) обеспечивает видеонаблюдение за домом с трансляцией на мобильные устройства
Прочие новости
0
29 мар 2017 15:29
Серия компьютерных корпусов Thermaltake View 28 RGB Gull-Wing Window включает две модели
По имеющимся данным, цены новых корпусов лежат в диапазоне 80-90 евро
Корпуса, системы питания и охлаждения
0
29 мар 2017 14:27
Дисплей Asus VG245Q поддерживает кадровую синхронизацию AMD FreeSync
Монитор Asus VG245Q получил безопасную для глаз подсветку
Мониторы
0
29 мар 2017 14:12
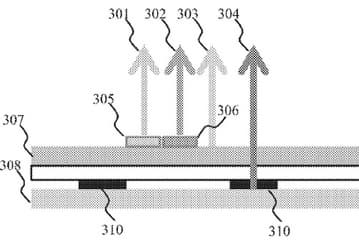
Universal Display патентует гибридный дисплей OLED и LED MEMS
Изобретатели предлагают заменить органические светодиоды синего цвета неорганическими
Прочие новости
0
29 мар 2017 13:40
ПО Abbyy Real-Time Recognition позволяет смартфонам распознавать текст на различных предметах
Для работы Abbyy Real-Time Recognition не требуется подключение к сети Интернет
Прочие новости
0
29 мар 2017 12:24
Плата Biostar Racing X370-GTN типоразмера mini-ITX рассчитана на процессоры AMD в исполнении AM4
Плата Biostar Racing X370-GTN стоит около $150
Системные платы, память, чипсеты
0
29 мар 2017 11:57
Энди Рубин опубликовал первое изображение своего нового смартфона, который получит безрамочный дизайн
Мы до сих пор не знаем, о какого рода модульности идет речь
Прочие новости
0
29 мар 2017 11:35
LG может заняться производством смартфонов Google Pixel 3
Всего с сентября 2016 было отгружено около 2,1 млн смартфонов Google Pixel
Прочие новости
0
29 мар 2017 11:11
Консорциум, возглавляемый SK Hynix, предлагает за полупроводниковый бизнес Toshiba более 9 млрд долларов
Являясь вторым по величине производителем микросхем памяти в мире, компания SK Hynix очень заинтересована в покупке
Прочие новости
0
29 мар 2017 11:10
Представлены процессоры Intel Xeon E3-1200 v6
Семейство процессоров Intel Xeon E3-1200 v6 образовано восемью моделями
Процессоры
0
29 мар 2017 10:54
Applе может потратить $200 млрд на покупку Disney
Аналитик считает подобное приобретение крайне удачным для Apple
Прочие новости
0
29 мар 2017 10:51
Скидка на восстановленные Samsung Galaxy Note7 будет достигать 50%. Такие смартфоны не будут продаваться в США
Около 3 млн смартфонов Samsung Galaxy Note7 будут проданы повторно после восстановления
Прочие новости
0
29 мар 2017 10:26
Дисплей Samsung Cinema Screen диагональю 10 м составит конкуренцию кинотеатральным проекторам
Экран будет дополнен современный аудиоситемой, которая создана при участии специалистов Harman и Samsung Audio Lab
Прочие новости
0
29 мар 2017 10:16
В Сингапурском торговом центре загорелся фирменный магазин Samsung
Магазин Samsung и прилегающие к нему торговые точки временно приостановили работу
Прочие новости
0
29 мар 2017 09:43
Владельцу гарантийного Samsung Galaxy S7 Edge отказали в обмене после того, как он не подписал соглашение о неразглашении
Ему предложили подписать соглашение о неразглашении
Прочие новости
0
29 мар 2017 09:35
Смартфон HTC U с сенсорными боковыми панелями Edge Sense должны представить в апреле
В продажу он должен поступить в начале мая
Прочие новости
0
29 мар 2017 09:26
В корпусе 16-ядерного процессора AMD Ryzen будет два кристалла Summit Ridge
12-ядерный процессор AMD Ryzen будет построен по такому же принципу
Процессоры
0
29 мар 2017 09:16
Украшенный золотом и бриллиантами смартфон Huawei P10 предлагается за 2690 евро
Производитель изготовил всего восемь таких смартфонов
Прочие новости
0
29 мар 2017 09:14
LG судится с американской компанией Blu
В прошлом году Blu реализовала 5,2 млн смартфонов в США
Прочие новости
0
29 мар 2017 09:00
Представлен одноплатный ПК Cubieboard6 с SoC Actions S500
Плата Cubieboard6 сохраняет совместимость с одним из предшественников
Системные платы, память, чипсеты
0
29 мар 2017 08:53
Количество вредоносного ПО для мобильных устройств за год выросло на 400%
Для отчета использовались данные с миллионов мобильных устройств из Европы, Северной Америки, Ближнего Востока и других регионов мира
0
29 мар 2017 08:48
Раньше
2017-03-29
Позже
Видео