Одноплатный ПК Aaeon Rico-3288 поддерживает модули с NFC, GPS и PoE

ОС Android 6.0 штатно поддерживает плату Aaeon Rico-3288

Семейство одноплатных ПК Aaeon в прошлом году отметилось моделью Aaeon UP Squared, выделившейся сочетанием ПЛИС Altera Max 10 и процессоров Intel Apollo Lake. Теперь Aaeon, входящая в группу компаний Asus, представила новинку под названием Rico-3288, уже на платформе Rockchip.

ОС Android 6.0 штатно поддерживает плату Aaeon Rico-3288

Кроме базовой версии плата будет доступна в модификациях Rico-3288V и F: в первой добавлен адаптер Wi-Fi 802.11ac, Bluetooth 4.0 и слот SD с поддержкой LTE, во второй также есть шина CAN и два порта RS-232. По поводу слота Mini-PCIe сильно обольщаться не стоит, он поддерживает только модемы 3G и 4G, фактически на него выведены только линии USB. Производитель готовит дочерние платы с поддержкой NFC, GPS, аккумуляторного питания, PoE и другие.

ОС Android 6.0 штатно поддерживает плату Aaeon Rico-3288

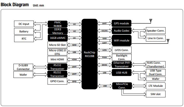
Одноплатный ПК основан на SoC Rockchip RK3288, ее четыре ядра Cortex A17 объединены с GPU Mali-T760. Оперативная память DDR3L объемом 2 ГБ соседствует с флэш-памятью eMMC емкостью 16 ГБ. Дисплеи подключаются посредством выходов HDMI 2.0, eDP (разрешение до 2560 х 1400 пикселей, 60 Гц) и LVDS (1400 x 900 пикселей, 60 Гц). Слот MicroSD поддерживает карты объемом до 64 ГБ, распаян порт Gigabit Ethernet, RS-232, два USB 2.0, один microUSB с поддержкой OTG, один DIO (8 бит). Питание подводится от внешнего адаптера напряжением 12 В или аккумулятора (7,4 В). Плата Aaeon Rico-3288 поддерживается в ОС Android 6.0.

22 марта 2017 в 20:46

Автор:

| Источник: Aaeon

Все новости за сегодня

Календарь

март
Пн
Вт
Ср
Чт
Пт
Сб
Вс