Появление смартфона Apple iPhone с изогнутым экраном ожидается в 2017 или 2018 году

Смартфоны iPhone следующего поколения будут выпущены осенью этого года

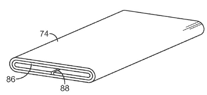
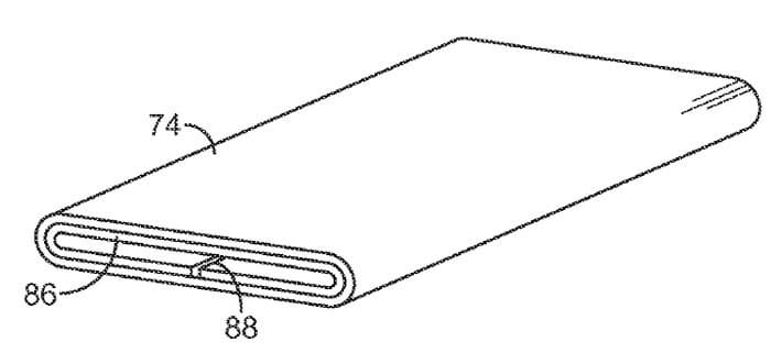
По данным источника, обобщившего прогнозы нескольких аналитиков, компания Apple планирует пересмотреть линейку смартфонов iPhone, изменив форм-фактор устройства. Смартфон получит стеклянный корпус с огибающим его экраном AMOLED.

Смартфоны iPhone следующего поколения будут выпущены осенью этого года

Такая конструкция описана в заявке на патент, поданной в Европе в 2013 году и в в США — в этом году.

Дисплеи, предложенные Apple, являются полыми и могут иметь любую форму

Смартфоны iPhone следующего поколения, которые будут выпущены осенью этого года, сохранят сходство с существующими. Ожидается, что размер экрана iPhone 7 будет равен 5,8 дюйма по диагонали. Радикальное обновление запанировано на 2017 или 2018 год.

Источник: Patently Apple

27 марта 2016 в 17:00

Автор:

Все новости за сегодня

Календарь

март
Пн
Вт
Ср
Чт
Пт
Сб
Вс