Конференция
Блоги
Игры
Маркет
Про бизнес
Еще
Другие проекты
Конференция
Старейший и крупнейший в рунете форум о технике
Блоги
Впечатления о технике из первых рук на Блоги
Игры
Компьютерные игры и не только на Игры
Маркет
Скидки, купоны, тесты магазинов
ПроБизнес
Новости и обзоры решений для малого и среднего бизнеса
Мерч
IXBT
Войти
Новости
Статьи
Видеокарты и мониторы
Мобильные устройства
Ноутбуки и планшеты
Платформа ПК
Комфортный дом
Все темы
$refs.search?.focus())" aria-label="Очистить поиск" >
Статьи
Видеокарты и мониторы
iT-среда
Мобильные устройства
Ноутбуки и планшеты
Носители информации
Платформа ПК
Приложения и утилиты
Принтеры и периферия
Профессиональное аудио
Проекторы и ТВ
Сети и серверы
Hi-Fi и мультимедиа
Цифровое видео
Цифровое фото
Корпуса, БП и ИБП
Автомобили
Комфортный дом
Новости
Процессоры
Системные платы, память, чипсеты
Цифровое фото
Ноутбуки и планшеты
Мониторы
Техника Apple
Мобильные телефоны
Настольные ПК
Видеокарты
Корпуса, системы питания и охлаждения
Носители информации
Прочие новости
Принтеры и периферия
Сети и серверы
Авто и транспорт
Телевизоры и проекторы
Аудио и звук
Программное обеспечение
Комфортный дом
Цифровое видео
Законы и новости рынка
Криптовалюты
Наука и космос
Авиация
Электротранспорт
Носимая электроника
Консоли и игры
Информационная безопасность
Финансы
Искусственный интеллект
Новости
Сегодня
Лента
Процессоры
Системные платы, память, чипсеты
Цифровое фото
Ноутбуки и планшеты
Мониторы
Техника Apple
Мобильные телефоны
Настольные ПК
Видеокарты
Корпуса, системы питания и охлаж...
Носители информации
Прочие новости
Принтеры и периферия
Сети и серверы
Авто и транспорт
Телевизоры и проекторы
Аудио и звук
Программное обеспечение
Комфортный дом
Цифровое видео
Законы и новости рынка
Криптовалюты
Наука и космос
Авиация
Электротранспорт
Носимая электроника
Консоли и игры
Информационная безопасность
Финансы
Искусственный интеллект
Статьи
Свежие
Видеокарты и мониторы
iT-среда
Мобильные устройства
Ноутбуки и планшеты
Носители информации
Платформа ПК
Приложения и утилиты
Принтеры и периферия
Профессиональное аудио
Проекторы и ТВ
Сети и серверы
Hi-Fi и мультимедиа
Цифровое видео
Цифровое фото
Корпуса, БП и ИБП
Автомобили
Комфортный дом
Наши проекты
Конференция
Остальные проекты
Блоги
Игры
Маркет
ПроБизнес
Новости
02 декабря 2014
Новости за дату
Список
Все категории
Загрузка...
Блок питания Chieftec Smart SFX-500GD-C форм-фактора SFX имеет модульную кабельную систему
Максимальная мощность блока питания Chieftec Smart SFX-500GD-C равна 500 Вт
Корпуса, системы питания и охлаждения
0
02 дек 2014 20:07
Аналитики IDC заметили признаки перехода рынка смартфонов в стадию зрелости
Рост рынка смартфонов замедляется
Мобильные телефоны
0
02 дек 2014 19:46
Смартфон Lava Iris Win1 с Windows Phone 8.1 стоит $80
Смартфон Lava Iris Win1 оснастили платформой Snapdragon 200
0
02 дек 2014 19:19
Смартфон OnePlus One получит преемника, известно примерное время анонса
Выход на рынок Индии сопровождался интересными заявлениями
Ноутбуки и планшеты
0
02 дек 2014 18:50
Samsung практически завершила разработку собственного GPU для 64-разрядной однокристальной платформы
Samsung работает над собственным графическим ядром для использования в однокристальных системах мобильного сегмента
Прочие новости
0
02 дек 2014 18:42
Твердотельные накопители Patriot Torch предложены объемом 120 и 240 ГБ
Цена накопителя Patriot Torch объемом 120 ГБ примерно равна $60, объемом 240 ГБ — $103
Носители информации
0
02 дек 2014 18:34
Dell P2415Q и P2715Q — новые недорогие мониторы разрешением Ultra HD
Мониторы Dell P2415Q и P2715Q стоят $600 и $700 соответственно
Мониторы
0
02 дек 2014 18:07
Корпус Chieftec Elox IX-05B рассчитан на платы типоразмера mini-ITX
В корпусе Chieftec Elox IX-05B помещается два накопителя
Корпуса, системы питания и охлаждения
0
02 дек 2014 17:42
Новый номер электронного журнала iТоги уже доступен бесплатно в App Store и Google Play Store!
Вышел новый номер электронного журнала iТоги
Прочие новости
0
02 дек 2014 17:00
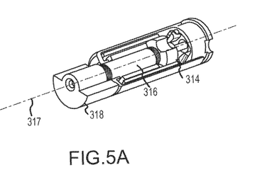
Apple патентует механизм защиты мобильных устройств при падениях
Актуальная проблема может получить эффективное решение
Прочие новости
0
02 дек 2014 16:53
Мышь Zowie Gear FK2 — уменьшенный вариант модели FK1
Поставки FK2 уже начались
Принтеры и периферия
0
02 дек 2014 16:50
Беспроводная гарнитура Gigabyte Force H1 оснащена позолоченными динамиками диаметром 40 мм
Первое беспроводное устройство в игровой линейке Force
Прочие новости
0
02 дек 2014 15:10
Видеокарта Galax GeForce GTX 970 OC получила укороченную печатную плату, массивную СО и повышенные частоты GPU
Видеокарта Galax GeForce GTX 970 OC стоит 320 евро
Видеокарты
0
02 дек 2014 14:54
Corning покупает у Samsung Electronics бизнес по выпуску волоконно-оптической продукции
Samsung Electronics продаёт свой волоконно-оптический бизнес
Прочие новости
0
02 дек 2014 14:27
Japan Display снижает цены на свою продукцию для удовлетворения спроса Xiaomi, а также в целях привлечь новых клиентов
Панели Japan Display среднего ценового сегмента станут ещё доступнее
Прочие новости
0
02 дек 2014 13:50
На выставке CES 2015 компания Xiaomi может показать большой смартфон с экраном 2K
Xiaomi готовит новый смартфон с экраном большой диагонали и разрешения
Мобильные телефоны
0
02 дек 2014 12:41
Asus догоняет MSI на рынке игровых ноутбуков благодаря недорогим моделям
MSI пока остаётся лидером рынка игровых ноутбуков
Ноутбуки и планшеты
0
02 дек 2014 12:25
Версия ОС Android Jelly Bean всё ещё занимает почти половину рынка
Google опубликовала статистику по распределению версий ОС Android
0
02 дек 2014 11:53
В третьем квартале 2014 года было отгружено немногим более миллиона рабочих станций
Лидером рынка рабочих станций остается HP
Прочие новости
0
02 дек 2014 11:37
Cypress и Spansion договорились стать одной компанией
Слияние Cypress и Spansion оценивается в 4 млрд долларов
Прочие новости
0
02 дек 2014 11:12
Появились некоторые предварительные сведения о смартфоне HTC One (M9)
Основой HTC One (M9) станет однокристальная система Qualcomm Snapdragon 805
Мобильные телефоны
0
02 дек 2014 08:00
За три месяца браслет Xiaomi Mi Band разошёлся тиражом 1 млн устройств
Xiaomi за три месяца на родном рынке продала 1 млн браслетов Mi Band
Мобильные телефоны
0
02 дек 2014 07:15
Мощный радиочастотный транзистор Freescale MMRF5014H имеет рекордно широкую полосу пропускания
Усилитель на транзисторах Freescale MMRF5014H может заменить несколько усилителей
Прочие новости
0
02 дек 2014 07:00
Раньше
2014-12-02
Позже
Видео