Новости за дату

Все категории
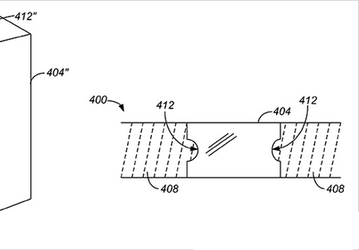
Google собирается выпустить автомобиль без руля и педалей
0
Наметился прорыв в переводе речи в режиме реального времени
На конференции «Сode Conference» в Ранчо Палос Вердес, Калифорния, Кара Свишер и Вальт Мосберг более часа беседовали с главным исполнительным директором Microsoft Сатьей Наделлой
0
Видеокарта MSI GeForce GTX 780 Gaming 6G оснащена 6 ГБ памяти GDDR5
MSI GeForce GTX 780 Gaming 6G весит 840 граммов
0
Intel заключает стратегическое соглашение с Rockchip, чтобы «ускорить и расширить» портфель решений для планшетов
0
По предварительным данным, смартфон Apple iPhone 6 будет представлен 19 сентября
0
Доля Renesas в предприятии, выпускающем контроллеры дисплеев для iPhone, достанется не Apple, а другому покупателю
0
Представлен смартфон LG G3
0
Разрешение 28-дюймового монитора Iiyama ProLite B2888UHSU-B1 — 3840 x 2160 пикселей, время реакции пикселя — 1 мс
0
Планшетный компьютер LG G Pad 10: подробности
LG G Pad 10, как и семидюймовая модель серии, построен на однокристальной платформе Qualcomm Snapdragon 400
Объявлено о начале продаж 3D-карты Nvidia GeForce GTX Titan Z
Рекомендованная розничная цена 3D-карты Nvidia GeForce GTX Titan Z в России — 114 990 рублей
0
Apple хочет, чтобы суд взыскал с Samsung больше денег и запретил продажи устройств южнокорейской компании
Apple просила 2,2 млрд долларов, получила 120 млн долларов и считает, что этого мало
Google собирается выпустить автомобиль без руля и педалей
Прототип автомобиля Google для двух пассажиров имеет полностью электронное управление
Для смартфона Oppo N1 mini выбраны пастельные цвета корпуса
Аппарат Oppo N1 mini оснащен немаленьким пятидюймовым экраном
Asus переименует комплект планшет+смартфон PadFone X в PadFone S и запустит его в продажу на мировом рынке
Asus PadFone S по своим характеристикам полностью соответствует PadFone X
Изображения смартфона HTC One (M8) Ace позволяют надеяться на выпуск красного и синего варианта аппарата
Производитель выбрал для смартфона HTC One (M8) Ace яркие цвета
ISSI начала поставки образцов микросхем памяти SDRAM DDR3 и DDR3L плотностью 8 Гбит
Память типа DDR3 сейчас можно встретить в самых разных компонентах коммуникационной инфраструктуры
Apple получила патент, описывающий создание единой конструкции из сапфирового стекла и рамки, созданной из Liquidmetal
Apple получила патент, касающийся Liquidmetal
Panasonic отзывает более 43 000 аккумуляторных батарей для ноутбуков в связи с риском возгорания
Два случая возгорания батарей Panasonic произошли в Японии, третий — в Таиланде
Стали известны основные характеристики мобильных APU AMD A6 Pro-7050B, A8 Pro-7150B и A10 Pro-7350B
Компания AMD готовит к выпуску мобильную платформу AMD Pro A
0
Microsoft снизила цены на планшеты Surface Pro 2
Планшеты Microsoft Surface Pro 2 теперь стоят практически столько же, сколько Surface Pro 3
Стало известно, сколько смартфон LG G3 будет стоить в Европе
Модификация LG G3 с 16 ГБ будет предсказуемо более доступной
Стали известны характеристики APU AMD A6-7400K (Kaveri)
APU A6-7400K получит два ядра с частотой 3,5 ГГц
0
NAS-сервер Synology DiskStation DS414slim рассчитан на четыре накопителя типоразмера 2,5 дюйма
Сервер Synology DiskStation DS414slim работает под управлением операционной системы DiskStation Manager (DSM) 5.0
Смартфон для разработчиков Mozilla Flame стал доступен для предзаказа по цене $170
Смартфон Mozilla Flame начнут продавать через месяц
За счет большого угла поворота дисплея ноутбук Toshiba Satellite Radius превращается в огромный планшет
Базовая стоимость Toshiba Satellite Radius — $926
Корпус для ПК Fractal Design Core 1500 размерами 195 x 370 x 450 мм рассчитан на системные платы типоразмера microATX
Корпус для ПК Fractal Design Core 1500 вмещает 3D-карты длиной до 380 мм
Google рассматривает возможность приобретения компании Dropcam
Подразделение Google Nest Labs хочет купить компанию Dropcam
Intel заключает стратегическое соглашение с Rockchip, чтобы «ускорить и расширить» портфель решений для планшетов
Участие Rockchip должно помочь Intel увеличить число покупателей однокристальных систем
X-plore — файловый менеджер для Android
В программе можно выполнять все основные операции с файлами
0
Wuala 3.3 для iOS обеспечивает безопасность хранения файлов
Wuala — это веб-сервис для резервного копирования и синхронизации данных, основной особенностью которого является повышенное внимание к безопасности
0
Мобильный Криминалист 2014 6.21 для проведения экспертизы сотовых телефонов
Новая версия также обеспечивает доступ к зашифрованным резервным копиям приложения WhatsApp!
0
По предварительным данным, смартфон Apple iPhone 6 будет представлен 19 сентября
Две из предыдущих моделей iPhone были представлены в сентябре
AOC u2868Pqu — 28-дюймовый монитор с разрешением 3840 x 2160 точек и временем отклика 1 мс
AOC u2868Pqu оценен в 649 евро
0
MediaTek выпустит 20-нанометровые платформы для смартфонов в первой половине будущего года
В будущем году к выпуску 20-нанометровой продукции приступит и компания Qualcomm
Встраиваемые системы с пассивным охлаждением Advantech MIO-5271 и ARK-1550 построены на процессорах Intel Core i5-4300U
Альтернативный вариант конфигурации Advantech MIO-5271 и ARK-1550 включает процессор Intel Celeron 2980U
Сотни тысяч болельщиков активно пользовались «СМОТРИ+» во время чемпионата мира по хоккею
Через приложение «СМОТРИ+» финальный матч Россия — Финляндия посмотрело более 80 000 человек.
0
Ginger v.3.5.37.0 - бесплатное решение для автоматической проверки правописания и грамматики на английском
Бесплатное решение для автоматической проверки правописания и грамматики на английском
0
Навител Навигатор 8.7.0.150 для iPhone и iPad — с подпиской на карты
Загрузить обновление Навител Навигатор пользователи iPhone и iPad могут из магазина
0
FlvPlayer4Free v.5.9.0.0 - бесплатный медиаплеер для воспроизведения FLV-файлов
Бесплатный медиаплеер для воспроизведения FLV-файлов
0
360 Total Security v.3.0.0.1204 - бесплатное антивирусное решение для ОС Windows
Бесплатное антивирусное решение для ОС Windows
0
Plextor добавляет в серию SSD M6e модели типоразмера M.2
Продажи накопителей PX-G128M6e, PX-G256M6e и PX-G512M6e уже начинаются
«Лаборатория Касперского» отмечает, что DDoS-атаки в Рунете стали еще мощнее
«Лаборатория Касперского» зафиксировала новый скачок мощности DDoS-атак в Рунете
0
Настраиваемое шифрование и объединение серверов в CommFort v.5.83
Компания "КоммФорт софтваре" объявляет о выпуске новой версии клиент-серверного приложения для общения в сети, обмена файлами и проведения видеоконференций CommFort
0
Корпус для ПК Fractal Design Core 2500 вмещает 3D-карты длиной до 380 мм
В корпусе Fractal Design Core 2500 можно установить до семи вентиляторов типоразмера 120 мм
Доля Renesas в предприятии, выпускающем контроллеры дисплеев для iPhone, достанется не Apple, а другому покупателю
Renesas принадлежит 55% предприятия Renesas SP Driver