Samsung запатентовала «умные» очки с автоматической коррекцией зрения
Компания Samsung подала заявку на патент в США, раскрывающую концепт «умных» очков с функцией автонастройки диоптрий для пользователей с нарушениями зрения. Устройство, разрабатываемое в рамках линейки AR/XR-гаджетов, может стать частью экосистемы вместе с шлемом Project Moohan, анонсированным ранее.
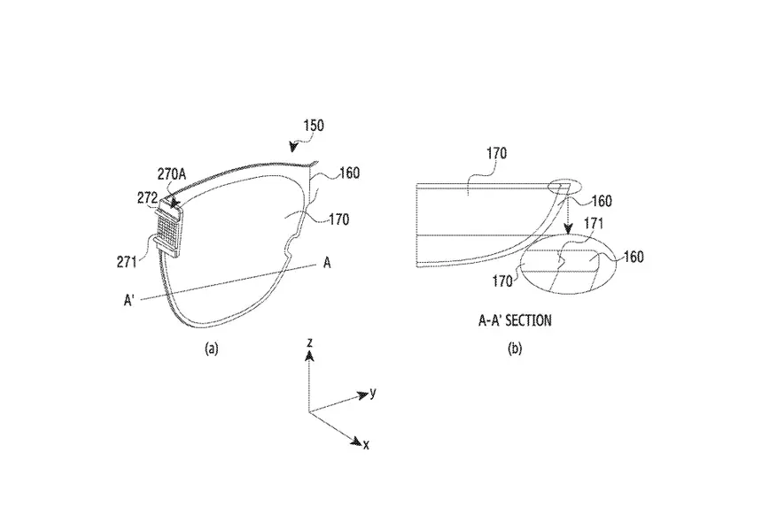
Согласно документам, очки оснащены механизированной системой регулировки линз на основе шестерёнок и актуаторов. Это позволяет автоматически менять их положение для улучшения фокусировки и расширения поля обзора при взаимодействии с дополненной или виртуальной реальностью. Патент также предполагает использование сменных линз, адаптированных под индивидуальные потребности.
Как отмечают эксперты, такая технология упростит использование AR/XR-устройств для людей, носящих коррекционные очки. Однако реализация идеи остаётся под вопросом — далеко не все запатентованные концепты Samsung воплощаются в коммерческие продукты.




Источник: Sammobile





1 комментарий
Добавить комментарий