Основные темы и самые интересные новости мая 2016 года
В мае были представлены 3D-карты Nvidia GeForce GTX 1080 и GeForce GTX 1070 для настольных систем, а также мобильные 3D-карты серии AMD Radeon R M400. Эти и другие подобные новости позволяют начать подборку с раздела
3D-карты
В начале месяца появились первые результаты тестирования видеокарты GeForce GTX 1080, до анонса которой оставалось совсем немного времени. Стало известно, что память этой 3D-карты работает на эффективной частоте 10 000 МГц.

Уже через день 3D-карта Nvidia GeForce GTX 1080 была представлена официально. Ее основой карты стал 16-нанометровый процессор нового поколения с 2560 ядрами CUDA. Его базовая частота равна 1607 МГц, повышенная — 1733 МГц. Карта оснащена 8 ГБ памяти GDDR5X, связанной с GPU по 256-разрядной шине. Производительность Nvidia GeForce GTX 1080 оценивается в 9 TFLOPS.
Производитель оценил референсный образец Nvidia GeForce GTX 1080 Founders Edition в $699, назначив датой начала продаж 27 мая.

Накануне начала продаж появились изображения вариантов GeForce GTX 1080, созданных Asus, Gigabyte, Zotac, EVGA и Gainward.


Как и было намечено, продажи 3D-карт GeForce GTX 1080 Founders Edition стартовали 27 мая. Сообщение об этом стало самой читаемой новостью дня.
Одновременно стало известно, что рекомендованная цена Nvidia GeForce GTX 1080 Founders Edition для России составляет 54 990 рублей, для Украины — 21 490 гривен. В случае модели Nvidia GeForce GTX 1070 Founders Edition, продажи которой должны стартовать 10 июня, рекомендованная цена для России составляет 34 990 рублей, для Украины — 13 690 гривен.
Еще не успели начаться продажи первых 3D-карт Nvidia новой серии, а в сети уже появилась информация о следующих моделях.
Например, по слухам, 3D-карта GeForce GTX 1060 или GTX 1060 Ti получит 6 ГБ памяти.

Анонс модели GeForce GTX 1060 или GTX 1060 Ti, относящейся к среднему ценовому сегменту, ожидается не раньше августа. Считается, что ее основой станет GPU GP104.
Модели GeForce GTX 1080 Ti и GTX Titan нового поколения будут основаны на GPU GP102. По крайней мере, так говорилось в другой популярной майской новости.

Как утверждается, GP102 имеет 3840 ядер CUDA. Процессор в максимальной конфигурации получит модель GTX Titan нового поколения (ее точное название пока неизвестно). Базовая частота GPU составит 1507 МГц, повышенная — 1621 МГц. Эта карта будет оснащена 24 ГБ памяти GDDR5X, подключенной к 384-разрядной шине памяти. Модель GeForce GTX 1080 Ti получит несколько урезанный GPU GP102 с 3456 ядрами CUDA, но его частоты будут такими же, как у старшей модели. Объем памяти будет уменьшен до 12 ГБ.
Хотя в категории популярных новостей о 3D-картах в мае отчетливо преобладали сообщения о продукции Nvidia, были и публикации, посвященные изделиям AMD.
Так в середине месяца появились сведения, что производительность видеокарт с GPU Polaris 10 и Polaris 11 составит 5,5 и 2,5 TFLOPS соответственно.

Если верить неофициальной информации, Polaris 10 получит 32 кластера по 64 потоковых процессора, то есть всего последних будет 2048. По 256-разрядной шине к GPU будет подключено 8 ГБ памяти GDDR5X. У мобильной модели Polaris 11 будет 14 кластеров, то есть 896 потоковых процессора. Шина памяти у этого GPU будет 128-разрядной, а объем памяти GDDR5 составит 4 ГБ.
В тот же день были представлены мобильные видеокарты AMD Radeon R M400, большая часть из которых оказалась переименованными моделями прошлых поколений.

Интересно, что в списке новинок, включающем 11 моделей, явно пропущено несколько позиций. Их выход ожидается позже. Модели Radeon R9 M480 и M480X, предположительно, будут основаны на GPU Polaris 11, а модели Radeon R9 M490 и M490X — на GPU Polaris 10.
Статистика запросов позволят сказать, что даже обилие новостей о 3D-картах не привело к ослаблению интереса к новостям, героями которых были
Смартфоны
В первых числах месяца был представлен смартфон HTC Desire 830. Это устройство стоимостью $310 построено на SoC MediaTek Helio X10 и оснащено 3 ГБ ОЗУ и 32 ГБ флэш-памяти.

Аппарат получил экран Full HD размером 5,5 дюйма, камеры разрешением 13 Мп и 4 Мп, а также стереофонические громкоговорители BoomSound. Устройство размерами 157,5×78,9×7,79 мм работает от аккумулятора емкостью 2800 мА·ч.
Почти одновременно стало известно, что смартфон Meizu MX6 задерживается до второй половины 2016. Ожидается, что это устройство, по параметрами похожее на HTC Desire 830, будет стоить $280. При этом оно получит SoC MediaTek Helio X10 и камеры разрешением 21 и 8 Мп, а емкость аккумулятора будет равна 4000 мА·ч.

Необычно много запросов для новости такого рода набрала новость о том, что представлен смартфон Xiaomi Mi Max и ОС MIUI 8.

Это устройство с металлическим корпусом оснащено дисплеем Full HD размером 6,44 дюйма, который прикрыт стеклом с эффектом 2.5D. По данным Xiaomi, дисплей охватывает 72% цветового пространства NTSC, а его максимальная яркость равна 450 кд/м². В зависимости от модификации, в смартфоне может быть установлена SoC Qualcomm Snapdragon 650 или Snapdragon 652, 3 или 4 ГБ ОЗУ и 32, 64 или 128 ГБ флэш-памяти. Во всех случаях возможна установка карты памяти microSD, правда, ценой отказа от второй карты SIM. При габаритах 173,1×88,3×7,5 мм изделие весит 203 г. Работает смартфон от аккумулятора емкостью 4850 мА·ч.
Накануне открытия выставки Computex 2016 были представлены смартфоны Asus ZenFone 3 Deluxe, ZenFone 3 и ZenFone 3 Ultra. Их анонсу предшествовала массивная утечка, которая содержала почти все технические характеристики устройств.

Модель ZenFone 3 Deluxe с монолитным корпусом из алюминиевого сплава возглавила линейку. Она оснащена дисплеем Full HD типа Super AMOLED размером 5,7 дюйма, который охватывает более 100% цветового пространства NTSC и занимает 79% передней поверхности устройства. Смартфон построен на SoC Snapdragon 820 и оснащен 6 ГБ оперативной памяти и 256 ГБ флэш-памяти. В оснащении устройства также можно отметить стабилизированную камеру разрешением 23 Мп, дактилоскопический датчик и порт USB-C.

У модели ZenFone 3 — экран Full HD типа Super IPS+ размером 5,5 дюйма, защищенный пластиной стекла с закругленными краями Corning Gorilla Glass 2.5D и занимающий 77,3% передней поверхности. Этот аппарат построен на SoC Snapdragon 625 и оснащен 3 или 4 оперативной памяти и 32 или 64 флэш-памяти.

Отличительной чертой модели ZenFone 3 Ultra с алюминиевым корпусом и экраном Full HD размером 6,8 дюйма, занимающим 79% лицевой поверхности, является технология Asus Tru2Life+ Video, суть которой — в обработке изображения 4K UHD с помощью специального процессора. В оснащении устройства можно отметить стереофонические громкоговорители с пятью магнитами каждый и усилитель NXP. Другая интересная особенность ZenFone 3 Ultra — возможность использования смартфона в качестве мобильного аккумулятора с выходным током до 1,5 A (емкость аккумулятора равна 4600 мА·ч). Основой смартфона служит SoC Snapdragon 652. Объем оперативной памяти равен 4 ГБ, флэш-памяти — 128 ГБ.
В последний день месяца в Китае был представлен смартфон Zuk Z2 на SoC Snapdragon 820. Устройство с алюминиевым корпусом и пятидюймовым экраном имеет ширину 68,88 мм — по мнению производителя, это облегчает управление смартфоном одной рукой.

В смартфоне установлена однокристальная система Snapdragon 820, 4 ГБ оперативной и 64 ГБ флэш-памяти. Стоит новинка около $270.
Примерно столько же будет стоить смартфон UMi Super, окончательные характеристики которого появились в мае. Смартфон с цельнометаллическим корпусом будет иметь дисплей размером 5,5 дюйма и разрешением 1920×1080 пикселей. В конфигурацию устройства войдет однокристальная система Mediatek Helio P10 и 4 ГБ оперативной памяти, камеры разрешением 13 и 5 Мп, дактилоскопический датчик, порт USB-C.

В отличие от всех вышеописанных смартфонов, предназначенных для потребителей, смартфон Jolla C будет предназначен для разработчиков. Его планируется выпустить партией из 1000 штук, которые будут разосланы участникам новой программы Sailfish Community Device Program, ориентированной на разработчиков приложений для Sailfish OS.

Основой Jolla C служит однокристальная платформа Qualcomm Snapdragon 212. В конфигурацию аппарата входит 2 ГБ оперативной памяти и 16 ГБ флэш-памяти. В оснащении можно отметить пятидюймовый дисплей разрешением 1280×720 пикселей, два слота для карт SIM, слот microSD, камеры разрешением 2 и 8 Мп. При габаритах 142×72×9,6 мм устройство весит 150 г. Остается добавить, что участие в программе Sailfish Community Device Program стоит 170 евро.
В мае были опубликованы изображения смартфона Moto X4.

На изображениях обращает на себя внимание большой круг на задней панели с модулем основной камеры, вспышкой и лазерным помощником автофокуса, точки по бокам от кнопки Home и два ряда контактов на задней панели. Аппарат имеет форм-фактор, принятый большинством современных смартфонов. В отличие от Moto X4, смартфон Motorola Razr V3, о котором шла речь в еще одной майской заметке, может унаследовать форм-фактор своего известного предшественника.

Впрочем, возможно, что у смартфонов новой линейки, о которой Lenovo собирается рассказать 9 июня, общим с телефонами Motorola Razr будет что-то иное.
Как и в другие месяцы, в мае в числе наиболее активных поставщиков тем для новостей была компания
Apple
В первой половине месяца стало известно, что Apple — больше не самая дорогая компания в мире. Акции Apple подешевели до минимального за два года уровня, в результате чего капитализация компании уменьшилась до 491,3 млрд долларов. Это меньше капитализации компании Alphabet, на данный момент равной 497,3 млрд долларов, так что Apple уступила Alphabet звание самой дорогой компании в мире.

Компания Alphabet уже выходила на первое место в январе, но тогда Apple удалось вскоре снова стать самой дорогой компанией в мире. Кстати, по мнению аналитиков, компания Google, входящая в холдинг Alphabet, может стать первой компанией, капитализация которой превысит 1 трлн долларов.
Не успело затихнуть обсуждение этой новости, как подоспела другая — оказалось, что вслед за Карлом Айканом еще один крупный инвестор продал свои акции Apple. Всего за месяц с середины апреля до середины мая одна акция Apple подешевела с $112 до $90.
Между тем, журнал Time назвал смартфон iPhone «самым влиятельным гаджетом всех времен», который возглавил список из 50 устройств.

Напомним, первый смартфон iPhone был представлен в 2007 году. Хотя на тот момент другие смартфоны уже выпускались, до появления iPhone никто не продвигал форм-фактор с большим сенсорным дисплеем и виртуальной клавиатурой, который вскоре стал доминирующим.
Отметим, что в список попали и другие изделия Apple, включая компьютер Macintosh образца 1984 года, который занял третью строчку, проигрыватель iPod, планшет iPad и ноутбук iBook.
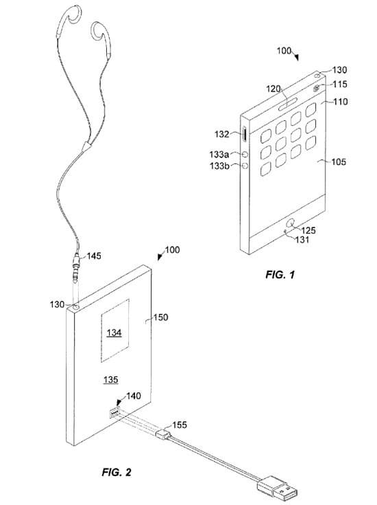
Компания Apple продолжает разработку новаторских технических решений. Например, в начале мая американское патентное бюро выдало компании Apple патент №9331422. Он называется «Электронное устройство со скрытым разъемом». В нем описаны разъемы, прикрытые самовосстанавливающимся эластомером.

По замыслу изобретателей, эластомер скрывает разъем от пользователя и защищает разъем и внутренности устройства от воздействия внешней среды. Пронзая эластомер, штырьки внешнего разъема могут временно обеспечить контакт с разъемом устройства. После извлечения внешнего разъема покрытие восстанавливается за счет свойств материала.
Кстати, по предварительным данным, смартфон iPhone 7 не получит разъем Smart Connector. О наличии Smart Connector в iPhone 7 говорилось в ранних утечках, но сейчас считается, что производитель решил приберечь столько радикальное новшество для iPhone 8. Напомним, данный разъем используется в планшете iPad Pro для передачи данных и питания при подключении принадлежностей, включая Smart Keyboard и Logi Base.

Зато iPhone 7 может получить четыре громкоговорителя, на что указывают опубликованные в мае изображения корпуса устройства.

Если верить недавней публикации в тайваньском издании Economic Daily, Apple рассчитывает на выпуск в этом году 72-78 млн смартфонов iPhone 7. Компания якобы уже обратилась к контрактным производителям с задачей выпустить такое количество устройств. Отметим, что это наибольший объем за последние два года. Аналитики ожидают, что в этом году будет выпущено 65 млн смартфонов iPhone 7.

Сколько всего будет смартфонов iPhone 7 — неизвестно. На 2017 год запланирован выпуск следующей модели. По предварительным сведениям, она получит 10-нанометровый процессор и стеклянный корпус.
Отраслевые источники утверждают, что TSMC уже начала передачу в производство 10-нанометровых процессоров Apple A11.

Первые образцы процессоров заказчик может получить для оценки уже в первом квартале 2017 года, во втором квартале TSMC приступит к выпуску небольших партий Apple A11, а в третьем квартале выпуск этой продукции начнет приносить TSMC доход. Ожидается, что TSMC получит две трети всех заказов на A11.
Наличие планов выпуска в 2017 году стеклянного смартфона iPhone с металлическим шасси подтвердил глава компании Catcher Technology, выпускающей металлические шасси для современных моделей iPhone.
Выступая перед акционерами, он сказал: «Насколько мне известно, всего одна модель iPhone, которая выйдет в следующем году, получит корпус из стекла. Не думаю, что этот шаг Apple окажет негативное влияние на доход Catcher, так как стеклянный корпус по-прежнему будет требовать прочное металлическое шасси, для которого нужно будет использовать продвинутые технологии обработки. В результате цена этой комплектующей детали окажется не ниже, чем для текущих моделей iPhone».

Завершает подборку традиционный раздел
Прочее
Героем новости «Колесо GeoOrbital превращает обычный велосипед в электрический» стала разработка, авторы которой организовали сбор средств на ее воплощение на сайте KickStarter. Моторизованное колесо GeoOrbital, как утверждается, позволяет развить скорость до 30 км/ч и проехать без подзарядки аккумулятора до 30-80 км. Колесо предложено двух размеров: 26 дюймов и 700c (совместимое с велосипедами с колесами диаметром 28 и 29 дюймов), так что его можно будет установить на большинство велосипедов с V-образными тормозами.

Первые участники сбора средств могли получить GeoOrbital за 499 долларов, а общая сумма на момент написания этих слов перевалила за 1 млн долларов. Отгрузка готовых изделий должна начаться в ноябре этого года.
Активное обсуждение вызвала новость о том, что из Windows 10 удалена функциональность Wi-Fi Sense.

Напомним, Wi-Fi Sense позволяет пользователям автоматически обмениваться зашифрованными паролями для доступа к сетям Wi-Fi с теми, кто есть у них в списке контактов. Поддерживаются списки контактов Facebook, Skype и Outlook. По словам Microsoft, описанная возможность не пользуется популярностью, поэтому ее решено было убрать.
С Microsoft связана еще одна популярная новость раздела: Microsoft выпустила кумулятивное обновление для Windows 7.

Обновление доступно для бесплатной загрузки на сайте Microsoft. Производитель уточняет, что оно не является обязательным, а предложено для удобства, чтобы не устанавливать все включенные в него обновления по одному при начале эксплуатации системы.
Следующая новость связана с технологиями получения энергии из возобновляемых источников. Неверное позиционирование зеркал вызвало пожар на крупнейшей в мире солнечной электростанции и частично вывело ее из строя.

Электростанция стоимостью 2,2 млрд долларов включает около 350 000 зеркал, управляемых компьютерами. Они фокусируют солнечный свет на трех котлах электростанции, закрепленных на 150-метровых башнях. Получаемый в результате пар вращает турбины генераторов. Неверно сфокусированные зеркала расплавили электрические кабели, что привело к возгоранию. Сотрудникам станции удалось потушить огонь еще до прибытия пожарных, но башня вышла из строя. Поскольку генераторы второй башни были остановлены в связи с плановым обслуживанием, авария привела к тому, что электростанция, снабжающая электричеством 140 000 домов в Калифорнии, стала вырабатывать только треть своей обычной мощности.
Завершает подборку новость об интересном изобретении. Компания Google предлагает покрывать капоты автомобилей клейким веществом, чтобы удержать пешехода в случае столкновения. До момента столкновения клейкая поверхность будет защищена внешним покрытием, легко разрушаемым в случае удара. Соответствующая заявка на патент была подана в 2014 году.

Такими были наиболее значимые и интересные новости мая. Как будет выглядеть подборка самых читаемых и обсуждаемых новостей первого месяца лета — узнаем примерно через месяц.