Основные темы и самые интересные новости сентября 2015 года
На начало осени традиционно приходится выставка потребительской электроники IFA и анонс новых смартфонов Apple, так что новостей в сентябре хватало.
Хотя выставка IFA 2015 прошла раньше — 2–7 сентября, а мероприятие Apple состоялось 9 сентября, судя по числу запросов и комментариев к соответствующим новостям, для многих читателей оно было более интересным. С него и начнем.
Apple
Новость, в которой можно было следить за трансляцией осенней презентации Apple, к тому же оказалась самой длинной и одной из самых обсуждаемых.

В ходе презентации производитель рассказал об обновлении Watch OS, представил планшет iPad Pro, перо Apple Pencil, приложение Microsoft Word для iPad, iOS 9, телеприставку Apple TV, смартфоны iPhone 6S и 6S Plus.
Казалось бы, выпуск новой продукции должен воодушевить инвесторов? Но не тут-то было. Сразу после презентации акции Apple подешевели на 1,9%, до $110,15.
Фактически, акции Apple продолжают дешеветь с момента публикации отчета за прошлый квартал во второй половине июля. За день до этого акция стоила $132,07.
Наблюдатели полагают, что на Apple давит постоянная необходимость подтверждать свой успех. Вероятно, представленных новинок оказалось недостаточно, чтобы снова удивить Уолл-Стрит.
Всего через несколько дней после презентации Apple iPhone 6S аналитики Bank of America Merrill Lynch попытались оценить, сколько компания Apple платит за используемые в этом смартфоне компоненты. По их подсчетам выходит, что компоненты смартфона Apple iPhone 6S стоят $234.

Больше всего — около $127 — стоят микросхемы, включая $36 за радиочастотные цепи, $25 за однокристальную систему Apple A9, $22 за дактилоскоп и другие датчики, $20 за 64 ГБ флэш-памяти. Другие крупные компоненты, такие как дисплей, камеры и аккумулятор, стоят суммарно почти $74. Еще $33 стоит корпус и другие детали.
Как известно, смартфон iPhone 6S с 64 ГБ флэш-памяти без контракта с оператором стоит $749.
Второй по числу запросов после новости о презентации новой продукции Apple оказалась новость о том, что операционная система OS X El Capitan стала доступна в качестве бесплатного обновления.

В ней рассказывалось о новшествах и улучшениях, реализованных в OS X El Capitan. Отметим, что с операционной системой OS X El Capitan совместимы все компьютеры Mac, выпущенные в 2009 году или позже, и некоторые модели, выпущенные в 2007 и 2008 годах.
Накануне анонса iPhone 6S и 6S Plus в одной из новостей было высказано предположение, что смартфон iPhone 7 может стать самым тонким устройством Apple. Его высказал аналитик компании KGI Securities Мин-Чи Куо (Ming-Chi Kuo), который неоднократно первым публиковал достоверную информацию о новых iPhone. По словам Мин-Чи Куо, толщина iPhone 7 будет равна 6,0-6,5 мм.
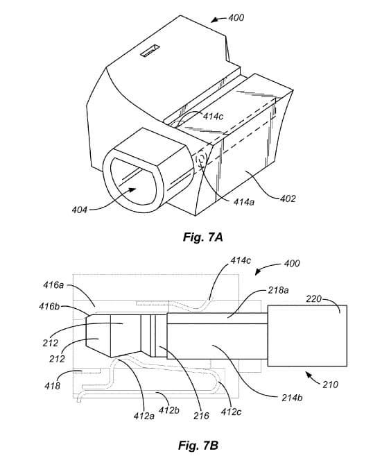
В Apple постоянно работают над уменьшением толщины мобильных устройств. Свидетельством этому — новость о том, что Apple запатентовала звуковой разъем уменьшенной толщины.

Как видно на иллюстрации, для уменьшения толщины авторы изобретения предлагают сделать продольный срез на боковой поверхности разъема, напоминающего привычный разъем TRS. Конечно, соответствующим образом должна быть подкорректирована форма приемной части.
Учитывая, что на вооружении Apple уже есть более компактный разъем, маловероятно, что разработка, описанная в патенте, заявка на который была подана еще в 2011 году, найдет применение на практике.
Смартфоны
В начале месяца был представлен смартфон Lenovo Vibe S1, оснащенный двумя камерами на фронтальной панели.

Фронтальные камеры Vibe S1 разрешением 2 и 8 Мп работают парой. Это позволяет «расфокусировать» часть кадра уже после съемки или вырезать изображение человека и наложить его на любое другое изображение.
Основная камера аппарата имеет разрешение 13 Мп.
Смартфон на однокристальной системе MediaTek MT6752 оснащен 3 ГБ оперативной памяти и 32 ГБ флэш-памяти. Есть слот microSD. Пятидюймовый экран устройства имеет разрешение Full HD. Сроком начала продаж Vibe S1 назван ноябрь, а стоит новинка примерно $300.
Почти одновременно с Lenovo Vibe S1 были представлены смартфоны Sony Xperia Z5, Xperia Z5 Compact и Xperia Z5 Premium.
Общей чертой всех трех моделей флагманской линейки стала камера разрешением 23 Мп, в которой используется датчик изображения Exmor RS формата 1/2,3 дюйма и широкоугольный объектив (ЭФР 24 мм) F2.0 G. Производитель отмечает использование процессора изображений Bionz и гибридной системы автофокусировки, обеспечивающей быструю и точную фокусировку. Кроме того, аппараты Xperia Z5 могут похвастать обновленной версией технологии стабилизации SteadyShot с новым режимом Intelligent Active Mode. Камера способна снимать видео 4К.

Наиболее интересной в тройке является модель Xperia Z5 Premium — первый в мире смартфон, оснащенный дисплеем 4K. Разрешение, равное 3840×2160 пикселям, и размер 5,5 дюйма по диагонали соответствуют плотности 806 пикселей на дюйм. Тип экрана — IPS.
Смартфоны Xperia Z5 и Z5 Compact должны появиться в продаже в октябре, Xperia Z5 Premium — в ноябре этого года. Модели Xperia Z5 и Xperia Z5 Premium будут доступны в вариантах с одной картой SIM и с двумя.
Едва успела компания Sony представить модели Sony Xperia Z5, Xperia Z5 Compact и Xperia Z5 Premium, как появились первые сведения о модели Sony Xperia Z5 Compact Premium, которая получит Full HD и 4 ГБ оперативной памяти.

По предварительным сведениям, модель Sony Xperia Z5 Compact Premium будет предложена по каналам японского сотового оператора NTT DoCoMo.
Среди сентябрьских новинок, которым досталось повышенное читательское внимание, есть и продукция лидера отрасли. Так, 11 сентября самой популярной новостью оказалась публикация под заголовком «Samsung Galaxy J2 — бюджетный смартфон с новой платформой и ОС Android 5.1».

Устройство стоимостью около $130 построено на однокристальной системе Exynos 3475 и оснащено дисплеем Super AMOLED размером 4,7 дюйма и разрешением 960×540 пикселей. В конфигурацию аппарата входит 1 ГБ оперативной памяти и 8 ГБ флэш-памяти. В оснащении можно отметить слот microSD и два слота для карт SIM.
К бюджетной категории относится смартфон Gionee Pioneer P3S, который, как было сказано в новости о нем, «может порадовать ОС Android 5.1».

За $90 покупатель получает смартфон на SoC MediaTek MT6582 с 1 ГБ оперативной памяти и 16 ГБ флэш-памяти. Экран диагональю 4,5 дюйма имеет разрешение 854×480 пикселей. Аппарат оснащен камерами разрешением 0,3 и 5 Мп. При габаритах 133×67,4×11,2 мм он весит 161 г. Предусмотрен выпуск четырех вариантов цветового оформления, показанных на иллюстрации.
Если Gionee Pioneer P3S «может порадовать», то герой следующей новости, вероятно, способен привести в восторг. Дело в том, что смартфон Elephone P9000 получит операционную систему Android 6.0.

Смартфон на однокристальной системе Mediatek Helio P10 будет предложен в трех модификациях. Старшая получит дисплей Full HD диагональю 5,5 дюйма, камеру разрешением 21 Мп, дактилоскопический датчик, 4 ГБ оперативной памяти и 32 ГБ флэш-памяти. Модификация Elephone P9000 Lite будет отличаться уменьшенным вдвое объемом флэш-памяти. Модификация Elephone P9000c, кроме того, будет лишена дактилоскопа, а разрешение основной камеры у нее будет равно 13 Мп.
Выпуск Elephone P9000 пока только планируется, но первые аппараты с ОС Android 6.0 уже представлены. Один из них — смартфон Google Nexus 6P.

Основными элементами конфигурации Смартфон Nexus 6P служат SoC Qualcomm Snapdragon 810, 3 ГБ оперативной памяти LPDDR4 и 32, 64 или 128 ГБ флэш-памяти. Расширение постоянной памяти с помощью карточки не предусмотрено. Размер дисплея Nexus 6P равен 5,7 дюйма. В нем используется панель типа AMOLED разрешением 2560×1440 пикселей, защищенная закаленным стеклом Gorilla Glass 4 с олеофобным покрытием. В оснащении устройства можно выделить модем LTE Category 6, адаптер Wi-Fi 802.11ac, порт USB C и камеры разрешением 8 и 12,3 Мп. Основная камера поддерживает съемку видео 4K с частотой 30 к/с. В Европе цены на Nexus 6P стартуют с отметки 650 евро.
Умные часы
Умные часы постепенно завоевывают себе место на рынке, и к выпуску этих устройств приступает все больше производителей. Об этом свидетельствует увеличение числа соответствующих новостей.
Среди них — «сенсационное» сообщение о том, что разборка часов Huawei Watch позволила обнаружить внутри устройства неиспользуемый элемент.
Как утверждается, в часах есть динамик. В то же время, ни одна из функций часов его не задействует. Возможно, разработчики оставили задел на будущее, и звуковой излучатель пригодится в одном из обновлений программного обеспечения. Напомним, часы Huawei Watch работают под управлением ОС Android Wear.
Под управлением Android Wear будут также работать часы Elephone Ele Watch, попавшие в новости в конце месяца.

Часы получат круглый дисплей диаметром 1,5 дюйма и разрешением 320×320 точек, и внешне они будут очень похожи на обычные часы. Когда часы появятся на рынке, и сколько они будут стоить — пока неизвестно.
Далеко не все производители выбирают для умных часов платформу Android Wear. Например, умные часы Zeaplus Watch K18 работают под управлением ОС Android 4.4.2

Аппаратной основой Zeaplus Watch K18 служит SoC MediaTek c процессором, работающим на частоте 1,2 ГГц. В его распоряжении находится 512 МБ оперативной памяти и 4 ГБ флэш-памяти. Стоимость Zeaplus Watch K18 и срок начала продаж пока неизвестны.
Эти данные известны применительно к умным часам Omate TrueSmart+, которые работают под управлением ОС Android 5.1.

Часы TrueSmart+ стоят $170, а их продажи должны стартовать в октябре. За указанную сумму покупатель получает устройство с 1 ГБ ОЗУ, 8 ГБ флэш-памяти и квадратным экраном разрешения 320×320 пикселей.
Процессоры
В этом разделе всего две новости, и обе они посвящены продукции компании Intel.
Во-первых, перед началом выставки IFA 2015 были представлены процессоры Intel Core шестого поколения. В них используется микроархитектура Skylake, а выпускаются новые процессоры по 14-нанометровому техпроцессу.

Во-вторых, руководство Intel признало отсрочку Broadwell ошибкой

Процессоры Broadwell были готовы еще в прошлом году, но в Intel решили не спешить, и вместо этого сделать промежуточный шаг в виде обновления процессоров Haswell. Взяв отсрочку, в Intel сэкономили на НИОКР, но момент был выбран не самый подходящий — со времени окончания поддержки Windows XP у потребителей больше не было стимулов к обновлению ПК. В результате финансовые показатели компании ухудшились: во втором квартале продажи настольных процессоров сократились на 22%. Между тем, рынок настольных процессоров для Intel — это более 10 млрд долларов в год.
Прочее
Если попытаться выстроить семь наиболее популярных новостей этой категории по числу запросов, список начнется с новости о том, как Сюрпляс велосипедиста привел беспилотный автомобиль Google в замешательство.

Источником новости послужил рассказ одного из участников форума велосипедистов Roadbikereview. Герой истории подъехал к перекрестку со знаками со всех четырех сторон, запрещающими проезд без остановки, почти одновременно с беспилотным автомобилем Google. Автомобиль остановился, чтобы пропустить велосипедиста. Велосипедист, в свою очередь, встал в сюрпляс. Как только автомобиль тронулся, велосипедист, чтобы удержать равновесие, тоже немного сдвинулся с места, заставив автомобиль затормозить. В течение нескольких минут повторялась одна и та же последовательность: автомобиль трогался и останавливался, хотя велосипедист «танцевал» на месте. По словам велосипедиста, за это время машина так и не добралась до середины перекрестка. Этот случай показывает, насколько поведение программы, управляющей автономным автомобилем, отличается от поведения реального водителя.
На шестом месте находится новость Canyon Smart Bike Computer — первый велокомпьютер на основе ОС Android Wear, в которой тоже упоминаются велосипеды.
К достоинствам велокомпьютера Canyon Smart Bike Computer его создатели относят возможность расширения функциональности в процессе эксплуатации за счет установки дополнительных приложений.

Компьютер с приемником GPS и сенсорным дисплеем размером 1,6 дюйма по диагонали крепится на руле. Он защищен от механических и атмосферных воздействий. Предусмотрено сопряжение с мобильными устройствами по Bluetooth, но Canyon Smart Bike Computer можно использовать и отдельно. Без подзарядки компьютер работает 8-10 часов. Решение о серийном выпуске пока не принято.
Пятое место занимает новость про полнокадровую беззеркальную камеру Sony a7S II, которая поддерживает видео 4К.

Как и модель Sony a7 II (ILCE-7M2), новая камера оснащена системой стабилизации по пяти «осям» (степеням свободы). Разрешение Sony a7S II равно 12,2 Мп. Пользователю доступен диапазон светочувствительности ISO 100-102400, расширяемый до ISO 50-409600, причем, по словам производителя, даже при максимальной светочувствительности обеспечивается низкий уровень шума и широкий динамический диапазон.
Что касается видеосъемки с разрешением 4К (3840×2160 пикселей), можно выбрать кадровую частоту 24, 35 или 30 к/с. Уменьшив разрешение до Full HD (1920×1080 пикселей), можно повысить кадровую частоту до 50, 60, 100 и даже 120 к/с. Видео 4К кодируется в формате XAVC S со скоростью потока до 100 Мбит/с. Для Full HD можно выбрать XAVC S, AVCHD или MP4. При съемке видео доступны новые профили S-Gamut3.Cine/S-Log3 и S-Gamut3/S-Log3, которые обеспечивают широкий динамический диапазон. Также камера поддерживает профиль S-Gamut/S-Log2, популярный у энтузиастов видеосъемки.
Продажи Sony a7S II в Европе должны начаться в ноябре по цене 3400 евро.
На четвертой позиции списка расположилась публикация о том, что Microsoft приобретает разработчиков ПО Echo Notification Lockscreen для ОС Android.
Хотя у Microsoft есть подобное ПО — Next LockScreen, в компании рассчитывают, что приобретение поможет обогатить разработку новыми идеями. В целом же, по словам Microsoft, экран блокировки интересен тем, что предоставляет место для индивидуализации аппарата.
Третье место принадлежит новости, в которой утверждается, что в Facebook добавят кнопку Dislike.

Хотя основатель крупнейшей социальной сети в мире Марк Цукерберг (Mark Zuckerberg) еще в конце прошлого года утверждал, что разработчики не планируют добавлять в Facebook кнопку Dislike, он все-таки изменил свое мнение, поскольку найти более удачный способ пользователям выражать не только позитивные эмоции не удалось. Когда именно пессимисты получат свою кнопку, пока неизвестно.
Зато известно, что Роскомнадзор готов заплатить за систему контроля блокировки запрещенных ресурсов «Ревизор» более 100 млн рублей. Об этом шла речь в новости, занявшей по числу запросов второе место.

Роскомнадзор давно контролирует и блокирует запрещенные доменные имена, страницы сайтов и сетевые адреса, но пока эта работа ведется фактически в ручном режиме. Победителю тендера, организованного Роскомнадзором, предстоит создать автоматизированную систему контроля, которая будет включать аппаратную часть (зонды) и программное обеспечение.
Самой читаемой в категории «Прочее» оказалась новость о том, что подписчики платной версии YouTube без рекламы получат в подарок доступ к сервису Music Key. Она и завершает сегодняшнюю подборку.
Такими были наиболее читаемые и обсуждаемые новости сентября. Какие публикации попали в октябрьскую подборку, можно будет узнать примерно через месяц.
Другие интересные новости месяца вы найдете в новом номере нашего ежемесячного бесплатного журнала для планшетов и смартфонов iТоги. Также в каждом номере вас ждут аналитические материалы, мнения экспертов, тестирования устройств, обзоры игр и софта. Полное содержание журнала и ссылки на скачивание доступны здесь: http://mag.ixbt.com.