Конференция
Блоги
Игры
Маркет
Про бизнес
Еще
Другие проекты
Конференция
Старейший и крупнейший в рунете форум о технике
Блоги
Впечатления о технике из первых рук на Блоги
Игры
Компьютерные игры и не только на Игры
Маркет
Скидки, купоны, тесты магазинов
ПроБизнес
Новости и обзоры решений для малого и среднего бизнеса
Мерч
IXBT
Войти
Новости
Статьи
Видеокарты и мониторы
Мобильные устройства
Ноутбуки и планшеты
Платформа ПК
Комфортный дом
Все темы
$refs.search?.focus())" aria-label="Очистить поиск" >
Статьи
Видеокарты и мониторы
iT-среда
Мобильные устройства
Ноутбуки и планшеты
Носители информации
Платформа ПК
Приложения и утилиты
Принтеры и периферия
Профессиональное аудио
Проекторы и ТВ
Сети и серверы
Hi-Fi и мультимедиа
Цифровое видео
Цифровое фото
Корпуса, БП и ИБП
Автомобили
Комфортный дом
Новости
Процессоры
Системные платы, память, чипсеты
Цифровое фото
Ноутбуки и планшеты
Мониторы
Техника Apple
Мобильные телефоны
Настольные ПК
Видеокарты
Корпуса, системы питания и охлаждения
Носители информации
Прочие новости
Принтеры и периферия
Сети и серверы
Авто и транспорт
Телевизоры и проекторы
Аудио и звук
Программное обеспечение
Комфортный дом
Цифровое видео
Законы и новости рынка
Криптовалюты
Наука и космос
Авиация
Электротранспорт
Носимая электроника
Консоли и игры
Информационная безопасность
Финансы
Искусственный интеллект
Новости
Сегодня
Лента
Процессоры
Системные платы, память, чипсеты
Цифровое фото
Ноутбуки и планшеты
Мониторы
Техника Apple
Мобильные телефоны
Настольные ПК
Видеокарты
Корпуса, системы питания и охлаж...
Носители информации
Прочие новости
Принтеры и периферия
Сети и серверы
Авто и транспорт
Телевизоры и проекторы
Аудио и звук
Программное обеспечение
Комфортный дом
Цифровое видео
Законы и новости рынка
Криптовалюты
Наука и космос
Авиация
Электротранспорт
Носимая электроника
Консоли и игры
Информационная безопасность
Финансы
Искусственный интеллект
Статьи
Свежие
Видеокарты и мониторы
iT-среда
Мобильные устройства
Ноутбуки и планшеты
Носители информации
Платформа ПК
Приложения и утилиты
Принтеры и периферия
Профессиональное аудио
Проекторы и ТВ
Сети и серверы
Hi-Fi и мультимедиа
Цифровое видео
Цифровое фото
Корпуса, БП и ИБП
Автомобили
Комфортный дом
Наши проекты
Конференция
Остальные проекты
Блоги
Игры
Маркет
ПроБизнес
Новости
Цифровое фото
Новости по теме
Список
Цифровое фото
Загрузка...
FinePix F401 Zoom от Fujifilm
Цифровое фото
0
30 мая 2002 12:35
Sony выпустила две новые камеры низшего ценового диапазона, DSC-P2 и DSC-P7
Цифровое фото
0
29 мая 2002 09:35
Цифровая фотография, принтеры и картриджи: что день грядущий нам готовит
Цифровое фото
0
24 мая 2002 19:36
Новая цифровая камера CX4230 от Kodak
Цифровое фото
0
22 мая 2002 14:17
Nikon объявила сроки поставки и цену камеры D100
Цифровое фото
0
18 мая 2002 09:07
Пополнение линейки цифровых камер CD Mavica от Sony с CD-R/RW
Цифровое фото
0
18 мая 2002 08:47
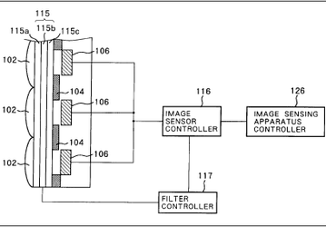
Патент Canon на новый тип светочувствительного сенсора
Цифровое фото
0
16 мая 2002 13:24
Olympus CAMEDIA C-720 Ultra Zoom: 3-мегапиксельная цифровая камера весом всего 340 г
Цифровое фото
0
08 мая 2002 19:46
Бюджетная 3-мегапиксельная камера C-300 Zoom от Olympus
Цифровое фото
0
08 мая 2002 10:21
Одночиповые камеры Micron
Цифровое фото
0
06 мая 2002 21:01
Nixvue Vista: 20 Гб фотографий в кармане
Цифровое фото
0
29 апр 2002 14:42
Миниатюрная цифровая CMOS камера от Hitachi
Цифровое фото
0
26 апр 2002 15:24
Pocket Digital от Logitech
Цифровое фото
0
18 апр 2002 10:16
LS-420: новая ультракомпактная камера от Kodak
Цифровое фото
0
15 апр 2002 10:35
Новые сроки начала продаж FinePix S602
Цифровое фото
0
12 апр 2002 10:09
2-мегапиксельная камера Revio KD-210Z от Konica
Цифровое фото
0
11 апр 2002 11:40
Цифровой бинокль-камера DIGIBINO от Pentax
Цифровое фото
0
11 апр 2002 09:30
Миниатюрная камера DC300mini от BenQ
Цифровое фото
0
11 апр 2002 02:49
Новые web-камеры Trust
Цифровое фото
0
08 апр 2002 13:46
Цифровая видео камера DCR-TRV950 от Sony
Цифровое фото
0
05 апр 2002 03:55
Pentax 230: 2-мегапиксельная камера с некоторыми возможностями стереофотографии
Цифровое фото
0
21 мар 2002 18:38
FujiFilm и SMaL представят самую маленькую в мире цифровую камеру
Цифровое фото
0
16 мар 2002 14:32
CeBIT 2002: цифровая камера Exilim с функциями проигрывателя МР3
Цифровое фото
0
14 мар 2002 19:45
CeBIT 2002: Olympus CAMEDIA C-120 и C-220 Zoom
Цифровое фото
0
14 мар 2002 13:55
Цифровые камеры DSC-P71 и DSC-P31 от Sony
Цифровое фото
0
14 мар 2002 05:35
Видео камеры с записью на 8 см DVD диски от Hitachi
Цифровое фото
0
14 мар 2002 05:05
CeBIT 2002: Canon DIGITAL IXUS 330 / S330 DIGITAL ELPH
Цифровое фото
0
13 мар 2002 18:38
CeBIT 2002: Canon DIGITAL IXUS v² / S200 DIGITAL ELPH
Цифровое фото
0
13 мар 2002 17:56
CeBIT 2002: Minolta DiMAGE F100
Цифровое фото
0
13 мар 2002 16:17
CeBIT 2002: Minolta представила DiMAGE 7i
Цифровое фото
0
13 мар 2002 14:26
CeBIT 2002: 50-граммовая цифровая камера от BenQ
Цифровое фото
0
13 мар 2002 11:18
4-мегапиксельная DSC-P9 от Sony
Цифровое фото
0
12 мар 2002 15:16
2-мегапиксельная CAMEDIA C-2 Zoom от Olympus
Цифровое фото
0
12 мар 2002 08:37
Пополнение линейки камер DMC-F7 от Matsushita
Цифровое фото
0
11 мар 2002 13:25
2,1-мегапиксельная LUMIX DMC-LC20 от Matsushita
Цифровое фото
0
10 мар 2002 09:13
4-мегапиксельная LUMIX DMC-LC40 от Matsushita
Цифровое фото
0
10 мар 2002 09:10
5-мегапиксельная камера d530 flex от Rollei
Цифровое фото
0
09 мар 2002 18:33
3,2-мегапиксельная Allegretto 3310 от Toshiba
Цифровое фото
0
05 мар 2002 16:57
Новые цифровые камеры от Samsung
Цифровое фото
0
28 фев 2002 00:51
Цифровая камера DSC-MZ2 от Sanyo
Цифровое фото
0
27 фев 2002 15:14
16,6-мегапиксельная CCD матрица и камеры от Kodak
Цифровое фото
0
26 фев 2002 13:31
Motorola использует технологии Kodak в своих CMOS сенсорах
Цифровое фото
0
26 фев 2002 10:27
Две новых цифровых камеры от Konica
Цифровое фото
0
26 фев 2002 02:52
4-мегапиксельная камера Digilux 1 от Leica
Цифровое фото
0
25 фев 2002 11:58
Toshiba PDR-T10: цифровые камеры перенимают телефонные концепции
Цифровое фото
0
25 фев 2002 01:28
PowerShot A30 и A40: новые камеры начального уровня от Canon
Цифровое фото
0
25 фев 2002 00:59
Полупрофессиональная камера EOS-D60 от Canon
Цифровое фото
0
25 фев 2002 00:42
Новый фотопринтер CP-100 от Canon
Цифровое фото
0
25 фев 2002 00:21
Цифровая камера PowerShot A100 от Canon
Цифровое фото
0
24 фев 2002 02:51
Комплект PowerShot G2 Black Kit от Canon
Цифровое фото
0
24 фев 2002 02:47
Показано с
6601
по
6650
из
6659
результатов
1
2
...
125
126
127
128
129
130
131
132
133
134
Видео