Компания AMD уже три поколения выпускает процессоры Ryzen X3D с дополнительной кеш-памятью третьего уровня. Новые патенты показывают, что AMD работает над аналогичной технологией для кеша L2.
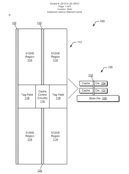
Патент под названием Balanced Latency Stacked Cache описывает методы реализации кеш-памяти с балансной задержкой и стекированием, в котором система стекирования включает первый кристалл кеша и, по меньшей мере, второй кристалл кеша, расположенные в стеке с первым.
Как и в случае с L3, такое решение позволит расширить объём кеш-памяти L2 посредством микросхем, размещённых сверху или снизу основного кристалла. Стоит помнить, что объём кеш-памяти второго уровня в разы меньше, так что и чип, вероятно, будет очень небольшим. К примеру, у флагманского Ryzen 9 9950X имеется 64 МБ кеш-памяти третьего уровня и только 16 МБ кеша L2. Впрочем, из патента понятно, что AMD рассматривает варианты размещения нескольких чипов памяти для увеличения кеша L2.
В частности, в одном из примеров используется модуль кеша с четырьмя областями по 512 КБ, что в сумме составляет 2 МБ L2. Этот комплекс может быть расширен по мере необходимости, и на блок-схеме показаны примеры с объемом до 4 МБ.
Как всегда, пока это лишь патент, так что неясно, реализует ли AMD когда-либо такое решение.

