Конференция
Блоги
Игры
Маркет
Про бизнес
Еще
Другие проекты
Конференция
Старейший и крупнейший в рунете форум о технике
Блоги
Впечатления о технике из первых рук на Блоги
Игры
Компьютерные игры и не только на Игры
Маркет
Скидки, купоны, тесты магазинов
ПроБизнес
Новости и обзоры решений для малого и среднего бизнеса
Мерч
IXBT
Войти
Новости
Статьи
Видеокарты и мониторы
Мобильные устройства
Ноутбуки и планшеты
Платформа ПК
Комфортный дом
Все темы
$refs.search?.focus())" aria-label="Очистить поиск" >
Статьи
Видеокарты и мониторы
iT-среда
Мобильные устройства
Ноутбуки и планшеты
Носители информации
Платформа ПК
Приложения и утилиты
Принтеры и периферия
Профессиональное аудио
Проекторы и ТВ
Сети и серверы
Hi-Fi и мультимедиа
Цифровое видео
Цифровое фото
Корпуса, БП и ИБП
Автомобили
Комфортный дом
Новости
Процессоры
Системные платы, память, чипсеты
Цифровое фото
Ноутбуки и планшеты
Мониторы
Техника Apple
Мобильные телефоны
Настольные ПК
Видеокарты
Корпуса, системы питания и охлаждения
Носители информации
Прочие новости
Принтеры и периферия
Сети и серверы
Авто и транспорт
Телевизоры и проекторы
Аудио и звук
Программное обеспечение
Комфортный дом
Цифровое видео
Законы и новости рынка
Криптовалюты
Наука и космос
Авиация
Электротранспорт
Носимая электроника
Консоли и игры
Информационная безопасность
Финансы
Искусственный интеллект
Новости
Сегодня
Лента
Процессоры
Системные платы, память, чипсеты
Цифровое фото
Ноутбуки и планшеты
Мониторы
Техника Apple
Мобильные телефоны
Настольные ПК
Видеокарты
Корпуса, системы питания и охлаж...
Носители информации
Прочие новости
Принтеры и периферия
Сети и серверы
Авто и транспорт
Телевизоры и проекторы
Аудио и звук
Программное обеспечение
Комфортный дом
Цифровое видео
Законы и новости рынка
Криптовалюты
Наука и космос
Авиация
Электротранспорт
Носимая электроника
Консоли и игры
Информационная безопасность
Финансы
Искусственный интеллект
Статьи
Свежие
Видеокарты и мониторы
iT-среда
Мобильные устройства
Ноутбуки и планшеты
Носители информации
Платформа ПК
Приложения и утилиты
Принтеры и периферия
Профессиональное аудио
Проекторы и ТВ
Сети и серверы
Hi-Fi и мультимедиа
Цифровое видео
Цифровое фото
Корпуса, БП и ИБП
Автомобили
Комфортный дом
Наши проекты
Конференция
Остальные проекты
Блоги
Игры
Маркет
ПроБизнес
Новости
09 января 2022
Новости за дату
Список
Все категории
Загрузка...
В этот день в 2007 году Стив Джобс представил телефон, изменивший мир. iPhone исполнилось 15 лет
iPhone стал революционным устройством
Мобильные телефоны
79
09 янв 2022 23:59
Xiaomi Mix 4 и Xiaomi Pad 5 получили финальную версию MIUI 13
Она вышла в Китае
Мобильные телефоны
5
09 янв 2022 23:46
Ethereum упала на 15%, а Bitcoin – на 9%. Криптовалюты переживают серьезный удар в начале 2022 года
Падение крипторынка обусловлено двумя факторами
Прочие новости
35
09 янв 2022 23:33
Tecno представила телеобъектив для съемки макро с 5-кратным оптическим зумом. Он появится в смартфоне Tecno уже в этом году
Объектив выдвигается из корпуса
Мобильные телефоны
7
09 янв 2022 23:29
Корпус Akasa Machina N предназначен для одноплатного компьютера Nvidia Jetson Nano
Он обеспечивает пассивное охлаждение однокристальной системы
Корпуса, системы питания и охлаждения
2
09 янв 2022 22:40
Brain Corp и Tennant научили роботов-уборщиков вести складской учет в магазинах
Для этого их необходимо оборудовать устройствами Inventory Scan
Прочие новости
4
09 янв 2022 20:46
Анонсирован выпуск маршрутизатора MSI RadiX AXE6600
Этот маршрутизатор работает в трех частотных диапазонах
Сети и серверы
5
09 янв 2022 19:29
Применение нейронной сети в процессоре изображения Ambarella CV2 позволило улучшить его работу в десятки раз
По словам производителя, это прорыв
Прочие новости
9
09 янв 2022 19:19
Сбор образцов марсоходом Perseverance приостановлен
Обломки породы заблокировали карусель бура
Прочие новости
12
09 янв 2022 18:46
ЕС планирует принять закон, обязывающий технологические компании делать больше для борьбы с сексуальным насилием над детьми
Европейский комиссар по внутренним делам Илва Йоханссон
Прочие новости
37
09 янв 2022 18:31
Ambarella CV3 — автомобильные однокристальные системы, оптимизированные для алгоритмов ИИ
Они предназначены для систем помощи водителю и автономных транспортных средств четвертого уровня
Прочие новости
4
09 янв 2022 18:05
Вентилятор Thermaltake Riing Trio 12 RGB Transform Radiator комплектуется второй крыльчаткой
Это дает больше гибкости в установке вентилятора
Корпуса, системы питания и охлаждения
9
09 янв 2022 15:44
Ноутбук с новейшими процессорами Intel и массой менее 1 кг. Представлен Lenovo ThinkPad X1 Nano Gen 2
Цена стартует с 1660 долларов
Ноутбуки и планшеты
74
09 янв 2022 13:26
Tesla создаст игровой контроллер для своих электромобилей
Но не для управления авто, а для игр на бортовой мультимедийной системе
Прочие новости
22
09 янв 2022 13:22
Развертывание главного зеркала космического телескопа «Джеймс Уэбб» завершено
Впереди — его настройка и третья коррекция курса
Прочие новости
50
09 янв 2022 13:07
Китайский эксклюзив в виде Core i5-12490F протестировали в Geekbench. Остальным странам можно не сожалеть об отсутствии такого CPU в гамме Alder Lake
Производительность – на уровне обычного i5-12400
Процессоры
12
09 янв 2022 12:59
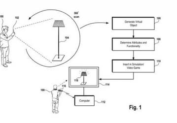
Sony ожидает патент на 3D-сканер, который помещает объекты реального мира в виртуальную реальность
3D-сканер позволит сканировать не только небольшие объекты, но даже довольно крупные.
Прочие новости
3
09 янв 2022 12:53
Компания Samsung закрыла магазин приложений Tizen
Последние полгода он уже работал с ограничениями
Мобильные телефоны
36
09 янв 2022 12:42
OnePlus 10 Pro получил аккумулятор емкостью 5000 мА·ч. Новинка позирует на видео вживую
Официальная премьера – уже на следующей неделе
Мобильные телефоны
14
09 янв 2022 12:34
Nikola Motors отозвала иск против Tesla на 2 млрд долларов
Стороны отказались от всех взаимных претензий и отозвали встречные иски
Прочие новости
0
09 янв 2022 12:31
Когда 4 современных ядра заметно быстрее 6 старых ядер в играх. 100-долларовый Intel Core i3-12100F превзошел 200-долларовый AMD Ryzen 5 3600
Core i3-12100F с материнской платой на чипсете Intel H610 и памятью DDR4 – хороший вариант доступной игровой системы
Процессоры
212
09 янв 2022 12:11
Пользователи в восторге от Xiaomi 12X
Удешевленный вариант Xiaomi 12 получил массу хвалебных отзывов на площадке JD.com
Мобильные телефоны
35
09 янв 2022 03:08
Ethereum падает, а видеокарты дешевле не становятся. За GeForce RTX 3090 на eBay просят 6000 долларов
Причем нет особой разницы, референсная это версия или нет
Видеокарты
77
09 янв 2022 02:53
Ford пытается бороться со спекулянтами, запрещая перепродажу пикапов F-150 Lightning
Компания использует стратегию, в свое время опробованную на суперкарах
Авто и транспорт
40
09 янв 2022 02:03
Google запретили импортировать в США продукцию, нарушающую патенты компании Sonos
Google может импортировать изделия, в которые внесены изменения
Прочие новости
5
09 янв 2022 01:33
Раньше
2022-01-09
Позже
Видео