Конференция
Блоги
Игры
Маркет
Про бизнес
Еще
Другие проекты
Конференция
Старейший и крупнейший в рунете форум о технике
Блоги
Впечатления о технике из первых рук на Блоги
Игры
Компьютерные игры и не только на Игры
Маркет
Скидки, купоны, тесты магазинов
ПроБизнес
Новости и обзоры решений для малого и среднего бизнеса
Мерч
IXBT
Войти
Новости
Статьи
Видеокарты и мониторы
Мобильные устройства
Ноутбуки и планшеты
Платформа ПК
Комфортный дом
Все темы
$refs.search?.focus())" aria-label="Очистить поиск" >
Статьи
Видеокарты и мониторы
iT-среда
Мобильные устройства
Ноутбуки и планшеты
Носители информации
Платформа ПК
Приложения и утилиты
Принтеры и периферия
Профессиональное аудио
Проекторы и ТВ
Сети и серверы
Hi-Fi и мультимедиа
Цифровое видео
Цифровое фото
Корпуса, БП и ИБП
Автомобили
Комфортный дом
Новости
Процессоры
Системные платы, память, чипсеты
Цифровое фото
Ноутбуки и планшеты
Мониторы
Техника Apple
Мобильные телефоны
Настольные ПК
Видеокарты
Корпуса, системы питания и охлаждения
Носители информации
Прочие новости
Принтеры и периферия
Сети и серверы
Авто и транспорт
Телевизоры и проекторы
Аудио и звук
Программное обеспечение
Комфортный дом
Цифровое видео
Законы и новости рынка
Криптовалюты
Наука и космос
Авиация
Электротранспорт
Носимая электроника
Консоли и игры
Информационная безопасность
Финансы
Искусственный интеллект
Новости
Сегодня
Лента
Процессоры
Системные платы, память, чипсеты
Цифровое фото
Ноутбуки и планшеты
Мониторы
Техника Apple
Мобильные телефоны
Настольные ПК
Видеокарты
Корпуса, системы питания и охлаж...
Носители информации
Прочие новости
Принтеры и периферия
Сети и серверы
Авто и транспорт
Телевизоры и проекторы
Аудио и звук
Программное обеспечение
Комфортный дом
Цифровое видео
Законы и новости рынка
Криптовалюты
Наука и космос
Авиация
Электротранспорт
Носимая электроника
Консоли и игры
Информационная безопасность
Финансы
Искусственный интеллект
Статьи
Свежие
Видеокарты и мониторы
iT-среда
Мобильные устройства
Ноутбуки и планшеты
Носители информации
Платформа ПК
Приложения и утилиты
Принтеры и периферия
Профессиональное аудио
Проекторы и ТВ
Сети и серверы
Hi-Fi и мультимедиа
Цифровое видео
Цифровое фото
Корпуса, БП и ИБП
Автомобили
Комфортный дом
Наши проекты
Конференция
Остальные проекты
Блоги
Игры
Маркет
ПроБизнес
Новости
06 декабря 2020
Новости за дату
Список
Все категории
Загрузка...
Разгон 4 с до 100 км/ч и запас хода 500 км. В Китае стартуют продажи убийцы Aurus Komendant - большого недорогого электрического кроссовера Hongqi E-HS9
Hongqi E-HS9 получился одновременно и внушительным, и мощным, и экологически чистым
Авто и транспорт
40
06 дек 2020 23:55
Nvidia не может устранить кризис поставок GeForce RTX 3080. Поставки RTX 3060 Ti тоже сильно отстают от запланированных
И даже GTX 1660 Super производится меньше, чем нужно
Видеокарты
42
06 дек 2020 23:21
Возможно, это самый красивый «гоночный дрон». DJI FPV Combo на живых фото
DJI готовит к выпуску маленький квадрокоптер с FPV-системой
Прочие новости
13
06 дек 2020 22:48
Реальная стоимость PlayStation 5 или что делать, если вы уже наигрались и не прочь подзаработать на перепродаже консоли
За PlayStation 5 можно выручить в два раза больше ее стоимости в магазине
Прочие новости
14
06 дек 2020 22:39
Водород или чистое электричество? Подешевевшая Toyota Mirai II попытается побороться с Tesla Model S в Европе
Toyota серьезно снизила стоимость своего водородомобиля в Европе
Авто и транспорт
62
06 дек 2020 22:09
Такие Samsung Galaxy Buds Pro мы ещё не видели. Новые рендеры беспроводных наушников с активным шумоподавлением от надёжного источника
Изображения наушников намекают на расцветку Galaxy S21 Ultra
Аудио и звук
11
06 дек 2020 21:06
Tesla Model 3 – самый популярный электромобиль в октябре. На втором месте – «китаец», Volkswagen ID.3 уже в Топ-5
Volkswagen наступает на пятки Tesla
Авто и транспорт
41
06 дек 2020 20:45
Большое обновление Google Chrome уже можно опробовать
Доступна бета-версия Chrome 88 с обучающими видео, скриншотами в режиме «Инкогнито» и другими новшествами
Прочие новости
9
06 дек 2020 20:12
Новое удачное решение AMD может найти применение в видеокартах Intel следующего поколения. Речь о большом объёме кэш-памяти
AMD Infinity Cache включает 128 МБ памяти
Видеокарты
13
06 дек 2020 20:00
Самый большой дефицит Tesla. Красные шорты получили только избранные и теперь продают их на аукционах втридорога
Фирменные шорты представили в июле и до сих пор не могут доставить всем покупателям
Прочие новости
11
06 дек 2020 19:28
Немного о грядущих более доступных видеокартах AMD. Появились подробности о GPU Navi 22 и Navi 23
Младший получит 128-разрядную шину
Видеокарты
9
06 дек 2020 19:26
Неспроста PlayStation 5 так заметно обгоняет Xbox Series X. Рекламные затраты Sony втрое превысили вложения Microsoft
Прочие новости
66
06 дек 2020 18:48
Пользователи Windows 10 увидят больше навязчивой рекламы Microsoft на полный экран
Microsoft активно продвигает свои сервисы
Прочие новости
90
06 дек 2020 17:58
В России обрушили цены на роботы-пылесосы
Распродажа в «Эльдорадо» продлится до Нового года
Комфортный дом
13
06 дек 2020 17:12
Флагманские часы Huawei Watch GT 2 Pro обзавелись калькулятором
Приложение устанавливается через Huawei Health
Мобильные телефоны
12
06 дек 2020 16:23
УАЗ-469, который мог бы стать лучше Jeep Wrangler. Дизайнер представил свое видение легендарного русского внедорожника
С совершенно ровным спальным местом во всю длину салона, столиком-рундуком и характерной запаской
Авто и транспорт
45
06 дек 2020 13:44
Японский космический аппарат сбросил на Землю капсулу с образцами астероида Рюгу
И отправился к следующему
Прочие новости
16
06 дек 2020 13:20
В Индии представлен местный люксовый электромобиль Pravaig Extinction MK1. Тяговый аккумулятор как у Tesla Model S и запас хода 500 км
2500 автомобилей должны собрать уже в следующем году
Авто и транспорт
14
06 дек 2020 13:19
Илон Маск хочет переехать в Техас, чтобы не платить налоги? В Техасе отсутствует подоходный налог, который есть в Калифорнии
Но неясно, с этим ли связаны плана миллиардера
Прочие новости
26
06 дек 2020 13:01
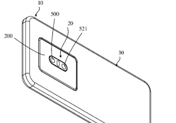
Oppo запатентовала смартфон со съемной камерой. Ее можно будет использовать как action-камеру
В модуле съемной камеры разместится собственный аккумулятор, а также адаптеры связи NFC, Wi-Fi и Bluetooth
Мобильные телефоны
15
06 дек 2020 12:44
Какой ПК нужен, чтобы сравняться с PlayStation 5. Противники консолей могут сильно удивиться
По цене решения, конечно, несопоставимы
Прочие новости
160
06 дек 2020 12:40
Отставить панику. Производство Huawei Mate 40 Pro+ не остановлено
Топ-менеджер Huawei опроверг слухи — снятие с производства было бы преждевременным
Мобильные телефоны
4
06 дек 2020 12:38
Что станет с аккумулятором «монстра автономности» Redmi Note 9 4G через три года?
Емкость упадет, но не критично
Мобильные телефоны
26
06 дек 2020 12:25
Tesla раздаёт полный автопилот для своих электромобилей на тысячу долларов дешевле
Некоторые пользователи могут получить Full Self-Driving «всего» за пять тысяч долларов
Авто и транспорт
16
06 дек 2020 12:16
Могут ли запретить продажи смартфонов Xiaomi в Индии? Philips подала в суд на китайского гиганта за нарушение патентов
Однажды Xiaomi уже с подобным столкнулась
Прочие новости
7
06 дек 2020 12:11
Более 20 миллионов популярных дешёвых смартфонов получали троян в виде автоматического обновления
Троян распространяли почти год на смартфоны Gionee
Мобильные телефоны
13
06 дек 2020 11:50
Популярный Ryzen 5 5600X разогнали до 6 ГГц при всех активных ядрах. И он стал самым быстрым 6-ядерным процессором в мире
В результате разгона частота CPU повысилась более чем на 60% относительно базовой частоты
Процессоры
16
06 дек 2020 11:23
Canon EOS R5s получит датчик изображения разрешением 90 Мп и технологию «смещения пикселей»
Фотоаппарат выйдет в начале 2021 года
Цифровое фото
63
06 дек 2020 11:20
Продажи флагманского смартфона Huawei Mate 40 RS Porsche Design превратили в лотерею для избранных
Все равно все желающие не смогли бы купить смартфон, а так он достанется хоть кому-то
Мобильные телефоны
4
06 дек 2020 10:45
GeForce RTX 3080 для ноутбуков получила больше памяти, чем RTX 3080 для настольных компьютеров
А по производительности мобильная GeForce RTX 3080 должна превзойти настольную RTX 3070
Видеокарты
9
06 дек 2020 10:18
Характеристики всех мобильных процессоров Ryzen 5000 за месяц до анонса
Cezanne-H и Cezanne-U на архитектуре Zen3 и Lucienne-U на архитектуре Zen2
Процессоры
27
06 дек 2020 09:36
Раньше
2020-12-06
Позже
Видео