-
21:14 Panasonic покупает OpenSynergy, немецкого разработчика программного обеспечения для «умных» автомобилей: OpenSynergy станет дочерней компанией Panasonic, сохранив самостоятельность
-
20:44 LeEco планирует инвестировать 1,8 млрд долларов в электромобильный завод: LeEco планирует выпускать электромобили в США и Китае
-
20:23 Компания VIA привезла на Flash Memory Summit 2016 контроллеры SSD с технологией Gear-Shifting: Одной из особенностей этих контроллеров названа лучшая в классе способность обнаруживать и корректировать ошибки
-
19:51 Сетевая карта Artesyn SharpSwitch PCIE-9205 оснащена коммутатором и двумя портами 100G: На плате установлен процессор серии Intel Xeon D
-
17:06 Intel покупает компанию Nervana Systems, занимающуюся искусственным интеллектом: Условия сделки не разглашаются
-
16:21 Фото дня: объектив Fujifilm XF23mmF2 R WR: Анонс объектива Fujifilm XF23mmF2 R WR можно ожидать в сентябре на выставке Photokina
-
15:53 По подсчетам TrendForce, за первое полугодие 2016 года было отгружено 74,18 млн ноутбуков, Apple сократила поставки на 23,4%: Лидером рынка аналитики называют компанию Lenovo
-
14:50 Специалисты DisplayMate снова назвали лучший из когда-либо протестированных ими дисплеев мобильных устройств: Дисплей Samsung Galaxy Note7 превосходит дисплеи других мобильных устройств по цветовому охвату и другим параметрам
-
13:27 Представлен смартфон Meizu M3E: Цена Meizu M3E— $195
-
12:39 Micron начинает поставки ознакомительных образцов мобильной памяти 3D NAND объемом 32 ГБ для смартфонов следующего поколения: Память 3D NAND упаковывается в корпуса PoP размерами 9 x 9 мм или MCP размерами 8,5 x 11 мм
-
11:45 Разработчики называют Moorebot персональным роботизированным помощником: Pilot Labs собирает средства на выпуск Moorebot
-
11:00 У SMART Modular готовы первые энергонезависимые модули памяти NVDIMM-N DDR4 объемом 32 ГБ: Начать поставки энергонезависимых модулей памяти NVDIMM-N DDR4 объемом 32 ГБ SMART Modular обещает до конца месяца
-
10:59 Смартфон LeEco Cool1 будет выпущен 16 августа: Что касается цены, но она ожидается на уровне 300 долларов
-
10:35 Liqid и Kingston представили самый быстрый SSD типоразмера 2,5 дюйма: Накопитель Liqid Powered U.2 оснащен интерфейсом PCIe NVMe Gen 3.0 x4
-
10:15 Смартфон UMi Max при цене менее $180 предлагает SoC MediaTek Helio P10: Смартфон UMi Max может занять вторую ступеньку в иерархии моделей компании
-
10:05 Создатели мотоциклетного шлема Skully AR-1 обанкротились, потратив $13,5 млн на суперкары, мотоциклы и стриптиз: Были куплены несколько мотоциклов, два суперкара Dodge Viper, смартфоны, планшеты и проч
-
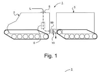
10:02 Apple получила патент на рулевое устройство для сочлененного транспортного средства: Считается, что первый автомобиль Apple выйдет в 2021 году
-
09:36 Спецификации смартфона Samsung Z2 с ОС Tizen появились накануне анонса: Смартфон Samsung Z2 относится к бюджетному сегменту
-
09:33 За попытку блокировки ресурса www.kremlin.ru ноутбук злоумышленника приговорили к смертной казни: Каким образом будет приводиться в исполнение смертная казнь ноутбука, осталось за кадром
-
09:20 Ожидается, что при цене $106 смартфон Xiaomi Redmi 4 получит 3 ГБ ОЗУ, SoC Snapdragon 625 и аккумулятор емкостью 4100 мА•ч: Анонс смартфона ожидается 25 августа
-
08:48 Экран следующего смартфона iPhone диагональю 5,5 дюйма может иметь разрешение 2К: Источник утверждает, что дисплей диагональю 4,7" будет иметь разрешение 1920 х 1080 пикселей, а экран старшей модели получит разрешение 2К
-
08:20 Jawbone продолжает искать возможности выхода из бизнеса: Jawbone не сможет рассчитаться с кредиторами и осуществить запланированный августовский платеж
-
08:09 Смартфон Samsung Galaxy Note7 с 6 ГБ ОЗУ должен поступить в продажу 2 сентября по цене $914 : Данная версия Samsung Galaxy Note7 будет представлена 26 августа
-
08:08 Смартфон Blu Studio C 8+8 может быть основан на двух разных SoC: Смартфон Blu Studio C 8+8 доступен в вариации с поддержкой сетей 4G