Компания Apple запатентовала новую кнопку для своих мобильных устройств, которая занимает гораздо меньше внутреннего пространства, однако экономией свободного места все не ограничивается.
Запатентованный механизм может предложить программируемую обратную связь. Такие кнопки могут обеспечивать различную тактильную обратную связь, настраиваемую программным обеспечением, при этом они будут чувствительными к силе нажатия.
В описании патента в качестве примера приводится кнопка включения iPhone, однако на этом область применения подобных кнопок не заканчивается. Например, подобные кнопки можно использовать в сверхтонкой клавиатуре для iPad, которая обеспечит пользователям ощущения, схожие от работы за обычной клавиатурой благодаря обратной связи.

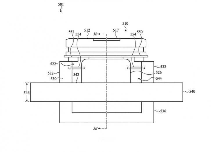
Внутри такой кнопки располагаются электрическая катушка и магнит. При подаче питания катушка перемещает магнит, обеспечивая тактильную обратную связь. Сам магнит смещается всего на 0,01 мм, однако этого достаточно, чтобы создать обратную связь. Кроме того, внизу есть датчик давления для регистрации нажатий и учета силы нажатия.