Основные темы и самые интересные новости сентября 2016 года
На сентябрь пришелся анонс смартфонов Apple нового поколения. Этим устройствам было посвящено много новостей, которые оказывались самыми читаемыми за сутки. Поэтому справедливо будет начать дайджест рассказом о публикациях, героями которых были смартфоны
Apple iPhone 7 и iPhone 7 Plus
Смартфоны Apple iPhone нового поколения были представлены 7 сентября. За несколько дней до этого аналитики KGI подробно рассказали о них, раскрыв основные технические характеристики и сообщив о новшествах, воплощенных в аппаратах.

В отличие от предшественников, смартфоны получили защиту от пыли и воды. Важным нововведением стала сдвоенная основная камера модели iPhone 7 Plus. Основная камера модели iPhone 7 обзавелась оптическим стабилизатором. Освещение при съемке обеспечивает вспышка на четырех светодиодах, а обработкой изображений занят специальный процессор в составе однокристальной системы Apple A10 Fusion. Центральный процессор этой SoC включает два высокопроизводительных ядра, которые на 40% быстрее ядер Apple A9, и два ядра с пониженным энергопотреблением. Производительность GPU увеличена по сравнению с GPU Apple A9 на 50%.
Механическая кнопка Home уступила место сенсорной. Впечатление нажатия обеспечивает модуль Taptic Engine. Разъем TRS диаметром 3,5 мм для подключения наушников исчез. Комплектные наушники EarPods рассчитаны на подключение к порту Lightning. Для подключения наушников с разъемом TRS в комплекте есть переходник. Отдельно можно приобрести беспроводные наушники AirPods.

Предусмотрен выпуск смартфонов с 32, 128 и 256 ГБ флэш-памяти в пяти цветовых вариантах. Цены на них начинаются с $650.
За неделю до начала продаж в США начали формироваться очереди за новыми смартфонами, а за день до открытия магазинов американцы заняли свои места возле входов.

Живая очередь дает шанс заполучить новинку в первый же день продаж, тогда как сроки доставки по предварительным заказам в случае самых популярных цветовых вариантов Black и Jet Black достигают нескольких недель и даже месяцев.
В Сингапуре, где нет фирменных магазинов Apple, фанатам продукции этой компании приходится прибегать к уловкам. Главное при этом — не нарушить местные законы, как это сделали два жителя Сингапура.

Незадачливая парочка приобрела билеты на самолет, но использовала их, только чтобы попасть в транзитную зону аэропорта и приобрести iPhone 7 в магазине беспошлинной торговли. Между тем в Сингапуре проникновение в транзитную зону аэропорта без намерений покинуть страну запрещено, а поскольку покупатели смартфонов никуда не улетели, теперь им грозит штраф и до двух лет тюремного заключения.
Вскоре после начала продаж Специалисты IHS Markit подсчитали стоимость компонентов iPhone 7.

По подсчетам IHS Markit, все компоненты iPhone 7 с 32 ГБ флэш-памяти стоят $219,80. Добавив расходы на сборку, оцениваемые в $5, аналитики пришли к выводу, что выпуск одного экземпляра iPhone 7 обходится Apple в $224,80. Как уже было сказано выше, в рознице такое устройство стоит примерно $650.
Не меньше аналитиков новым смартфоном Apple заинтересовались хакеры. Им удалось взломать iPhone 7 всего через несколько дней после начала продаж. Успеха добился Лука Тодеско (Luca Todesco), также известный под ником qwertyoruiop, в подтверждение опубликовавший фотографию Apple iPhone 7 с iOS 10.0.1 и менеджером Cydia 1.1.26, позволяющим устанавливать приложения на взломанные устройства.

Другой «взломщик» испытал аппарат на прочность в буквальном смысле. По его словам, смартфон iPhone 7 выдерживает испытание на изгиб лучше предшественников.

Во-первых, чтобы согнуть смартфон, необходимы большие, чем раньше, усилия. Во-вторых, до определенных пределов деформация носит обратимый характер: как только воздействие прекращается, устройство принимает прежнюю форму. Защитное стекло экрана непросто поцарапать, чего не скажешь о задней стенке из анодированного алюминия.
Значительная деформация смартфона приводит к тому, что экран отделяется от корпуса и становится видна клейкая субстанция, обеспечивающая герметичность. Конечно, после таких опытов нет гарантии, что смартфон вообще сохранит работоспособность, не то что герметичность. Впрочем, оказалось, что производитель и без того не считает повреждение iPhone 7 в результате проникновения воды гарантийным случаем.

Кроме того, Apple делает оговорку, что степень водонепроницаемости устройства не является постоянной величиной, и может уменьшиться в процессе эксплуатации.
Вскоре после анонса iPhone 7 и iPhone 7 Plus производитель рассказал о причинах отсутствия разъема TSR.

Началось все якобы с того, что внутренняя перекомпоновка, вызванная использованием новых модулей камер, привела к увеличению наводок на разъем со стороны платы, управляющей работой дисплея. Решено было радикально устранить проблему, тем более что удаление разъема высвобождало место для Taptic Engine, позволяло увеличить емкость аккумулятора и проще реализовать водонепроницаемость.
В сети довольно скоро появилась шутка, что разъем все-таки есть, но скрыт за стенкой корпуса, потому достаточно просверлить отверстие, чтобы получить возможность пользоваться старыми наушниками без переходника. Неизвестно, были ли те, кто воспринял эту информацию всерьез, но новость о том, что владельцы iPhone 7 сверлили свои смартфоны, чтобы найти спрятанный разъем для наушников оказалось одной из самых читаемых и комментируемых в сентябре.

На всякий случай уточним, что сверление смартфона не только с большой вероятностью выведет его из строя, но может даже привести к возгоранию и взрыву. Впрочем, это может произойти и так: один из покупателей смартфона Apple iPhone 7 утверждает, что аппарат взорвался во время доставки.

Судя по снимку, упаковка не пострадала, что вкупе с отсутствием официальных комментариев со стороны Apple и службы доставки UPS позволяет усомниться в достоверности этой истории.
Между тем к возгораниям оказался действительно склонен новый флагманский смартфон компании
Samsung
Компания была вынуждена не только приостановить поставки смартфона Galaxy Note7 из-за нескольких случаев возгорания, но и объявить о полном отзыве всех проданных устройств. Это 2,5 млн штук, из которых на США приходится около 1 млн.

На момент объявления об отзыве в США было зафиксировано 92 случая перегрева. В 26 из них пользователи получили ожоги, а в 55 случаях пострадала частная собственность, помимо самого смартфона.
Вскоре стало известно, что новый случай возгорания Samsung Galaxy Note7 привел к уничтожению автомобиля Jeep Grand Cherokee.

По словам автовладельца, он оставил смартфон Samsung Galaxy Note7 на подзарядке в автомобиле. Огонь охватил машину так стремительно, что даже спешно прибывшие на место пожарные спасти ее уже не смогли.
В другом случае, сообщение о котором стало самой читаемой новостью iXBT.com 13 сентября, смартфон Samsung Galaxy Note7 загорелся в руках шестилетнего мальчика.

По словам бабушки мальчика, ребенок смотрел мультфильмы на смартфоне, когда взорвался аккумулятор, что привело к срабатыванию домашней системы пожарной сигнализации. Мальчика доставили в больницу, но ожоги оказались незначительными, так что ему разрешили отправиться домой. Родители мальчика подтвердили, что обсуждают произошедшее с представителями Samsung.
Отметим, что производитель довольно скоро разобрался и назвал причину возгорания аккумуляторов смартфонов Samsung Galaxy Note7.

В результате проведенного компанией расследования выяснилось, что причиной является «очень редкая ошибка на производстве», проявившаяся как дефект некоторых экземпляров аккумуляторов. В них наблюдается короткое замыкание между электродами.
По словам Samsung, смартфоны, предлагаемые в качестве замены, проходят тщательную проверку, что должно гарантировать отсутствие повторения проблемы с аккумуляторами в будущем. Что касается тех смартфонов, которые пользователи еще не обменяли, издание Korea Times в середине месяца сообщило, что с помощью обновления ПО Samsung удаленно ограничит возможности зарядки смартфонов Galaxy Note7, что должно решить проблему с возгораниями. Конечно, это сократит время автономной работы, но снизит риск для тех пользователей, кто не успел обменять смартфон или по какой-то причине вовсе решил этого не делать.

Ссылаясь на информаторов, хорошо осведомленных о происходящем в южнокорейской компании, агентство Bloomberg рассказало, что к провалу Samsung Galaxy Note7 привели спешка, усталость сотрудников и желание Samsung обойти Apple.

Большое количество нововведений и высокий темп работы вынуждали Samsung и ее партнеров трудиться без выходных. Более того, некоторые сотрудники Samsung ночевали в офисе, чтобы не тратить время на дорогу домой и обратно. По словам сотрудника одной из компаний, поставляющих комплектующие, работать с Samsung было очень непросто, потому что заказчик постоянно менял характеристики устройства. Как известно, итогом стали существенные материальные потери — затраты на обмен смартфонов оцениваются в 1 млрд долларов — и удар по репутации.
Рассказ о горящих смартфонах Samsung будет неполным без новости о том, что многие сообщения о возгорании смартфонов Samsung Galaxy Note7 оказались обманом.
Как уже сказано выше, в США было зафиксировано 92 случая перегрева, в 26 из которых пользователи получили ожоги. Проверка сообщений, поступающих от пользователей, показала, что далеко не все они соответствуют действительности. По данным Samsung, в 26 случаях имели место ложные сообщения.

В двенадцати эпизодах аппараты и аккумуляторы оказались полностью исправны. В семи случаях «пострадавшие» уклонились от контакта с производителем, что не позволило ему провести расследование. Еще в семи случаях сообщения были отозваны самими пользователями, которые отказались от своих первоначальных слов.
Тем не менее, оплошностью Samsung не замедлили воспользоваться конкуренты. Компания Lenovo в рекламе смартфона Moto Z Droid заверила покупателей, что «в отличие от некоторых производителей, придерживается высочайших стандартов качества и тестирует все свои аккумуляторы».

Компании Apple и Samsung, будучи крупнейшими производителями мобильных устройств, не первый раз получают собственные разделы в нашей ежемесячной подборке самых интересных и важных новостей. На этот раз к ним присоединилась компания
Xiaomi
Если выстроить самые популярные новости, в которых фигурировала Xiaomi, в порядке возрастания количества просмотров, последней окажется новость о том, что Xiaomi снижает стоимость смартфона Mi Max на фоне анонса Meizu M3 Max. Смартфон на SoC Snapdragon 650 с 3 ГБ ОЗУ и 32 ГБ флэш-памяти стал стоить $195, а его вариант на SoC Snapdragon 652, оснащенный 64 ГБ флэш-памяти, подешевел до $230.

Далее следует новость про то, как смартфон Xiaomi Mi 4c загорелся в заднем кармане брюк владельца.

В отличие от других подобных инцидентов, этот случай оказался запечатлен камерой видеонаблюдения.

Несколько больше запросов набрала публикация с первой фотографией, сделанной камерой смартфона Xiaomi Mi 5S.
Следующая в рейтинге — новость о том, что смартфон Xiaomi Redmi Note 3 подешевел до $120. Эта цена соответствует конфигурации с 2 ГБ оперативной памяти и 16 ГБ флэш-памяти. Вариант с 3 ГБ оперативной памяти и 32 ГБ флэш-памяти стоит $150.

Третье место по числу запросов занимает новость о том, что Предварительная стоимость смартфона Xiaomi Mi 5S выглядит очень привлекательной. В ней было сказано, что Xiaomi Mi 5S будет стоить $300 в варианте с 6 ГБ оперативной памяти и 64 ГБ флэш-памяти. Модель Mi 5S Plus с 256 ГБ флэш-памяти предварительно была оценена в $450. Забегая вперед, скажем, что в момент анонса производитель назвал следующие цены: Xiaomi Mi 5S с 3 ГБ ОЗУ и 64 ГБ флэш-памяти — $300, с 4 ГБ ОЗУ и 128 ГБ флэш-памяти — $345. Модель Xiaomi Mi 5S Plus с 4 ГБ ОЗУ и 64 ГБ флэш-памяти стоит $345, с 6 ГБ ОЗУ и 128 ГБ — $390.
На второй ступеньке хит-парада находится как раз заметка об анонсе Xiaomi Mi 5S и Xiaomi Mi 5S Plus. Ее автору не хватило одного предложения, чтобы сформулировать заголовок. В результате новость называется «Представлены смартфоны Xiaomi Mi 5S и Xiaomi Mi 5S Plus. Сдвоенную камеру получила только старшая модель».
Обе модели имеют экраны разрешением 1920×1080 пикселей, но в случае младшей модели размер экрана равен 5,15 дюйма, а в случае старшей — 5,7 дюйма, как у Apple iPhone 7 Plus. Производитель отмечает, что при этом Xiaomi Mi 5S Plus меньше: 77,7×154,6 мм против 77.9×158,2 мм.
Самой читаемой новостью, посвященной Xiaomi, стала новость «Смартфон Xiaomi Redmi 4 при цене $105 оснащен 3 ГБ ОЗУ и аккумулятором емкостью 4000 мА·ч». Уточним, что новость вышла не в связи с анонсом устройства, а в связи с появлением Xiaomi Redmi 4 в базе данных китайского регулятора TENAA.

Аппарат с пятидюймовым дисплеем Full HD построен на неназванной однокристальной системе с восьмиядерным процессором, работающим на частоте 1,8 ГГц под управлением Android 6.0.1. В оснащении устройства можно выделить камеры разрешением 13 и 5 Мп и дактилоскопический датчик. Объем флэш-накопителя равен 32 ГБ. При габаритах 141,3×69,6×8,9 мм смартфон весит около 160 г.
Как всегда, часть новостей дайджеста относится к настолько разным темам, что если их и можно сгруппировать, то только в разделе
Прочее
В начале месяца были представлены модульные мини-ПК HP Elite Slice.
В основном модуле размерами 165×35×165 мм находится системная плата на чипсете Intel Q170 с процессором Core i3-6100T (3,2 ГГц), Core i3-6300T (3,3 ГГц), Core i5-6500T (2,5/3,1 ГГц), Core i5-6600T (2,7/3,5 ГГц) или Core i7-6700T (2,8/3,6 ГГц). Конфигурация мини-ПК может включать до 32 ГБ оперативной памяти и SSD или HDD типоразмера 2,5 дюйма объемом до 512 и 500 ГБ соответственно. В оснащении основного модуля можно выделить порт Gigabit Ethernet, видеовыходы DisplayPort и HDMI, два порта USB-A и один USB-C. Средства беспроводного подключения Wi-Fi 802.11ac и Bluetooth 4.2 устанавливаются опционально.

По интерфейсу USB к основному модулю подключаются дополнительные. Таковых пока доступно три: оптический привод, модуль Vesa Plate для фиксации компьютера на задней стенке монитора, и звуковой модуль со встроенным громкоговорителем, двумя микрофонами и системой шумоподавления.

Прием предварительных заказов уже начался.
ПК, пусть и миниатюрный, является характерным изделием для представившего его производителя, чего не скажешь о новинке из новости о том, что компания Meizu представила рюкзак стоимостью $30. При габаритах 285×120×445 мм детище Meizu весит 700 г.

По признанию автора новости, ничем особым рюкзак не выделяется. В нем есть девять отсеков, куда можно, среди прочего, положить ноутбук, планшет, электронную книгу.

Следующая новость посвящена 3D-картам. В ней утверждается, что 3D-карта GeForce GTX 1050 с 768 ядрами CUDA и 128-разрядной шиной памяти будет представлена в конце октября.

По имеющимся сведениям, базовая частота GPU составит 1318 МГц, повышенная — 1380 МГц. Объем памяти будет равен 2 или 4 ГБ, а работать память будет на эффективной частоте 7000 МГц. Ожидается, что TDP не превысит 75 Вт. Можно предположить, что цена адаптера GeForce GTX 1050 составит $150-$170, что позволит этой 3D-карте конкурировать с моделью AMD Radeon RX 470.
В сентябре в Кельне прошла крупная выставка фототехники Photokina. К этому мероприятию почти все ведущие представители отрасли приурочили анонсы новинок, среди которых были камеры, объективы, вспышки. Однако только одна публикация о фототехнике оказалась лидером по количеству просмотров в один из дней сентября, что позволяет включить ее в сегодняшнюю подборку. Это новость об анонсе среднеформатной беззеркальной фотосистемы Fujifilm GFX.

Систему откроет камера Fujifilm GFX 50S с датчиком формата Fujifilm G (43,8×32,9 мм) разрешением 51,4 Мп и шесть объективов Fujinon GF. По сравнению с существующими камерами среднего формата Fujifilm GFX 50S будет меньше и легче. Длина рабочего отрезка равна 26,7 мм. Появление новинок на рынке намечено на 2017 год.
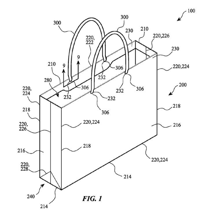
Скорее к разряду курьезов, чем серьезных новостей, относится новость о том, что Apple пытается запатентовать бумажный пакет.

Заявка, в которой описан «бумажный пакет, который может включать контейнер, сформованный из плотной отбеленной бумаги, не менее чем на 60% изготовленной из вторсырья», была подана в американское патентное бюро в марте этого года. По мнению изобретателей (в заявке фигурирует три фамилии), пакет можно использовать в розничной торговле, складывая в него покупки.
Не меньшее число запросов и активное обсуждение вызвала новость, что Илон Маск планирует сократить время трансатлантического перелета до 10 минут.

По словам Маска, ракеты SpaceX могут доставить пассажиров с грузом в любую точку планеты за 45 минут, в трансатлантический перелет может занять всего 10 минут. В большинство наиболее популярных городов мира ракета, стартовавшая из США, доберется в течение 25 минут. Например, по подсчетам Маска, столько займет полет в Токио с плавучей платформы, расположенной в 50 км от побережья Нью-Йорка. Для сравнения: полет по этому маршруту на самолете длится 12-13 часов. Об ощущениях пассажиров ракеты и стоимости полета в новости не говорилось.
О стоимости говорилось в новости, завершающей сегодняшнюю подборку. Правда, это была совсем другая стоимость — в конце месяца стала известна стоимость ТВ-приставки Google Chromecast Ultra и домашнего помощника Google Home. Анонс этих новинок ожидается 4 октября.

Такими оказались наиболее интересные и важные новости первого осеннего месяца 2016 года. Подборка самых читаемых и обсуждаемых новостей октября будет готова примерно через месяц.
