В данном обзоре мы рассмотрим беспроводные адаптеры стандарта IEEE 802.11g Level One WNC-0500 PCI и Level One WPC-0500 Cardbus с поддержкой технологии MIMO (Multiple Input Multiple Output), разрешающей расширить зону приема сигнала и режима "Turbo mode", позволяющим повысить скорость передачи данных по беспроводной связи.
Повышение производительности беспроводной связи достигается за счет компрессии передаваемых данных и уменьшения интервалов ожидания между передачами.
Расширение зоны приема сигнала достигается за счет повышения чувствительности приемника и повышения мощности передатчика. Это достигается за счет использования двух принимающих антенн и одной передающей (в случае PCI-адаптера — внешних, а в случае Cardbus — внутренних антенн).
Рассмотрим более подробно каждый из этих адаптеров.
Беспроводной PCI-адаптер Level One WNC-0500
Комплектация адаптера:
- сам адаптер
- 3 всенаправленных антенны 2 dBi
- диск с драйверами и утилитами
- краткое руководство по установке на 9-ти языках (без русского)
Основная электроника платы спрятана под экраном, закрепленным в адаптере.
Спецификация:
- Интерфейс: PCI 2.2
- Поддерживаемые скорости: 1, 2, 5,5, 11, 22, 6, 9, 12, 18, 24, 36, 48, 54 Мбит/с
- Безопасность: 64/128 бит WEP, 802.1x, WPA (EAP-TLS, EAP-TTLS, EAP-PEAP), WPA-PSK, WPA2
- Количество каналов: 13
- Выходная мощность: 18±2 dBm
- Размеры: 130 × 121 × 19 мм
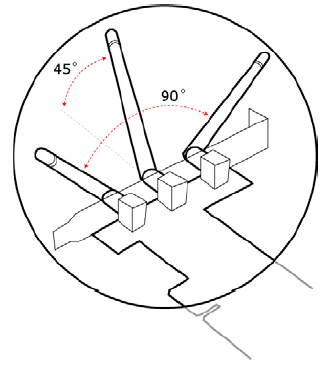
Для наилучших параметров приемо-передачи сигнала, рекомендуется расположить антенны адаптера следующим образом:

То есть 2 принимающие антенны должны быть развернуты на 90 градусов относительно друг друга. Центральная передающая антенна должна быть "отогнута" от плоскости двух других на 45 градусов.
Конфигурация:
Настройку беспроводного адаптера можно производить с помощью WZC (Windows Zero Config — утилита ОС Windows XP) или собственной утилитой настройки, скриншоты которой приведены ниже:
Если оборудование, к которому подключается адаптер (например, точка доступа), поддерживает технологию MIMO, то передача будет производиться с использованием Turbo-режима. Иначе — беспроводной адаптер будет работать в стандартном режиме.
Не очень понятно, почему Turbo-режим используется только при поддержке технологии MIMO, так как, судя по документации, технология MIMO отвечает только за расширение радиуса сети.
В настройках беспроводного адаптера также присутствует пункт Tx BURST, позволяющий повысить производительность передачи данных
Тестирование производительности проводилось как при включенном "Tx BURST", так и при выключенном. Несмотря на то, что этот параметр имеет непосредственное влияние к увеличению производительности, в документации он ни как не связан, ни с режимом Turbo, ни с технологией MIMO (от наличия которой почему-то зависит возможность использования Turbo режима).
Также возможно использование WPA2 шифрования.
Остальной набор настроек, в принципе, стандартный.
Беспроводной Cardbus-адаптер Level One WPC-0500:
Комплектация адаптера:
- сам адаптер
- диск с драйверами и утилитами
- краткое руководство по установке на 9-ти языках (без русского)
На адаптере расположены индикаторы активности и питания
Размеры внешней части беспроводного адаптера (та, в которой находится антенна) не превышают по толщине размеры его внутренней части. То есть в случае если два Cardbus-разъема находятся друг над другом, то внешняя часть беспроводного адаптера, при установке в один из разъемов, не будет мешать установке других устройств во второй разъем.
Спецификация адаптера:
- Интерфейс: Cardbus
- Поддерживаемые скорости: 1, 2, 5,5, 11, 22, 6, 9, 12, 18, 24, 36, 48, 54 Мбит/с
- Безопасность: 64/128 бит WEP, поддержка WPA (EAP-TLS, EAP-TTLS, EAP-PEAP) и WPA-PSK-шифрования, 802.1x, WPA2 (802.11i), WPA2-PSK
- Количество каналов: 13
- Средняя выходная мощность: 18±2 dBm
- Размеры: 118 × 54 × 8 мм
Конфигурация адаптера осуществляется с помощью программы Windows Zero Config или с помощью собственной утилиты настройки, внешний вид которой полностью аналогичен утилите настройки PCI-адаптера.
Документация на адаптеры достаточно полно и подробно описывает используемые режимы и возможности настройки, но, к сожалению, на русском языке не поставляется. Также в документации, на мой взгляд, весьма туманно описаны возможности MIMO и Turbo. Включение режима Turbo невозможно без поддержки технологии MIMO, но в той же документации говорится, что MIMO только повышает радиус беспроводной сети и совершенно ничего не говорится о том, как это влияет на возможность сжатия данных и уменьшение интервалов ожидания между передачами.
Тестирование производительности:
Тестирование беспроводного сегмента:
Были проведены следующие тесты:
- Тест "PCI-адаптер WNC-0500 — Cardbus-адаптер WPC-0500, режим AdHoc"
Тест "PCI-адаптер WNC-0500 — Cardbus-адаптер WPC-0500, режим AdHoc" — трафик гонялся между компьютером c беспроводным PCI-адаптером Level One WNC-0500 и ноутбуком с беспроводным Cardbus-адаптером Level One WPC-0500. Скорость соединения устанавливалась автоматически в режиме IEEE 802.11g и IEEE 802.11b с включенным и выключенным "Tx BURST". Тест проводился с помощью Chariot NetIQ. Расстояние между точками не превышало 5 метров.
Максимальные скорости:
- 18,25 Мбит/с в режиме IEEE 802.11g без использования Tx BURST — весьма не высокая скорость для данного режима
- 27,86 Мбит/с в режиме IEEE 802.11g с использованием Tx BURST
- 5,42 Мбит/с — в режиме IEEE 802.11b без использования Tx BURST — достаточно высокая скорость.
- 6,17 — Мбит/с — в режиме IEEE 802.11b с использованием Tx BURST
Видно, что при использовании режима Tx BURST, производительность возрастает в значительной степени. В IEEE 802.11g режиме она возрастает примерно в 1.5 раза. В режиме IEEE 802.11b это увеличение производительности ощущается, но оно не так заметно.
Доступность:
Средняя розничная цена на рассматриваемое в статье устройство на последний момент:
| Level One WNC-0500 PCI | Н/Д(0) |
| Level One WPC-0500 Cardbus | Н/Д(0) |
На момент написания обзора, цена на рассматриваемые беспроводные адаптеры составляет порядка 35–40$.
Выводы:
Рассматриваемое оборудование показывает не очень высокую производительность в AdHoc режиме в случае, если "Tx BURST" не используется. Зато в случае использования "Tx BURST" оборудование показывает очень высокую производительность (около 27 Мбит/с).
Для повышения радиуса действия, рассмотренные адаптеры используют сразу 3 антенны, две из которых работают на прием, а третья — на передачу, причем с повышенной мощностью, и это обстоятельство не сказывается губительно на цене такого оборудования. Однако стоит помнить, что при подключении внешних направленных антенн, такая дифференциация назначения антенн (одни только принимают, другие только отправляют) вызовет некоторые трудности.
Плюсы:
- Высокая производительность при использовании Tx BURST режима
- Возможность работы в режиме AdHoc на скорости 54 Мбит/с
- Поддержка AES-шифрования
- Поддержка WPA2 шифрования
- Повышенная зона охвата
- Относительно невысокая цена
Минусы:
- Отсутствие документации на русском языке
- Сложности, возникающие при подключении направленных антенн, связанные с тем, что одни антенны только принимают сигнал, а другие — только отправляют (это относится только к PCI-адаптеру, так как Cardbus-адаптер не предусматривает подключение внешних антенн)












