Nikon патентует объектив для полнокадровой камеры с вогнутым датчиком изображения

Максимальная диафрагма объектива с фокусным расстоянием 35 мм равна F/2,0

Как мы уже сообщали, компания Nikon так и не выпустила камеры серии DL верхнего сегмента. Причиной были названы «сомнения в том, что их выпуск будет рентабельным с учетом увеличившихся затрат на разработку и уменьшения прогнозируемого объема продаж из-за замедления рынка». Возможно, производитель решил перенаправить ресурсы на разработку полнокадровой беззеркальной камеры, которая должна превзойти конкурентов по качеству?

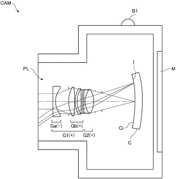
В этом свете особый интерес вызывает недавно полученный японским производителем патент. В нем описан объектив с фокусным расстоянием 35 мм и максимальной диафрагмой F/2,0, предназначенный для полнокадровой камеры с вогнутым датчиком изображения.

Максимальная диафрагма объектива с фокусным расстоянием 35 мм равна F/2,0

Пока неизвестно, зеркальная или беззеркальная камера имеется в виду, сменным или несменным будет объектив.

Вогнутый датчик изображения был запатентован Nikon некоторое время назад.

23 июля 2017 в 15:23

Автор:

| Источник: DP Review

Все новости за сегодня

Календарь

июль
Пн
Вт
Ср
Чт
Пт
Сб
Вс