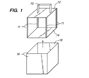
Похоже, спустя пять лет после прекращения выпуска Power Mac G4 Cube, Apple вновь задумывается о выпуске компьютера подобного форм-фактора и пытается исправить ошибки, допущенные при разработке легендарной модели.
За все время было продано не более 150 тыс. компьютеров Cube, и уже через год после начала выпуска его производство было прекращено. Концепция устройства не отвечала требованиям рынка: обладая достаточно высокой ценой, эта симпатичная машинка не могла предложить пользователю такие же возможности расширения, как другие PowerMac тех времен.
Тем не менее, Apple продолжает работать над усовершенствованием конструкции компьютера в виде куба, о чем говорит заявка на патент, поданная компанией в патентное ведомство США 5 мая этого года, которая описывает «конструкцию ультракомпактного компьютера». Из описания изобретения видно, что Apple попыталась устранить недостатки, присущие оригинальному Cube: корпус нового устройства будет обладать двумя съемными панелями, что обеспечит более удобный доступ к внутренним компонентам — жесткому диску, модулям ОЗУ и нескольким картам расширения. В описании конструкции устройства наравне с радиатором для охлаждения процессора используется и вентилятор, что говорит об отказе компании от концепции конвекционного охлаждения, применявшейся в Cube.
Стоит отметить, что патент не имеет очевидного отношения к современным моделям компьютеров Mac. И хотя известно, что Apple иногда получает «громкие» патенты, целью которых служит появление повода для очередной волны слухов, данная заявка вполне может говорить о том, что в недрах компании разрабатывается новая модель компьютера, представляющая собой компромисс между размерами Mac mini и мощностью и расширяемостью Mac Pro.
Тайваньский производитель компонентов для компьютеров, компания Foxconn анонсировала ряд графических адаптеров, выполненных на базе видеочипов компании NVIDIA. Ассортимент продукции включает карты от GeForce 7950 GX2 до 7100GS, т.е. сам производитель выделяет категории Enthusiast (карты на NVIDIA GeForce 7950 GX2, GeForce 7950 GT, GeForce 7950 GT и GeForce 7900 GTX), Performance (карты на NVIDIA GeForce 7900 GS и GeForce 7600 GT), Mainstream (карты на NVIDIA GeForce 7600 GS, и GeForce 7300 GT) и Value (карты на NVIDIA GeForce 7300 LE, GeForce 7100 GS и GeForce 7100 GS). Основной же интерес (как для производителя, так и для потребителя) представляют ускорители на базе 7900, 7600 и 7300.
Foxconn high-end адаптер FV-N795M4D2-OD выполнен на базе процессора NVIDIA GeForce 7950 GX2 и обладает огромным объемом GDDR3-памяти - 1 Гб. Адаптер поддерживает DirectX 9.0c Shader Model 3.0 и OpenGL, технологию SLI, имеет выходы DVI-I и HDTV.
Foxconn FV-N76TM2D2 - игрок среднего класса, выполнен на базе GeForce 7600 GT. Он оснащается 256 Мб памяти GDDR3, частота которой составляет 1400 МГц.
Поскольку компания Foxconn - крупный производитель, с годовым оборотом в несколько млрд. долл. (по данным источника в 2004 году оборот составил 16 млрд. долл.), то кроме оригинального дизайна пестрых упаковок видеокарт, интерес к ним со стороны покупателя должен будет обеспечиваться весьма "интересными" ценами.
Все анонсированные продукты уже доступны для заказов.
Источники: Foxconnchannel, The Reghardware
Компания Primera Technology объявила недавно о выпуске Bravo SE Disc Publisher. Это устройство призвано заменить рутинную работу по копированию оптических дисков и печати на них, позволяя автоматизировать этот процесс.
Как отмечается, в Bravo SE используется роботизированный механизм шестого поколения, который является транспортом для носителей (дисков). Самим же процессом записи занимается встроенный привод Pioneer DVR-111 DVD±R/CD-R. По завершению записи на диске, благодаря встроенному струйному принтеру, можно отпечатать цветное изображение или текст с разрешением до 4800 dpi. За одну сессию устройство тиражирования способно обработать до 20 дисков.
Bravo SE работает с любым ПК под управлением ОС Windows 2000/XP или Mac OS. Подключение осуществляется по протоколу USB 2.0. В комплекте с дупликатором поставляется специальное ПО - PTPublisher SE, SureThing CD Labeler Primera Edition и CharisMac Engineering Discribe V5.0 (для Mac).
Стоимость Bravo SE DVD/CD Publisher составляет 1495 долл.
Многие из производителей не стали ограничиваться выпуском референсных карт на базе NVIDIA GeForce 7950 GT и 7900 GS. Многие повысили частоты относительно штатных, в надежде, что на этот раз неприятных историй с фризами не случится.
Другой путь избрала компания Biostar. Если о её Σgate (Sigma Gate) V7903GS22 серии 7900 GS ничего особенного сказать нельзя - перед нами копия эталонной карты, то в случае с GeForce 7950 GT Biostar соригинальничала.

Как и полагается надежному партнеру NVIDIA, компания выпустила одну из двух карт этой серии, а именно, ΣGate V7953GT52 по референсному дизайну.
В случае же с ΣGate V7953GT22 производитель решил урезать вдвое объём видеопамяти при прочих равных характеристиках. Классифицировать получившийся "гибрид" и отвести ему законное место в легионе видеокарт на базе GeForce 79xx не так просто. Ближайшим к продукту Biostar можно признать 7900 GT, наделенный также 256 Мб памяти и имеющий полноценный чип G71 с 24 пиксельными и 8 вершинными процессорами. Однако у видеокарты, анонсированной еще на CeBIT ниже частоты графического процессора (на 100 МГц) и видеопамяти (на 80 МГц).

Можно предположить, что цена ΣGate V7953GT22 по прошествии некоторого количества времени с дебюта установится на отметке в 250 долларов, посредине между полноценным ΣGate V7953GT52 (7950 GT) и более доступным Σgate (Sigma Gate) V7903GS22 (7900 GS).
Аппаратные характеристики видеокарт определяются чипом G71, поэтому еще раз останавливаться на них не будем.
Вспоминая предыдущие публикации о продуктах Biostar, предположим, куда же компания девала память, не доставшуюся ΣGate V7953GT22. Всё очень просто: производитель установит ее на свою V7602GTG1 (GeForce 7600 GT), где по спецификации ее целый гигабайт:). Вот такие перегибы - много памяти, где она не нужна и маловато, где бы не помешала…
Источник: Biostar
Компания Interlink Electronics, специализирующаяся на решениях из области взаимодействия между машиной и человеком, анонсировала оригинальную разработку – пульт дистанционного управления компьютером, который объединяет две современные технологии: форм-фактор ExpressCard и беспроводной интерфейс Bluetooth.
По утверждению компании, с помощью пульта владельцы ноутбуков получат возможность управления развлекательным ПО, развалившись на кушетке, даже если компьютер и кушетка находятся в разных комнатах. Новинка получила название ExpressCard Media Remote for Bluetooth и рассчитана на использование совместно с системами, работающими под управлением Microsoft Windows XP Pro, Home или Media Center Edition. Она поддерживает многие популярные программы, включая Windows Media Player, Apple iTunes, Real Player, Nullsoft WinAmp, CyberLink PowerDVD и InterVideo WinDVD.
На пульте есть кнопки регулировки громкости, переключения каналов, навигации по спискам и выбора пунктов меню, управления проигрывателем DVD/CD. Использование Bluetooth обеспечивает связь в радиусе до 10 м. Для работы необходим ноутбук, оснащенный интерфейсом Bluetooth и слотом ExpressCard/54, используемым для хранения и подзарядки пульта.
Розничная цена новинки – 49,95 доллара.
Источник: Interlink Electronics
За официальным сообщением Intel о доступности решений для платформы vPro последовали анонсы производителей ПК и комплектующих. Компания ASUSTek представила системную плату P5B-VM DO, которая относится к семейству AI Lifestyle. Плата построена на чипсете Intel Q965 Express и поддерживает процессоры Intel Core 2 Duo (других вариантов vPro пока и не предусматривает). ASUSTek ориентирует P5B-VM DO в качестве основы для корпоративных ПК, на которые и ориентированы все преимущества vPro: лучшие управляемость, защищённость данных и энергоэффективность.

Технические характеристики:
Сенсорные экраны, как мы знаем, используются, чаще всего, в портативных ПК (TabletPC, UMPC) и специализированных устройствах (киоски, банкоматы, промышленные терминалы). Но подключить сенсорный ЖК-дисплей к настольному ПК - тоже не проблема. И даже иногда необходимость, если вам, к примеру, не подходят для рисования классические графические планшеты.

Компания Adesso выпустила именно такой планшет, совмещённый с 17" ЖК-экраном, - CyberTablet M17. Его возможности, как сенсорного дисплея, ограничены лишь ПО. Поэтому производитель комплектует устройство набором программ, в который входят: PhotoImpact XL (графический редактор), Free Notes, Pen Soft Pro (утилиты для создания заметок), Power Presenter RE II (ПО для создания и проведения презентаций), Office Ink (для подписывания документов).
Вот только цена CyberTablet M17 (1700 долларов) заставляет задуматься - а не проще ли купить TabletPC?
Технические характеристики:
Несмотря на довольно прохладную встречу пользователями ультрапортативных ПК (UMPC) (чему основная причина - высокая цена), производители не теряют надежд, возложенных на новый сектор рынка. Вот и компания Samsung, выпустившая несколько месяцев назад UMPC Samsung Q1, тихо и скромно начала продавать его модернизированную версию.

Напомним, что первый вариант Q1 оборудован процессором Intel Celeron M ULV (900 МГц). И вот, без шума и официоза, Samsung начала поставку Q1, оборудованных уже CPU Pentium M ULV с тактовой частотой 1 ГГц. Можно предположить, что эта замена положительно скажется не только на производительности устройства, но и на энергопотреблении - благодаря более продвинутым механизмам энергосбережения Pentium M. Также производитель увеличил у NP-Q1-V0002 объёмы памяти (с 512 Мб до 1 Гб) и HDD (c 40 Гб до 60 Гб).
Цена новинки составляет примерно 1250 долларов, то есть на 250 долларов дороже, чем версия с Celeron M.
Компания Fujitsu Siemens Computer (FSC) представила новые ПК ESPRIMO E5916 и P5916, построенные на базе платформы Intel vPro. Основная цель новинок (как и самой vPro) - облегчение жизни системных администраторов, укрепление безопасности данных, а также сокращение расходов электроэнергии. Основное отличие моделей - в корпусах. E5916 имеет корпус малого форм-фактора (small form factor, SFF), а P5916 - Microtower.

Помимо vPro, FSC укомплектовала ESPRIMO E5916 и P5916 своими разработками, облегчающими администрирование. Например, ПО DeskView в сочетании с составляющими технологии vPro позволяет выполнять обновления ПО даже в том случае, если ПК отключен. Другая разработка, DeskView Load, позволяет предварительно конфигурировать ПК на заводе и поставлять его с уже установленными заказными пакетами ПО. SmartCase, еще одна собственная разработка компании FSC, также предлагает прямой подход к предотвращению несанкционированного доступа к важным данным. Все пароли хранятся на карте SmartCard, поэтому для доступа к ПК требуется только один ключ.

Сообщается, что новые модели ESPRIMO уже доступны для потребителей, однако данных о цене пока нет.
Основные технические характеристики:
Ровно год назад компания Digidesign анонсировала портативный звуковой USB интерфейс Mbox 2. Осенью этого года выходит Mbox 2 Pro — модифицированная FireWire версия с расширенным числом каналов и поддержкой звука формата 24 бит 96 кГц. Производитель позиционирует новинку как современное мобильное Pro Tools решение. Приставку Pro оправдывает наличие чисто профессиональных функций, таких как Word Clock I/O, MIDI Time Stamping, а также выделенный мониторный выход.
"Mbox 2 Pro является универсальным и в то же время портативным Pro Tools интерфейсом," поясняет представитель Digidesign, Мэтт Мэй. "Он может подключаться практически к любому звуковом у устройству — пара микрофонов, клавиши или линейные выходы устройств, S/PDIF источник, вертушка, MIDI, даже Word Clock — и позволяет вам записывать их все в высоком качестве в сессии Pro Tools LE, совместимой с Pro Tools|HD. А сверхпортативность Mbox 2 Pro позволяет использовать его для записи в высоком разрешении в любых условиях — от огромной коммерческой студии до крохотной домашней или записать живое выступление на выезде".
Основные характеристики:
О качестве аналогового тракта и примененных преобразователях информации нет.
В комплекте идет Pro Tools LE с 50 эффектами и инструментами. Переплатив $100, пользователь сможет приобрести Mbox 2 Pro Factory, включающую Mbox 2 Pro, пять дополтительных плагинов Digidesign и Bomb Factory, а также iLok USB Smart Key.
Mbox 2 Pro и Mbox 2 Factory поступят в продажу 15 сентября 2006 по рекомендованным розничным ценам $799 и $899. Это более чем в 1,5 раза больше стоимости предшествующей модели, Mbox 2.
Сайт производителя: www.digidesign.com.
Компания Acrosser выпустила системную плату форм-фактора mini-ITX AR-B1693. Новинка построена на основе чипсета VIA CN400 и поддерживает процессоры Intel Celeron ULV. Производитель сообщает, что в случае установки процессора с тактовой частотой 400 МГц AR-B1693 не требует активного охлаждения. В единственный DIMM-разъём возможна установка до 1 Гб DDR-памяти.

Благодаря функциям чипсета по аппаратному декодированию видео форматов MPEG2/4 и поддержке ОС Windows CE и Windows XP Embedded, AR-B1693 может использоваться в качестве основы для различных мультимедийных приложений.
Стоимость и дата начала продажи AR-B1693 не сообщаются.
Технические данные:
Волны, поднятые состоявшимся два месяца назад появлением первых коммерческих чипов магниторезистивной памяти (MRAM), не утихли до сих пор: месяц назад на эту тему высказалась STMicroeletronics, а на днях своими соображениями по вопросу нового поколения энергонезависимой памяти поделилась Samsung. Точнее, Samsung декларировала намерение рассказать научной общественности о прогрессе, достигнутом в области резистивной памяти из полимерных материалов, в ходе конференции IEDM (International Electron Devices Meeting), что пройдет в Сан-Франциско с 11 по 13 декабря. Как и в случае с FeRAM и OUM, что пока далеки от реального воплощения, в отличие от MRAM, сторонники альтернативных технологий все же не теряют надежды догнать компанию Motorola, а по возможности – и перегнать.
Исследователям Samsung удалось к сегодняшнему дню создать композитную структуру, состоящую из чередующихся слоев резистивного и хорошо проводящего ток полимеров (полиимида и PCBM). Эта структура является рабочим телом запоминающего устройства, выполненного по 4F2 перекрестной архитектуре и позволяет записывать и хранить информацию даже в отсутствие электрического питания.
Традиционно, исследования резистивной памяти (RRAM) были посвящены архитектурам, в которых тонкий слой двуокиси металла под воздействием электрического импульса превращался в более сложный пероксид. Предполагалось, что такие устройства смогут обеспечить высокую плотность и малое электропотребление, помимо энергонезависимости хранящейся в них информации.
Главное достижение Samsung, достаточно активно работающей над технологиями RRAM – демонстрация не только возможности создания рабочего тела из полимерных структур, но и их обработки при низкой температуре, что позволяет наносить их на полупроводниковые кристаллы микросхем, произведенные промышленным путем. В то же время, рабочая температура кремний-полимерного ЗУ Samsung достигает 300 градусов Цельсия – без потерь в производительности. Заявленное гарантированное число циклов перезаписи – 2000.
Apple признала существование проблемы в MacBook, которая приводит к самопроизвольному выключению устройства.
На этой неделе компания разослала сервисным центрам инструкцию, в которой пишет: «Некоторые MacBook в обычном режиме работы могут внезапно выключаться. Если эта проблема проявилась у MacBook вашего клиента, и этот компьютер соответствует определенным требованиям, Apple заменит поврежденные элементы в соответствии с гарантийными обязательствами». Для получения более подробной информации компания советует обратиться к соответствующей странице базы знаний, на которой можно найти следующий текст: «Если ваш MacBook выключается сам по себе, обратитесь в службу AppleCare».
Ранее недовольные владельцы ноутбуков Apple MacBook создали web-сайт, посвященный проблеме, вызывающей произвольные выключения компьютера, а один инженер из Мюнхена сообщил, что он установил причину неполадок, которая состоит в недостаточной длине кабеля между температурным датчиком и радиатором. Во время работы ноутбука радиатор под воздействием температуры расширяется, касается кабеля и оплавляет его изоляцию, что приводит к замыканию и срабатыванию системы защиты.
Южнокорейская компания Samsung Electronics начинает серийный выпуск 7-дюймовых ЖК-экранов с широкоформатным соотношением сторон. Эти экраны рассчитаны на установку мультимедийные устройства верхнего ценового диапазона: цифровые телевизоры (DMB), универсальные проигрыватели (PMP), проигрыватели DVD и навигаторы. До настоящего времени, рынок широкоэкранных дисплеев с разрешением WVGA для такой техники ограничивался 8- и 9-дюймовыми моделями.
Важной особенностью новинки, предложенной специалистами Samsung, является высокая степень интеграции – все управляющие цепи находятся в одном чипе, а не в 4-7 отдельных микросхемах, как это обычно бывает. По сути дела, для нового дисплея не нужна отдельная печатная плата, на которой находились бы цепи питания и синхронизации – все необходимое интегрировано в панель. Таким образом, открывается новый резерв миниатюризации портативных электронных устройств.
Технические данные изделия:
В планах компании – наращивание выпуска 7-дюймовых WVGA-экранов до 10 млн. шт. к 2007 году. По оценке экспертов компании Display Search, ежегодная потребность в малоразмерных широкоформатных дисплеях к тому времени увеличится с 453 млн. шт. (2006 год) до 665 млн. шт., а к 2010 году она достигнет 912 млн. шт.
Источник: Samsung Electronics
Как сообщает источник, компания ASRock, являющаяся дочерним специализирующемся на бюджетных решениях предприятием ASUS, собирается увеличить долю выпуска системных плат для процессоров Intel на базе интегрированных наборов системной логики (еще называемых IGP-чипсетами) VIA. Одновременно с этим, компания планируется сократить выпуск плат для процессоров Intel с интегрированной графикой на базе чипсетов ATI.
Решение ASRock, о котором сообщают знакомые с планами компании источники, идет в ключе множества спекуляций, возникших вокруг слияния ATI с AMD. Нельзя не отметить поспешности этого – то ли уверения североамериканцев о том, что сделки может и не быть (теоретически, такое возможно, но маловероятно), не подействовали, то ли тайваньцы решили забежать «вперед паровоза», сыграв на упреждение потенциальной возможности прекращения дальнейших разработок ATI платформ для процессоров Intel.
По данным источника, IGP-чипсеты ATI Radeon Xpress 1100 и Radeon Xpress 1250, выпущенные на рынок 29 августа, не будут использоваться в системных платах для процессоров Intel. Ранее, ASRock использовала наборы микросхем базовой логики ATI Radeon Xpress 200. Вместо Xpress 1100 и 1250, которые, несмотря на всю свою новизну, вполне подходят на роль основы для бюджетных решений, ASRock планирует использовать VIA P4M900 для продуктов среднего и K8M890 для плат начального уровня. Честно говоря, хотя P4M900 тоже аппаратно поддерживает DirectX 9.0, сравнение его графических возможностей с новыми Xpress, скорее всего, будет не в его пользу, но для ASRock, помимо указанных выше политических нюансов, скорее всего, главным аргументом станет цена – можно надеяться, что платы на чипсетах VIA будут все же дешевле.
В подтверждение главенства экономических соображений президент ASRock Стерлинг Ву (Sterling Wu) сообщил, что сейчас компании важно минимизировать любые возможные риски, которые будут сопутствовать запланированным (и уже известным) изменениям в ATI. Но уже через месяц, в сезонном пике спроса на системные платы, ASRock вновь вернется к вопросу о целесообразности использования чипсетов канадской компании.
Любопытно, но и в платформах для процессоров AMD ASRock также не планирует использовать наборы системной логики ATI, отдав сегмент среднего уровня NVIDIA, а начального – чипсетам VIA K8M890 с интегрированной графической подсистемой. Не будет ASRock использовать и чипсетов SiS (хотя SiS, как и VIA, всегда готова занять место ATI), но уже по другой причине – последние должны будут найти себе место в платах ASUS, посему ASRock решила в этом аспекте отличаться от родительской компании. Впрочем, платы на чипсетах SiS предлагаются ASUS преимущественно своим OEM-партнерам и в канале решений начального уровня.
More Moore, исследовательский проект, финансируемый Еврокомиссией и фокусирующийся на развитии технологии Extreme Ultra Violet Lithography (EUVL) в Европе, объявил о значительном достижении, к которому причастен производитель инструментария Focus GmbH и два немецких университета.
Речь идет о создании фотоэмиссионного электронного микроскопа, который способен измерять объекты размером порядка 20 нм, не разрушая их.
Для масок EUVL необходима возможность неразрушающего контроля, которая до настоящего времени была недоступна. Обычно применяемые методы, построенные на применении сканирующего электронного микроскопа, не могут обнаружить дефекты, спрятанные под многослойным покрытием заготовок фотошаблона EUVL. Таким образом, появление нового инструмента является значительным шагом для технологии.
Напомним, EUVL является кандидатом на роль технологии нового поколения для производства полупроводниковых микросхем. Ее основным преимуществом является возможность перехода на более тонкие нормы – начиная с 32 нм (сравните с применяемыми сейчас 65-нм нормами). Таким образом, переход на EUVL откроет возможность продолжить увеличивать количество транзисторов на единицу площади кристалла в соответствии с законом Мура (Moore), по имени которого и назван европейский проект.
Проект More Moore объединяет множество европейских компаний, включая ASML, Phystex, Zeiss, AMTC, Philips EUV, XTREME technologies, FOCUS, SIGMA-C, AZ Electronic Materials, Schott Lithotec, Philips, XENOCS, Sagem Defense Securite, Imagine Optic, EPPRA и Media Lario. Кроме того, в работе участвуют академические и научно-исследовательские заведения: IMEC, CEA Leti, CNRS, TNO, FOM Rijnhuizen, Fraunhofer Institute, ISAN and IPM RAS (Россия), ENEA, ELETTRA, NCSR, университеты Bielefeld, Mainz, Delft и Birmingham.
Источник: More Moore
В конце сентября BenQ начнет поставки нового бюджетного 19-дюймового ЖК-монитора FP93E, сообщает сайт Clubic.
Модель имеет соотношение сторон 4:3 и стандартное для такой диагонали разрешение 1280 х 1024 пикселя. Время отклика матрицы составляет 8 мс.
Заявленные углы обзора в 140° по горизонтали и 135° по вертикали позволяют судить о том, что используется матрица TN+film.
Монитор имеет средние на сегодняшний день показатели яркости в 270 кд/м2 и уровня контрастности 550:1.
BenQ не стал экономить в этой бюджетной модели на выходах и оснастил ее как D-Sub, так и DVI.
О возможности регулировки по высоте и поворота в портретный режим не сообщается, однако с большой долей уверенности можно сказать, что этих функций у FP93E не будет.
Цена дисплея для Европы составит 269 евро.
Источник: Clubic
Новый iMac с 24-дюймовым широкоформатным экраном, представленный Apple в начале недели, как оказалось, имеет несколько конструктивных особенностей, отличающих его от младших моделей.
Одним из новшеств является имеющаяся в нем возможность замены видеоадаптера благодаря наличию разъема MXM PCI Express, чем и объясняется первое за всю историю iMac предложение выбора — как известно, новый моноблок может быть оснащен как NVIDIA GeForce 7300 GT, так и NVIDIA GeForce 7600 GT. На этом сюрпризы не заканчиваются: в 24-дюймовом iMac встроенные акустические системы имеют мощность 24 Вт, что в два раза больше, чем в 17- и 20-дюймовых моделях, а также окружающий звук 2.1.
Стоит также отметить, что в новой, самой недорогой модели, стоимостью $999, отсутствуют некоторые особенности, присущие старшим моделям. Вместо видеоадаптеров ATI или NVIDIA здесь используется интегрированное графическое ядро Intel GMA 950, вместо SuperDrive установлен комбо-дисковод, способный лишь читать диски DVD, но не записывать их. Используемая в этой модели кэш-память второго уровня имеет вдвое меньший размер по сравнению со старшими iMac (2 МБ). В комплекте поставки 999-долларового iMac отсутствуют адаптер Bluetooth и пульт дистанционного управления Apple Remote.
Не так давно мы приводили фотографии тогда еще официально не анонсированной системной платы для рабочих станций ASUS P5W64 Professional, сейчас о ее выходе можно говорить, как о свершившемся факте - она представлена официальным пресс-релизом.
Плата, имеющая второе название Wall Street Quartet, оснащена четырьмя полноразмерными интерфейсами PCI Express (3 PCIe x8 + 1 PCIe x16). В такую систему можно установить 4 видеокарты, получив возможность работы с четырьмя мониторами.
Производитель говорит о поддержке своим решением технологии ATI CrossFire, однако о совместной работе в таком режиме квартета графических адаптеров речи не идёт. Сама плата построена на базе чипсета Intel 975X, у которого общее количество линий PCIe равно шестнадцати. Еще 24 линии обеспечиваются, как и предполагалось ранее, внешним контроллером ввода/вывода IDT PRECISE 89HPES24N3.
Заявлена поддержка процессоров Intel Core 2 Duo, а также будущих многоядерных процессоров Intel (Kentsfield).
Фирменная система охлаждения Stack Cool 2 позволяет эффективно и бесшумно отводить тепло от компонентов платы. Производитель говорит о снижении температуры при использовании Stack Cool 2 на 20 градусов (правда, в сравнении с чем - не указано).
Используемый 8-фазный дизайн системы питания призван уменьшить колебания напряжения и обеспечить стабильность системы, в том числе, при работе в разогнанном состоянии.
Прочие технические характеристики ASUS P5W64 Professional:
Цена продукта пока не называется.
Источник: ASUS
Использование в ПК малого форм-фактора (SFF PC) процессоров Intel Core Duo (Yonah) - явление довольно распространенное, поэтому не это отличает Media Center M 2000M, поступивший в продажу позавчера, от многих других аналогичных решений.
Производитель сделал всё возможное, для того, чтобы пользователи получили возможность установить такой ПК в одну стойку с Hi-Fi оборудованием, не нарушая гармоничности внешнего вида последней.
Производитель предлагает установку аналогового или цифрового (DVB-T) тюнера, кроме того, для того, чтобы получить в распоряжение лишний разъём PCI, можно установить вместо них гибридный тюнер с поддержкой обоих видов трансляций.
Объём оперативной памяти варьируется по выбору покупателя в пределах от 512 Мб до 2 Гб, объём жёсткого диска с интерфейсом SATA - от 200 до 400 Гб. Опционально предлагается 80-Гб внешний жёсткий диск, который обойдется в 92 евро.
В базовую комплектацию входят: графический адаптер NVIDIA 7600GS, 256 Мб; многоформатный записывающий оптический привод; кардридер 8-в-1; пульт ДУ и адаптер беспроводной сети Wi-Fi (802.11b/g).
Базовая цена Shuttle Media Center M 2000M составляет 1545 евро, максимально укомплектованный медиацентр обойдётся на 532 евро дороже.
Хотя информация о слиянии компаний прошла уже достаточно давно, и все успели привыкнуть к этой мысли, на самом деле, на пути к фактическому объединению партнерам по сделке предстоит пройти еще немало формальных этапов. Теоретически, каждый из них может стать препятствием к достижению окончательной цели.
Пока что, в официальном пресс-релизе, подписанном обеими компаниями, говорится о завершении обязательного периода ожидания, который был необходим в соответствии с актом Харта-Скотта-Родино от 1976 года, дополняющим антимонопольное законодательство США. Кроме того, предстоящее слияние одобрили соответствующие канадские и немецкие органы. Напомним, ATI – канадская компания, а AMD имеет производство в Германии.
Другими словами, сделка между AMD и ATI движется по бюрократическому конвейеру. Теперь дело за рассмотрением в суде плана соглашения (заседание намечено на 13 сентября). За ним последует получение одобрения со стороны акционеров ATI (соответствующее собрание должно пройти в Торонто 13 октября). Кроме того, следует получить одобрение министерства промышленности Канады, предварительное разрешение тайваньских органов, осуществляющих надзор за выполнением законов о конкуренции, и пройти другие процедуры, принятые в таких случаях. Ожидается, что операция полностью завершится в течение первого квартала 2007 года (по финансовому календарю ATI), который завершается 30 ноября.
После почти пятилетнего отсутствия, бренд Agfa вновь будет представлен на рынке цифровых камер. В период с середины 90-х до 2001 года компания Agfa выпустила 15 моделей цифровых фотокамер. Они охватывали широкий диапазон - от потребительских камер начального уровня до ориентированных на профессиональных пользователей 16-мегапиксельных студийных камер с байонетом Nikon, позже продаваемых и под брендом Minolta.
Жёсткая конкуренция на рынке привела к тому, что компания выпала из игры после объявления модели ePhoto CL45 в марте 2001. В конце 2004 Agfa-Gevaert N.V. передала бизнес недавно созданной компании AgfaPhoto GmbH, сформированной для защиты от банкротства.
AgfaPhoto GmbH в настоящее время в процессе ликвидации, и, вероятно, по условиям этого процесса, немецкая компания под названием Plawa-feinwerktechnik GmbH & Co. получила эксклюзивную лицензию от AgfaPhoto, позволяющую выпускать цифровые камеры под маркой AgfaPhoto. Вчера компания раскрыла планы об анонсе целой линейки камер на предстоящей выставке Photokina в Кёльне (Германия).
В пресс-релизе сообщается, что компания планирует представить компактные фотокамеры стоимостью от 99 до 199 евро, оснащённые сенсорами разрешением от 5 до 10 мегапикселей, и ставит перед собой цель достичь доли в 5% рынка. Цифровые камеры AgfaPhoto будут продаваться в Германии и на всех европейских рынках. Кстати, сингапурская компания Flextronics, объявившая недавно, что будет производить и продавать цифровые камеры в сотрудничестве с Kodak, очевидно также является партнером Plawa.

Вместе с официальным сообщением для прессы стал доступен и снимок коробки изделия, по которому становится ясно, что одна из первых предложенных моделей будет 7-мегапиксельная камера с 3-кратным зум-объективом, обеспечивающим увеличение в диапазоне фокусных расстояний 6,55 - 18,07 мм, при f/3,27 - f/5,44. Другие особенности камеры AgfaPhoto DC-735: ЖК-дисплей с диагональю 2,5 дюйма, режим видеосъёмки со звуком, встроенная литиево-ионная батарея и металлический корпус. В общем, ничего особенного. Вполне стандартные на сегодня характеристики и возможности.
Отметим, что AgfaPhoto DC-735 - это всего лишь модернизация существующей 5,3-мегапиксельной камеры Polaroid m536. Но в этом нет ничего удивительного, учитывая, что компания Plawa, помимо новых цифровых камер AgfaPhoto, предлагает в Европе камеры по брендом Polaroid. Кстати, бренд Polaroid перешёл под крыло Plawa после того, как компания прошла процесс ликвидации, мало чем отличающийся от случая с AgfaPhoto.
Федеральная комиссия США по патентам и торговым маркам опубликовала данные о поданной Apple Computer заявке на изобретение под названием «Многофункциональное ручное устройство», которая описывает гэджет наподобие мобильного телефона, функционирующего в различных режимах.
Фронтальная сторона описываемого устройства представляет собой цельный чувствительный к прикосновению экран, а разъемы питания и передачи данных находятся на нижней стороне. Боковые стороны не несут на себе какие-либо органы управления, что позволяет избежать их случайного задействования, а на верхней поверхности находятся переключатели питания и блокировки чувствительности экрана.
Патент описывает устройство, которое может функционировать как мобильный телефон, цифровой аудиоплеер, видеоплеер, игровая консоль, камера, органайзер, пульт дистанционного управления и др. При переходе в новый режим работы на чувствительном к прикосновению экране отображаются характерные для текущих задач интерфейсные элементы управления. (Возможно, в связи с этим патентом стоит вспомнить, что около полугода назад, почти одновременно с подачей описываемой заявки, Apple наняла группу разработчиков, сделавших себе имя на создании компьютерных игр).
Заявка на получение патента была подана компанией в марте 2006 года, и не исключено, что потенциальное устройство имеет отношение к предстоящему мероприятию для прессы, которое Apple Computer будет проводить 12 сентября. Наблюдатели предполагают, что в этот день компания представит не только собственный сервис загружаемого цифрового кино, а и долгожданные iPhone и полноэкранный широкоформатный iPod.
Появление в прайс-листах AMD Athlon 64 X2 5200+ совпало с обновлением цен на ряд процессоров компании, что и неудивительно, учитывая появление нового флагмана линейки X2. Напомним, в последний раз AMD снижала цены 24 июля текущего года.
Вот те модели Athlon 64 X2, цены на которые изменились (указано для партий от 1000 штук):
Примерно также (на 3-10 долларов) подешевели Sempron и Athlon 64. Существенным такие изменения вряд ли назовешь, однако тенденция приятна.
Еще одна новость, касающаяся процессоров AMD, которую принес вчерашний день, также относится к разряду хороших. Гонконгский дилер компании проговорился о том, что в первом квартале 2007 года все выпускаемые на тот момент модели линейки Athlon 64 X2 будут иметь термальный пакет, не превышающий 65 Вт (сейчас, напомним, 89 Вт). Исключение составят еще не анонсированные X2 5400+ и X2 5600+, которые будут рассеивать до 89 Вт тепла. Пока не ясно, идет ли речь о кристаллах, выпущенных с применением 65-нм норм, или 90-нм чипы также станут холоднее, обретя новую ревизию.
Первый четырёхъядерный процессор Intel, носящий кодовое имя Kentsfield, мигрирует по роадмапам компании уже не в первый раз. Многие из наших читателей могут помнить, что изначально его выход планировался на начало 2007 года, потом Intel сместила дату релиза на конец этого года, а сейчас по сведениям eWeek, процессор, который, предположительно, будет носить имя Core 2 Quadro или Core 2 Extreme, можно будет купить уже в первых числах ноября сего года.
Причину такого смещения даты выхода процессора следует искать в рыночной стратегии. Очевидно, что до конца года AMD выпустит свою игровую платформу 4x4, использующую два двухъядерных процессора в одной системе.
Таких решений вряд ли будет куплено много, однако они играют одну из ключевых ролей в восприятии покупателем процессоров той или иной компании. Цель Intel - не допустить AMD на вершину производительности.
Источник: eWeek
Около недели назад из онлайн-магазина Sony пропали все упоминания о ультрапортативном ПК с клавиатурой, UX180P.
Ситуация разъяснилось позавчера, когда появилась возможность приобрести UMPC UX280P. Что же было доработано в обновленной модели в сравнении с предшественницей?
Как оказалось, изменения коснулись объёма жесткого диска и оперативной памяти - теперь они составляют 40 Гб и 1 Гб (DDR2-400), соответственно. Процессор остался тем же, Intel Core Solo U1200 (1,2 ГГц), никуда не делись и те беспроводные интерфейсы, которые были реализованы в модельном ряду изначально - Wi-Fi and Bluetooth. Изюминкой серии можно считать наличие EDGE. Учитывая недостаточное развитие у нас сетей Wi-Fi, можно предположить, что именно он будет самым востребованным средством выхода в интернет.
Кратко напомним прочие технические характеристики, общие для UX180P/UX280P:
В целом, Sony UX280P является фаворитом среди UMPC как по производительности, так и по функциональности, однако его цена пока оставляет желать лучшего - 1999 долларов.