Монтаж и прокладка сетей 10Base-2 тонкий Ethernet
Перед прокладкой кабеля, настоятельно рекомендуется составить план-схему со всеми размерами и проверить возможность протяжки кабеля по намеченному пути.
Для сетей 10Base2 применяется коаксиальный кабель . Чем толще кабель, тем лучше у него характеристики, но тем сложнее его прокладывать и он дороже. Для состыковки кабеля необходимо применять переходы прямые.
![]() |
1. Крайний компьютер или другое сетевое устройство сегмента.
2. Прямой переход типа "Bulk-head connector". 2-3. Проброс кабеля между точками подключения. 3. Два прямых перехода. 4. Компьютер или другое сетевое устройство. 5. Перемычка из коаксиального кабеля вместо компьютера 6. Крайний компьютер или другое устройство сегмента. |
Можно пойти на некоторое упрощение монтажа, отказавшись от установки прямых переходов ("Bulk-head connector") совсем или частично, устанавливая их только там где необходимо. При таком монтаже надежность сети увеличивается, т.к. сокращается количество контактов, но возрастает вероятность повреждения кабеля.
![]() |
1. Крайний компьютер или другое сетевое устройство сегмента.
4. Компьютер или другое сетевое устройство. 5. T-коннектор, оставлен в том месте где был или будет компьютер. 6. Крайний компьютер или другое устройство сегмента. |
1. Крайнее устройство сегмента.
| 1. Терминатор.
2. Т-коннектор. 3. Разъем сетевого адаптера компьютера или другого устройства сети. 4. Разъем на кабеле сети. |
![]() |
![]() |
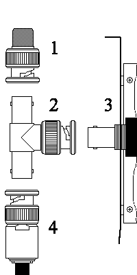
2, 3 Прямой переход
Переход прямой типа "Bulk-head" с резьбовой частью и гайкой. Лучше всего закрепить, например при помощи уголка, чтобы избежать случайного выдергивания или другого повреждения кабеля. Можно приобрести специальные розетки, они выглядят более эстетично.

Уголок можно использовать любой, подходящего размера. Отвестие под "bulk-head" адаптер можно делать как круглое, так и с вырезом.


При закреплении уголка необходимо следить за тем, чтобы он не оказался заземлен. Если закрепить его никаким другим способом не удается, то необходимо или использовать уголок из диэлектрика, или обеспечить электрическую изоляцию между ним и "bulk-head" адаптером, устанавливаемом в уголке.

Подвод к компьютеру и от него осуществляется отрезком коаксиального кабеля с BNC разъемами по краям. Таким образом можно перемещать компьютер по помещению, просто заменяя, если необходимо отрезок кабеля на более длинный.
4.


5.
При удалении компьютера из сети или в том месте где планируется подключать компьютер, для сохранения работоспособности сегмента сети, лучше ставить простую перемычку из коаксиального кабеля. Можно использовать один из двух подводящих проводов.

[ Оглавление ]
| Дополнительно |
|





