Apple получила патент на рулевое устройство для сочлененного транспортного средства

Считается, что первый автомобиль Apple выйдет в 2021 году

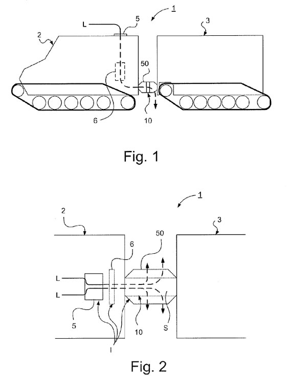
Американское патентное ведомство выдало Apple патент №9409599, заявка на который была подана чуть больше года назад. Изобретение интересно тем, что относится к транспортным средствам. Говоря точнее, патент называется «Рулевое устройство для сочлененного транспортного средства».

Считается, что первый автомобиль Apple выйдет в 2021 году

По замыслу изобретателей, узел, соединяющий части сочлененного транспортного средства и обеспечивающий ему большую подвижность, следует заключить в кожух, и направлять туда поток воздуха, который будет нагреваться, предварительно проходя через радиатор. Кожух будет защищать узел от повреждений, а обогрев будет способствовать более надежной работе узла.

Напомним, Apple приписывают разработку автомобиля. По последним данным, первый автомобиль Apple выйдет в 2021 году.

Источник: USPTO

10 августа 2016 в 10:02

Автор:

Все новости за сегодня

Календарь

август
Пн
Вт
Ср
Чт
Пт
Сб
Вс